宁波远洋:2024年第一季度净利润1.67亿元 同比增长6.32%

中证智能财讯 宁波远洋(601022)4月26日披露2024年一季报。2024年第一季度,公司实现营业总收入11.67亿元,同比增长4.37%;归母净利润1.67亿元,同比增长6.32%;扣非净利润1.53亿元,同比增长24.23%;经营活动产生的现金流量净额为3.67亿元,同比下降3.62%;报告期内,宁波远洋基本每股收益为0.13元,加权平均净资产收益率为3.03%。

2024年第一季度,公司毛利率为18.21%,同比下降1.78个百分点;净利率为14.25%,较上年同期上升0.36个百分点。

数据显示,2024年第一季度公司加权平均净资产收益率为3.03%,较上年同期增长0.04个百分点;公司2024年第一季度投入资本回报率为2.60%,较上年同期下降0.08个百分点。

2024年第一季度,公司经营活动现金流净额为3.67亿元,同比下降3.62%;筹资活动现金流净额-776.23万元,同比增加3.38万元;投资活动现金流净额-6.08亿元,上年同期为-1.31亿元。

2024年第一季度,公司营业收入现金比为191.99%,净现比为219.93%。

资产重大变化方面,截至2024年一季度末,公司固定资产较上年末增加9.66%,占公司总资产比重上升7.55个百分点;在建工程较上年末减少94.52%,占公司总资产比重下降5.30个百分点;货币资金较上年末减少17.18%,占公司总资产比重下降2.48个百分点;应收账款较上年末增加7.90%,占公司总资产比重上升1.23个百分点。

负债重大变化方面,截至2024年一季度末,公司其他应付款(含利息和股利)较上年末减少74.07%,占公司总资产比重下降6.56个百分点;应付账款较上年末增加6.19%,占公司总资产比重上升1.14个百分点;应付职工薪酬较上年末增加496.18%,占公司总资产比重上升0.22个百分点;应交税费较上年末减少20.53%,占公司总资产比重下降0.04个百分点。

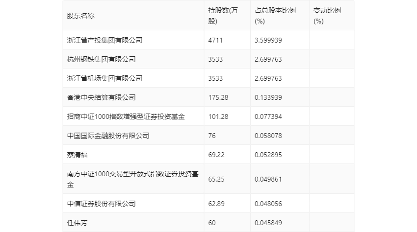
一季报显示,2024年一季度末公司十大流通股东中,新进股东为浙江省产投集团有限公司、杭州钢铁集团有限公司、浙江省机场集团有限公司、香港中央结算有限公司、蔡清福、南方中证1000交易型开放式指数证券投资基金,取代了上年末的华泰证券股份有限公司、国泰君安证券股份有限公司、MORGAN STANLEY & CO. INTERNATIONAL PLC.、高盛公司有限责任公司、中信里昂资产管理有限公司-客户资金-人民币资金汇入、中国国际金融香港资产管理有限公司-CICCFT4(QFII)。在具体持股比例上,招商中证1000指数增强型证券投资基金持股有所上升,中国国际金融股份有限公司、中信证券股份有限公司、任伟芳持股有所下降。

筹码集中度方面,截至2024年一季度末,公司股东总户数为3.65万户,较上年末下降了4559户,降幅11.11%;户均持股市值由上年末的35.36万元下降至31.93万元,降幅为9.70%。
