信达证券:2024年第一季度净利润1.85亿元 同比下降14.41%

中证智能财讯 信达证券(601059)4月27日披露2024年一季报。2024年第一季度,公司实现营业总收入8.35亿元,同比下降23.43%;归母净利润1.85亿元,同比下降14.41%;扣非净利润1.81亿元,同比下降14.92%;经营活动产生的现金流量净额为-23.07亿元,上年同期为28.79亿元;报告期内,信达证券基本每股收益为0.06元,加权平均净资产收益率为0.99%。



盈利能力方面, 2024年一季度公司加权平均净资产收益率为0.99%,同比下降0.4个百分点。

2024年第一季度,公司经营活动现金流净额为-23.07亿元,同比减少51.86亿元,主要系回购业务资金变动所致;筹资活动现金流净额11.91亿元,同比减少17.77亿元;投资活动现金流净额18.69亿元,上年同期为-69.61亿元。

资产重大变化方面,截至2024年一季度末,公司其他债权投资合计较上年末减少11.92%,占公司总资产比重下降1.63个百分点;货币资金较上年末增加4.21%,占公司总资产比重上升1.46个百分点;买入返售金融资产较上年末增加271.10%,占公司总资产比重上升0.68个百分点;结算备付金较上年末减少13.30%,占公司总资产比重下降0.39个百分点。

负债重大变化方面,截至2024年一季度末,公司拆入资金较上年末减少24.91%,占公司总资产比重下降4.09个百分点;应付债券较上年末增加28.86%,占公司总资产比重上升3.97个百分点;应付短期融资款较上年末减少33.21%,占公司总资产比重下降1.89个百分点;应付职工薪酬较上年末增加46.81%,占公司总资产比重上升0.37个百分点。

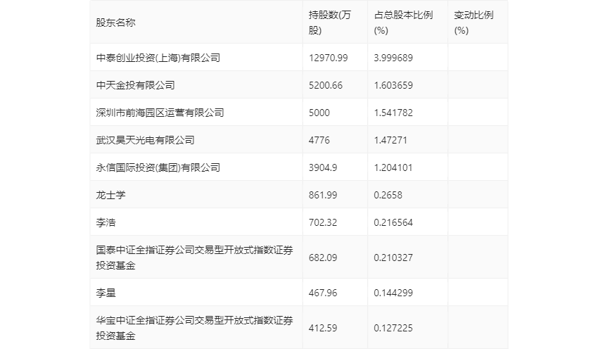
一季报显示,2024年一季度末公司十大流通股东中,新进股东为中泰创业投资(上海)有限公司、中天金投有限公司、深圳市前海园区运营有限公司、武汉昊天光电有限公司、永信国际投资(集团)有限公司、李浩、李星,取代了上年末的徐琦、华泰柏瑞沪深300交易型开放式指数证券投资基金、华泰证券股份有限公司、大成蓝筹稳健证券投资基金、晏昱、南方中证全指证券公司交易型开放式指数证券投资基金、鹏华创新成长混合型证券投资基金。在具体持股比例上,龙士学、国泰中证全指证券公司交易型开放式指数证券投资基金、华宝中证全指证券公司交易型开放式指数证券投资基金持股有所上升。

筹码集中度方面,截至2024年一季度末,公司股东总户数为6.87万户,较上年末下降了1288户,降幅1.84%;户均持股市值由上年末的83.40万元下降至71.60万元,降幅为14.15%。
