财通证券:2023年净利润同比增长48.43% 拟10派1元

中证智能财讯 财通证券(601108)4月26日披露2023年年报。2023年,公司实现营业总收入65.17亿元,同比增长35.03%;归母净利润22.52亿元,同比增长48.43%;扣非净利润21.75亿元,同比增长47.36%;经营活动产生的现金流量净额为-74.60亿元,上年同期为-50.31亿元;报告期内,财通证券基本每股收益为0.48元,加权平均净资产收益率为6.67%。公司2023年年度利润分配预案为:拟向全体股东每10股派1元(含税)。

以4月25日收盘价计算,财通证券目前市盈率(TTM)约为15.05倍,市净率(LF)约为0.98倍,市销率(TTM)约为5.2倍。

公司近年市盈率(TTM)、市净率(LF)、市销率(TTM)历史分位图如下所示:



数据统计显示,财通证券近三年营业总收入复合增长率为-0.05%,在证券Ⅲ行业已披露2023年数据的40家公司中排名第18。近三年净利润复合年增长率为-0.58%,排名18/40。

资料显示,公司从事的主要业务分为十大板块,分别是财富管理业务、投资银行业务、证券资产管理业务、证券投资业务、证券信用业务、期货业务、境外证券业务、基金业务、私募股权投资基金业务和另类投资业务。
分产品来看,2023年公司主营业务中,手续费及佣金净收入35.58亿元,同比增长13.32%,占营业收入的54.59%;公允价值变动收益16.95亿元,同比下降450.44%,占营业收入的26.00%;投资收益6.11亿元,同比下降54.84%,占营业收入的9.37%。

2023年,公司经营活动现金流净额为-74.60亿元,同比减少24.30亿元;筹资活动现金流净额53.22亿元,同比增加27.40亿元;投资活动现金流净额-1.41亿元,上年同期为7008.62万元。
资产重大变化方面,截至2023年年末,公司其他债权投资合计较上年末减少50.35%,占公司总资产比重下降5.93个百分点;债权投资合计较上年末增加58.72%,占公司总资产比重上升2.76个百分点;货币资金较上年末减少10.49%,占公司总资产比重下降2.66个百分点;交易性金融资产较上年末增加13.25%,占公司总资产比重上升2.26个百分点。

负债重大变化方面,截至2023年年末,公司卖出回购金融资产款较上年末减少20.84%,占公司总资产比重下降5.96个百分点;应付债券较上年末增加19.37%,占公司总资产比重上升2.45个百分点;其他负债较上年末增加152.89%,占公司总资产比重上升3.29个百分点;应付短期融资款较上年末增加24.12%,占公司总资产比重上升1.37个百分点。

在偿债能力方面,公司2023年年末资产负债率为74.11%,相比上年末上升0.34个百分点;有息资产负债率为22.57%,相比上年末上升2.37个百分点。

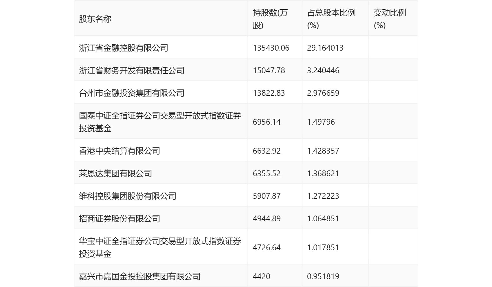
年报显示,2023年年末公司十大流通股东中,持股最多的为浙江省金融控股有限公司,占比29.16%。十大流通股东名单相比2023年三季报维持不变。在具体持股比例上,国泰中证全指证券公司交易型开放式指数证券投资基金、华宝中证全指证券公司交易型开放式指数证券投资基金持股有所上升,浙江省金融控股有限公司、香港中央结算有限公司、维科控股集团股份有限公司、招商证券股份有限公司持股有所下降。

筹码集中度方面,截至2023年年末,公司股东总户数为13.05万户,较三季度末增长了1780户,增幅1.38%;户均持股市值由三季度末的28.42万元下降至27.61万元,降幅为2.85%。

指标注解:
市盈率
=总市值/净利润。当公司亏损时市盈率为负,此时用市盈率估值没有实际意义,往往用市净率或市销率做参考。
市净率
=总市值/净资产。市净率估值法多用于盈利波动较大而净资产相对稳定的公司。
市销率
=总市值/营业收入。市销率估值法通常用于亏损或微利的成长型公司。
文中市盈率和市销率采用TTM方式,即以截至最近一期财报(含预报)12个月的数据计算。市净率采用LF方式,即以最近一期财报数据计算。
市盈率为负时,不显示当期分位数,会导致折线图中断。