5000万股权资产遭冻结三年,新城控股卷入金融借款纠纷漩涡
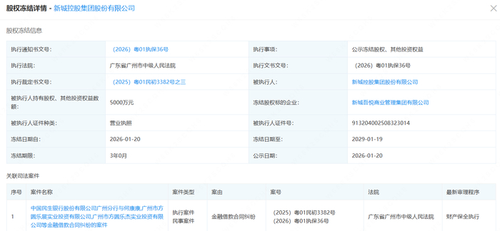
2026年1月21日,据企查查信息显示,新城控股集团股份有限公司(以下简称“新城控股”)其持有的新城吾悦商业管理集团有限公司5000万元股权被广东省广州市中级人民法院依法冻结,冻结期限自2026年1月20日起至2029年1月19日,为期三年。
此次股权冻结源于一起金融借款合同纠纷。中国民生银行股份有限公司广州分行起诉何康、广州市方圆乐展实业投资有限公司、广州市方圆乐杰实业投资有限公司及新城控股等相关主体,目前案件已进入财产保全执行阶段。
