东航物流:2024年第一季度净利润5.89亿元 同比下降22.64%

中证智能财讯 东航物流(601156)4月30日披露2024年一季报。2024年第一季度,公司实现营业总收入52.24亿元,同比增长14.17%;归母净利润5.89亿元,同比下降22.64%;扣非净利润5.27亿元,同比下降19.83%;经营活动产生的现金流量净额为-1.11亿元,上年同期为13.23亿元;报告期内,东航物流基本每股收益为0.37元,加权平均净资产收益率为3.74%。



2024年第一季度,公司毛利率为15.84%,同比下降9.84个百分点;净利率为12.76%,较上年同期下降6.71个百分点。

数据显示,2024年第一季度公司加权平均净资产收益率为3.74%,较上年同期下降1.73个百分点;公司2024年第一季度投入资本回报率为2.79%,较上年同期下降1.18个百分点。

2024年第一季度,公司经营活动现金流净额为-1.11亿元,同比减少14.34亿元;筹资活动现金流净额-6.49亿元,同比增加1.13亿元;投资活动现金流净额3.59亿元,上年同期为-1.07亿元。

2024年第一季度,公司营业收入现金比为105.16%,净现比为-18.90%。

资产重大变化方面,截至2024年一季度末,公司应收账款较上年末增加22.50%,占公司总资产比重上升1.49个百分点;固定资产较上年末减少12.71%,占公司总资产比重下降1.28个百分点;货币资金较上年末减少4.25%,占公司总资产比重下降0.79个百分点;预付款项较上年末增加58.72%,占公司总资产比重上升0.48个百分点。

负债重大变化方面,截至2024年一季度末,公司应付账款较上年末减少21.62%,占公司总资产比重下降1.27个百分点;应交税费较上年末减少75.31%,占公司总资产比重下降1.04个百分点;一年内到期的非流动负债较上年末减少12.77%,占公司总资产比重下降0.90个百分点;租赁负债较上年末减少3.85%,占公司总资产比重下降0.43个百分点。

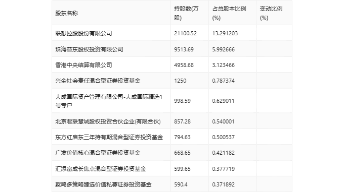
一季报显示,2024年一季度末公司十大流通股东中,新进股东为东方红启东三年持有期混合型证券投资基金、广发价值核心混合型证券投资基金,取代了上年末的汇添富中盘积极成长混合型证券投资基金、黄豪。在具体持股比例上,香港中央结算有限公司、兴全社会责任混合型证券投资基金、汇添富成长焦点混合型证券投资基金、聚鸣多策略臻选价值私募证券投资基金持股有所上升,北京君联慧诚股权投资合伙企业(有限合伙)持股有所下降。

筹码集中度方面,截至2024年一季度末,公司股东总户数为4.08万户,较上年末下降了1.12万户,降幅21.60%;户均持股市值由上年末的45.11万元上升至66.92万元,增幅为48.35%。
