东兴证券:2024年上半年净利润同比增长64.67% 拟10派0.54元

中证智能财讯 东兴证券(601198)8月28日披露2024年半年度报告。2024年上半年,公司实现营业收入48.78亿元,同比增长168.28%;归母净利润5.76亿元,同比增长64.67%;扣非净利润5.75亿元,同比增长46.60%;经营活动产生的现金流量净额为-94.69亿元,上年同期为17.36亿元;报告期内,东兴证券基本每股收益为0.178元,加权平均净资产收益率为2.10%。公司2024年半年度分配预案为:拟向全体股东每10股派现0.54元(含税)。


以8月27日收盘价计算,东兴证券目前市盈率(TTM)约为24.66倍,市净率(LF)约为0.94倍,市销率(TTM)约为3.31倍。

公司近年市盈率(TTM)、市净率(LF)、市销率(TTM)历史分位图如下所示:



根据半年报,公司第二季度实现营业总收入28.98亿元,同比增长226.80%,环比增长46.39%;归母净利润2.16亿元,同比增长65.34%,环比下降40.16%;扣非净利润2.18亿元,同比增长66.34%,环比下降39.11%。

资料显示,经中国证监会批准,公司从事的主要业务为:证券经纪;证券投资咨询;与证券交易、证券投资活动有关的财务顾问;证券承销与保荐;证券自营;证券资产管理;融资融券;证券投资基金销售;代销金融产品。
分产品来看,2024年上半年公司主营业务中,公允价值变动收益(损失以“-”号填列)7.71亿元,同比下降408.87%,占营业收入的15.80%;手续费及佣金净收入7.16亿元,同比增长10.31%,占营业收入的14.67%;利息净收入3.87亿元,同比下降28.78%,占营业收入的7.94%。

盈利能力方面, 2024年半年度公司加权平均净资产收益率为2.1%,同比上升0.77个百分点。

2024年上半年,公司经营活动现金流净额为-94.69亿元,同比减少112.05亿元;筹资活动现金流净额-31.39亿元,同比增加3.87亿元;投资活动现金流净额134.68亿元,上年同期为9.51亿元。

资产重大变化方面,截至2024年上半年末,公司交易性金融资产较上年末增加80.79%,占公司总资产比重上升16.41个百分点;其他债权投资合计较上年末减少38.71%,占公司总资产比重下降14.23个百分点;融出资金较上年末减少22.65%,占公司总资产比重下降3.97个百分点;金融投资较上年末增加5.82%,占公司总资产比重上升3.38个百分点。

负债重大变化方面,截至2024年上半年末,公司卖出回购金融资产款较上年末增加12.64%,占公司总资产比重上升3.01个百分点;应付短期融资款较上年末减少29.46%,占公司总资产比重下降2.88个百分点;拆入资金较上年末减少28.70%,占公司总资产比重下降1.49个百分点;其他负债较上年末增加13.52%,占公司总资产比重上升0.53个百分点。

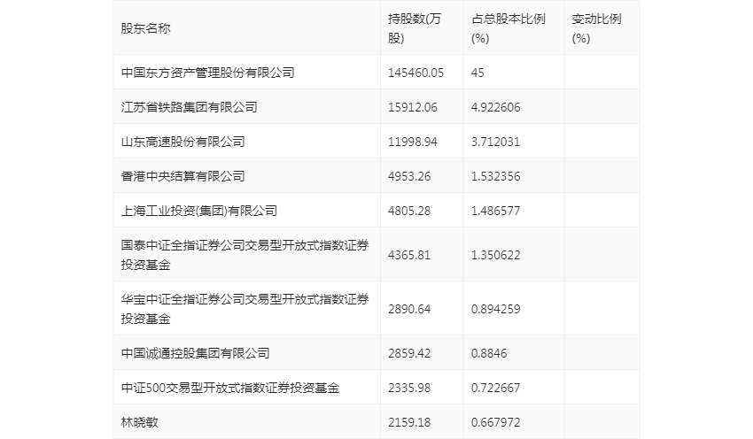
半年报显示,2024年上半年末公司十大流通股东中,持股最多的为中国东方资产管理股份有限公司,占比45.00%。十大流通股东名单相比2024年一季报维持不变。在具体持股比例上,香港中央结算有限公司、国泰中证全指证券公司交易型开放式指数证券投资基金、华宝中证全指证券公司交易型开放式指数证券投资基金、中证500交易型开放式指数证券投资基金持股有所上升,上海工业投资(集团)有限公司持股有所下降。

筹码集中度方面,截至2024年上半年末,公司股东总户数为9.06万户,较一季度末下降了287户,降幅0.32%;户均持股市值由一季度末的28.40万元下降至28.39万元,降幅为0.04%。

指标注解:
市盈率
=总市值/净利润。当公司亏损时市盈率为负,此时用市盈率估值没有实际意义,往往用市净率或市销率做参考。
市净率
=总市值/净资产。市净率估值法多用于盈利波动较大而净资产相对稳定的公司。
市销率
=总市值/营业收入。市销率估值法通常用于亏损或微利的成长型公司。
文中市盈率和市销率采用TTM方式,即以截至最近一期财报(含预报)12个月的数据计算。市净率采用LF方式,即以最近一期财报数据计算。
市盈率为负时,不显示当期分位数,会导致折线图中断。