白银有色:2024年第一季度亏损8447.21万元

中证智能财讯 白银有色(601212)4月30日披露2024年一季报。2024年第一季度,公司实现营业总收入221.97亿元,同比增长5.66%;归母净利润亏损8447.21万元,上年同期亏损6828.76万元;扣非净利润亏损1.01亿元,上年同期亏损8958.13万元;经营活动产生的现金流量净额为3.18亿元,上年同期为-3.94亿元;报告期内,白银有色基本每股收益为-0.0114元,加权平均净资产收益率为-0.56%。



2024年第一季度,公司毛利率为3.83%,同比下降1.60个百分点;净利率为0.12%,较上年同期下降0.12个百分点。

数据显示,2024年第一季度公司加权平均净资产收益率为-0.56%,较上年同期下降0.11个百分点;公司2024年第一季度投入资本回报率为0.14%,较上年同期下降0.09个百分点。

2024年第一季度,公司经营活动现金流净额为3.18亿元,同比增加7.12亿元,主要系本期公司销售产品收回现金同比增加,原材料采购支付现金同比减少,经营活动净现金流入同比增加所致;筹资活动现金流净额3.87亿元,同比减少13.87亿元,主要系本期银行还款增幅大于银行借款增幅,筹资活动净现金流入同比降低所致;投资活动现金流净额-1.68亿元,上年同期为1110.12万元,主要系本期公司投资支付的现金同比增加所致。

2024年第一季度,公司营业收入现金比为115.85%,净现比为-376.53%。

资产重大变化方面,截至2024年一季度末,公司预付款项较上年末增加72.17%,占公司总资产比重上升1.75个百分点;应收账款较上年末减少27.40%,占公司总资产比重下降0.92个百分点;在建工程较上年末减少17.32%,占公司总资产比重下降0.72个百分点;货币资金较上年末增加7.29%,占公司总资产比重上升0.66个百分点。

负债重大变化方面,截至2024年一季度末,公司应付账款较上年末减少35.36%,占公司总资产比重下降3.48个百分点;长期借款较上年末增加27.30%,占公司总资产比重上升3.07个百分点;短期借款较上年末减少9.45%,占公司总资产比重下降2.46个百分点;合同负债较上年末增加57.82%,占公司总资产比重上升1.62个百分点。

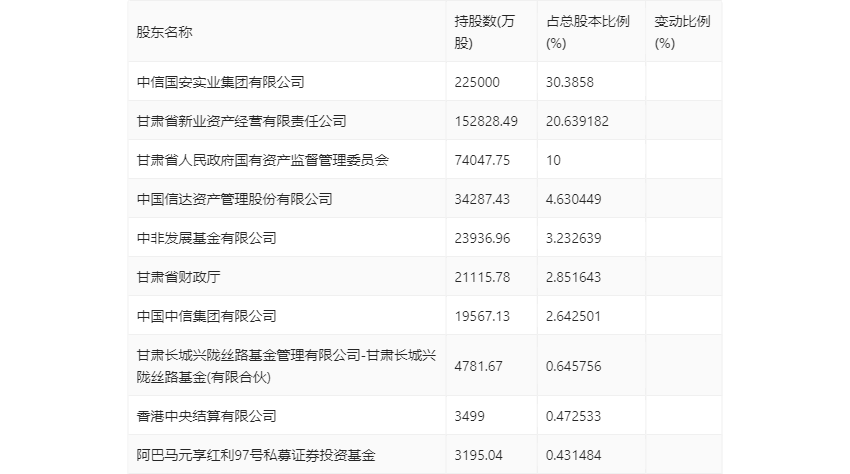
一季报显示,2024年一季度末公司十大流通股东中,新进股东为香港中央结算有限公司,取代了上年末的阿巴马元享红利96号私募证券投资基金。

筹码集中度方面,截至2024年一季度末,公司股东总户数为12.7万户,较上年末下降了3001户,降幅2.31%;户均持股市值由上年末的15.33万元上升至16.74万元,增幅为9.20%。
