林洋能源:2023年净利润同比增长20.48% 拟10派3.03元

中证智能财讯 林洋能源(601222)4月27日披露2023年年报。2023年,公司实现营业总收入68.72亿元,同比增长39.00%;归母净利润10.31亿元,同比增长20.48%;扣非净利润8.67亿元,同比增长23.61%;经营活动产生的现金流量净额为3.41亿元,同比下降66.22%;报告期内,林洋能源基本每股收益为0.51元,加权平均净资产收益率为6.88%。公司2023年年度利润分配预案为:拟向全体股东每10股派3.03元(含税)。


以4月26日收盘价计算,林洋能源目前市盈率(TTM)约为12.56倍,市净率(LF)约为0.84倍,市销率(TTM)约为1.89倍。

公司近年市盈率(TTM)、市净率(LF)、市销率(TTM)历史分位图如下所示:



数据统计显示,林洋能源近三年营业总收入复合增长率为5.82%,在光伏发电行业已披露2023年数据的10家公司中排名第7。近三年净利润复合年增长率为1.13%,排名4/10。

年报称,报告期内,公司主要从事智能电网、新能源、储能三个板块业务。
分产品来看,2023年公司主营业务中,电能表、系统类产品及配件收入22.74亿元,同比增长1.81%,占营业收入的33.08%;储能、节能业务收入15.06亿元,同比增长253.62%,占营业收入的21.92%;电站销售收入12.96亿元,占营业收入的18.86%。

截至2023年末,公司员工总数为4332人,人均创收158.64万元,人均创利23.81万元,人均薪酬15.80万元,较上年同期分别变化5.21%、-8.80%、4.35%。

2023年,公司毛利率为28.43%,同比下降7.86个百分点;净利率为15.27%,较上年同期下降2.21个百分点。从单季度指标来看,2023年第四季度公司毛利率为20.68%,同比下降13.77个百分点,环比下降13.70个百分点;净利率为8.46%,较上年同期下降0.55个百分点,较上一季度下降8.87个百分点。

分产品看,电能表、系统类产品及配件、储能、节能业务、电站销售2023年毛利率分别为34.93%、16.09%、11.48%。
报告期内,公司前五大客户合计销售金额23.03亿元,占总销售金额比例为33.52%,公司前五名供应商合计采购金额16.01亿元,占年度采购总额比例为21.32%。

数据显示,2023年公司加权平均净资产收益率为6.88%,较上年同期增长1.07个百分点;公司2023年投入资本回报率为5.80%,较上年同期增长0.56个百分点。

2023年,公司经营活动现金流净额为3.41亿元,同比下降66.22%;筹资活动现金流净额-6.02亿元,同比增加3.77亿元;投资活动现金流净额4.30亿元,上年同期为13.23亿元。
进一步统计发现,2023年公司自由现金流为11.35亿元,相比上年同期增长136.22%。

2023年,公司营业收入现金比为88.40%,净现比为33.09%。

营运能力方面,2023年,公司公司总资产周转率为0.31次,上年同期为0.24次(2022年行业平均值为0.17次,公司位居同行业4/13);固定资产周转率为1.03次,上年同期为0.69次(2022年行业平均值为0.47次,公司位居同行业5/13);公司应收账款周转率、存货周转率分别为1.80次、3.46次。

2023年,公司期间费用为7.61亿元,较上年同期增加8316.67万元;但期间费用率为11.07%,较上年同期下降2.63个百分点。其中,销售费用同比增长8.74%,管理费用同比增长8.74%,研发费用同比增长55.39%,财务费用由去年同期的3561.10万元变为-411.32万元。

资产重大变化方面,截至2023年年末,公司其他应收款(含利息和股利)较上年末减少62.29%,占公司总资产比重下降5.32个百分点;应收账款较上年末增加45.68%,占公司总资产比重上升4.93个百分点;固定资产较上年末增加27.08%,占公司总资产比重上升4.62个百分点;应收款项融资较上年末减少62.81%,占公司总资产比重下降1.38个百分点。

负债重大变化方面,截至2023年年末,公司应付账款较上年末增加75.66%,占公司总资产比重上升4.06个百分点,主要系12GW高效N型TOPCon光伏电池生产基地建设的应付账款增加;短期借款较上年末减少67.13%,占公司总资产比重下降2.39个百分点,主要系银行借款还款;长期借款较上年末增加19.04%,占公司总资产比重上升0.70个百分点;应付票据较上年末增加14.76%,占公司总资产比重上升0.28个百分点。

从存货变动来看,截至2023年年末,公司存货账面价值为13.33亿元,占净资产的8.61%,较上年末减少1.75亿元。其中,存货跌价准备为1589.4万元,计提比例为1.18%。

2023年全年,公司研发投入金额为2.23亿元,同比增长55.39%;研发投入占营业收入比例为3.24%,相比上年同期上升0.34个百分点。此外,公司全年研发投入资本化率为0。


在偿债能力方面,公司2023年年末资产负债率为32.79%,相比上年末上升2.59个百分点;有息资产负债率为12.03%,相比上年末下降1.70个百分点。

2023年,公司流动比率为2.53,速动比率为2.28。

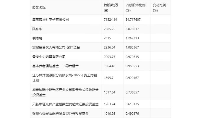
年报显示,2023年年末公司十大流通股东中,持股最多的为启东市华虹电子有限公司,占比34.72%。十大流通股东名单相比2023年三季报维持不变。在具体持股比例上,银华心怡灵活配置混合型证券投资基金持股有所上升,香港中央结算有限公司、华泰柏瑞中证光伏产业交易型开放式指数证券投资基金、天弘中证光伏产业指数型发起式证券投资基金持股有所下降。

筹码集中度方面,截至2023年年末,公司股东总户数为8.93万户,较三季度末增长了1727户,增幅1.97%;户均持股市值由三季度末的16.85万元下降至14.75万元,降幅为12.46%。

指标注解:
市盈率
=总市值/净利润。当公司亏损时市盈率为负,此时用市盈率估值没有实际意义,往往用市净率或市销率做参考。
市净率
=总市值/净资产。市净率估值法多用于盈利波动较大而净资产相对稳定的公司。
市销率
=总市值/营业收入。市销率估值法通常用于亏损或微利的成长型公司。
文中市盈率和市销率采用TTM方式,即以截至最近一期财报(含预报)12个月的数据计算。市净率采用LF方式,即以最近一期财报数据计算。
市盈率为负时,不显示当期分位数,会导致折线图中断。