煤炭大跌,陕西煤业跌超3%,中国神华跌超2%,能源ETF(159930)再度回调超2%,最近4日连续净流入超2700万元

查股网  2024-03-15 11:07  陕西煤业(601225)个股分析

截至2024年3月15日10:50,中证能源指数(000928)下跌1.84%。成分股方面涨跌互现,海油发展(600968)领涨0.61%,海油工程(600583)上涨0.61%,中海油服(601808)上涨0.07%;潞安环能(601699)领跌4.50%,平煤股份(601666)下跌3.59%,兖矿能源(600188)下跌3.59%,中国神华跌超2%。能源ETF(159930)再度回调超2%,最新报价1.41元,盘中成交额已达2913.47万元,换手率9.36%。

拉长时间看,截至2024年3月14日,能源ETF近1月累计上涨3.90%。规模方面,能源ETF最新规模达3.17亿元创近1年新高。

从资金净流入方面来看,能源ETF近4天获得连续资金净流入,最高单日获得1009.40万元净流入,合计“吸金”2735.67万元,日均净流入达683.92万元。

图片来源:Wind图片来源:Wind

湘财证券指出,上周是重要会议召开期间,产地供应水平有小幅限制,恢复缓慢,供应以稳为主。动力煤步入淡季,后续需求难有支撑,煤价存在下行压力;焦煤方面则逐渐步入“金三银四”非电旺季,需求有望得到提振,煤价有望企稳回升。建议关注焦煤资源禀赋优异的企业。

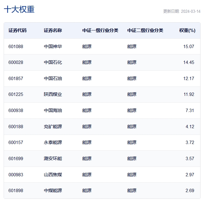
中证800能源指数成份股数量仅24只,含煤量60%,含油量40%,在高股息板块节节高升的背景下,表现亮眼,中国石油中国石化两大权重股占比超26%,包括中国神华、陕西煤业永泰能源在内的前5大权重股占比超60%!前十大权重股占比近78%!

图片来源:中证指数官网图片来源:中证指数官网

把握传统能源大机遇,布局经典高股息板块,相关产品能源ETF(159930),仅含24只煤炭股+石油股,全市场稀缺品种!

能源ETF紧密跟踪中证能源指数,为反映中证800指数样本中不同行业公司证券的整体表现,为投资者提供分析工具,将中证800指数样本按中证行业分类分为11个一级行业与35个二级行业,再以进入各一、二级行业的全部证券作为样本编制指数,形成中证800行业指数。