农业银行:2024年上半年净利润同比增长2.00% 拟10派1.164元

中证智能财讯 农业银行(601288)8月31日披露2024年半年报。2024年上半年,公司实现营业总收入3668.35亿元,同比增长0.29%;归母净利润1358.92亿元,同比增长2.00%;扣非净利润1354.87亿元,同比增长1.98%;经营活动产生的现金流量净额为2913.80亿元,同比下降78.47%;报告期内,农业银行基本每股收益为0.37元,加权平均净资产收益率为5.38%。公司2024年半年度利润分配预案为:拟向全体股东每10股派1.164元(含税)。
以8月30日收盘价计算,农业银行目前市盈率(TTM)约为5.82倍,市净率(LF)约为0.52倍,市销率(TTM)约为2.27倍。

公司近年市盈率(TTM)、市净率(LF)、市销率(TTM)历史分位图如下所示:



根据半年报,公司第二季度实现营业总收入1808.14亿元,同比增长2.50%,环比下降2.80%;归母净利润655.06亿元,同比增长6.20%,环比下降6.93%;扣非净利润651.4亿元,同比增长6.10%,环比下降7.40%。

分产品来看,2024年上半年公司主营业务中,利息净收入收入2908.48亿元,同比增长0.15%,占营业收入的79.29%;手续费及佣金净收入收入467.36亿元,同比下降7.87%,占营业收入的12.74%;投资收益收入151.78亿元,同比增长26.73%,占营业收入的4.14%。

盈利能力方面, 2024年半年度公司加权平均净资产收益率为5.38%,同比下降0.34个百分点。

2024年上半年,公司经营活动现金流净额为2913.80亿元,同比下降78.47%;筹资活动现金流净额2589.60亿元,同比增加1615.83亿元;投资活动现金流净额-1.48万亿元,上年同期为-3880.93亿元。

资产重大变化方面,截至2024年上半年末,公司买入返售金融资产较上年末减少59.09%,占公司总资产比重下降2.78个百分点;其他权益工具投资合计较上年末增加51.41%,占公司总资产比重上升2.42个百分点;发放贷款和垫款较上年末增加7.85%,占公司总资产比重上升1.33个百分点;存放同业款项较上年末减少40.85%,占公司总资产比重下降1.19个百分点。

负债重大变化方面,截至2024年上半年末,公司吸收存款及同业存款较上年末增加4.83%,占公司总资产比重下降0.36个百分点;应付债券较上年末增加12.37%,占公司总资产比重上升0.39个百分点;其他负债较上年末增加40.92%,占公司总资产比重上升0.26个百分点;应交税费较上年末减少61.97%,占公司总资产比重下降0.08个百分点。

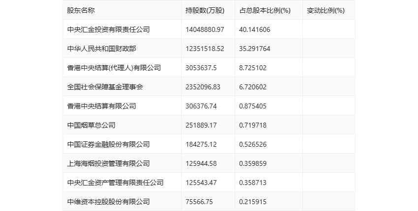
半年报显示,2024年上半年末公司十大流通股东中,持股最多的为中央汇金投资有限责任公司,占比40.14%。十大流通股东名单相比2024年一季报维持不变。在具体持股比例上,香港中央结算(代理人)有限公司持股有所上升,香港中央结算有限公司持股有所下降。

筹码集中度方面,截至2024年上半年末,公司股东总户数为41.17万户,较一季度末增长了1.39万户,增幅3.49%;户均持股市值由一季度末的354.01万元下降至353.32万元,降幅为0.19%。

指标注解:
市盈率
=总市值/净利润。当公司亏损时市盈率为负,此时用市盈率估值没有实际意义,往往用市净率或市销率做参考。
市净率
=总市值/净资产。市净率估值法多用于盈利波动较大而净资产相对稳定的公司。
市销率
=总市值/营业收入。市销率估值法通常用于亏损或微利的成长型公司。
文中市盈率和市销率采用TTM方式,即以截至最近一期财报(含预报)12个月的数据计算。市净率采用LF方式,即以最近一期财报数据计算。
市盈率为负时,不显示当期分位数,会导致折线图中断。