新华保险:2024年第一季度净利润49.42亿元 同比下降28.55%

中证智能财讯 新华保险(601336)4月30日披露2024年一季报。2024年第一季度,公司实现营业总收入264.79亿元,同比下降8.71%;归母净利润49.42亿元,同比下降28.55%;扣非净利润49.53亿元,同比下降28.38%;经营活动产生的现金流量净额为376.58亿元,同比下降1.50%;报告期内,新华保险基本每股收益为1.58元,加权平均净资产收益率为4.97%。



2024年第一季度,公司经营活动现金流净额为376.58亿元,同比下降1.50%;筹资活动现金流净额-424.39亿元,同比减少617.09亿元;投资活动现金流净额82.62亿元,上年同期为-541.44亿元。
2024年第一季度,公司营业收入现金比为233.06%,净现比为762.00%。

资产重大变化方面,截至2024年一季度末,公司交易性金融资产较上年末增加11.36%,占公司总资产比重上升2.52个百分点;其他债权投资合计较上年末减少4.54%,占公司总资产比重下降1.56个百分点;其他应收款(含利息和股利)较上年末减少70.37%,占公司总资产比重下降0.68个百分点;债权投资合计较上年末减少1.01%,占公司总资产比重下降0.64个百分点。

负债重大变化方面,截至2024年一季度末,公司卖出回购金融资产款较上年末减少29.24%,占公司总资产比重下降2.32个百分点;其他应付款(含利息和股利)较上年末减少40.62%,占公司总资产比重下降0.36个百分点;长期递延收益较上年末减少98.72%,占公司总资产比重下降0.03个百分点;交易性金融负债合计较上年末减少9.91%,占公司总资产比重下降0.03个百分点。

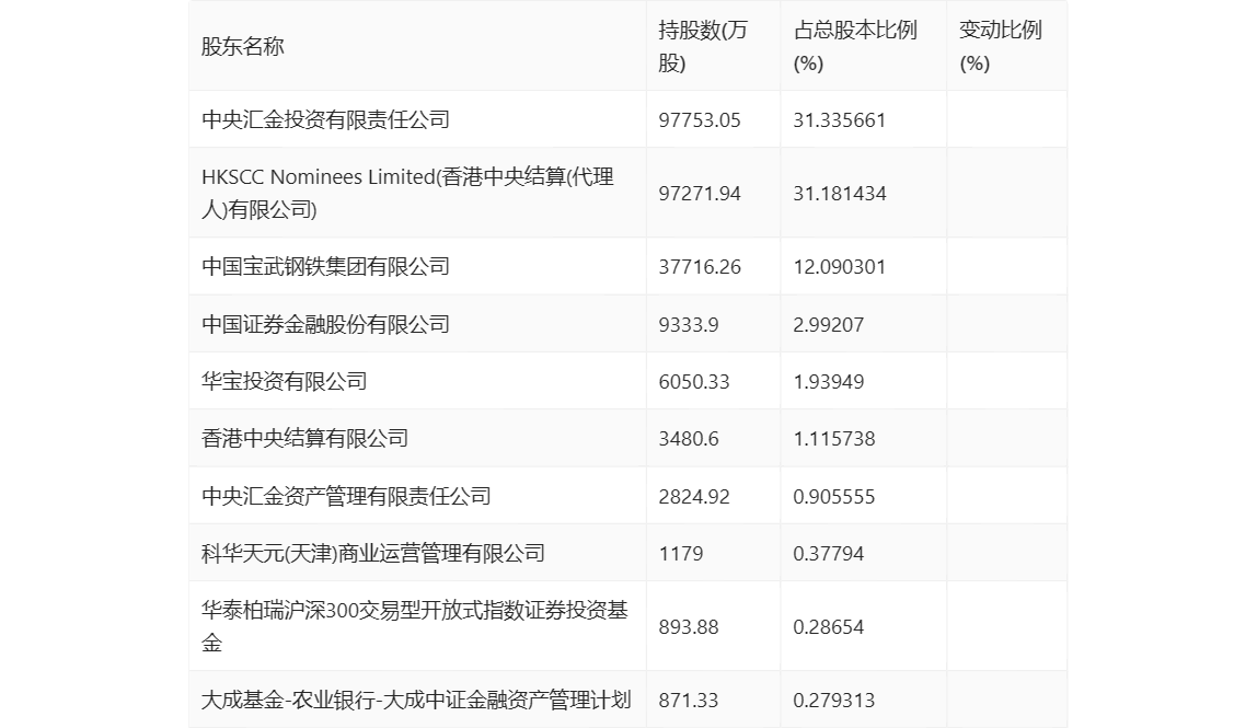
一季报显示,2024年一季度末公司十大流通股东中,新进股东为华泰柏瑞沪深300交易型开放式指数证券投资基金,取代了上年末的华夏基金-农业银行-华夏中证金融资产管理计划。在具体持股比例上,HKSCC Nominees Limited(香港中央结算(代理人)有限公司)、香港中央结算有限公司持股有所下降。

筹码集中度方面,截至2024年一季度末,公司股东总户数为9.16万户,较上年末增长了6102户,增幅7.14%;户均持股市值由上年末的113.22万元下降至101.25万元,降幅为10.57%。
