国联证券:2024年上半年净利润8770.93万元 同比下降85.39%

中证智能财讯 国联证券(601456)8月31日披露2024年半年度报告。2024年上半年,公司实现营业收入10.86亿元,同比下降39.91%;归母净利润8770.93万元,同比下降85.39%;扣非净利润7699.89万元,同比下降87.00%;经营活动产生的现金流量净额为63.68亿元,同比增长142.33%;报告期内,国联证券基本每股收益为0.03元,加权平均净资产收益率为0.48%。


以8月30日收盘价计算,国联证券目前市盈率(TTM)约为172.35倍,市净率(LF)约为1.5倍,市销率(TTM)约为12.24倍。

公司近年市盈率(TTM)、市净率(LF)、市销率(TTM)历史分位图如下所示:



根据半年报,公司第二季度实现营业总收入9.12亿元,同比下降19.16%,环比增长426.15%;归母净利润3.06亿元,同比下降22.01%,环比增长240.09%;扣非净利润3.04亿元,同比下降22.02%,环比增长233.96%。

资料显示,公司主要业务分为经纪及财富管理业务、投资银行业务、资产管理及投资业务、信用交易业务及证券投资业务五大板块。
盈利能力方面, 2024年半年度公司加权平均净资产收益率为0.48%,同比下降3个百分点。

2024年上半年,公司经营活动现金流净额为63.68亿元,同比增长142.33%;筹资活动现金流净额9.33亿元,同比减少24.35亿元;投资活动现金流净额15.40亿元,上年同期为-12.77亿元。

资产重大变化方面,截至2024年上半年末,公司货币资金较上年末增加54.63%,占公司总资产比重上升4.99个百分点;买入返售金融资产较上年末增加74.06%,占公司总资产比重上升3.81个百分点;交易性金融资产较上年末减少0.77%,占公司总资产比重下降3.30个百分点;融出资金较上年末减少15.38%,占公司总资产比重下降2.44个百分点。

负债重大变化方面,截至2024年上半年末,公司拆入资金较上年末增加36.27%,占公司总资产比重上升1.66个百分点;卖出回购金融资产款较上年末增加12.94%,占公司总资产比重上升0.90个百分点;应付债券较上年末增加5.35%,占公司总资产比重下降0.47个百分点;应付短期融资款较上年末增加207.14%,占公司总资产比重上升0.55个百分点。

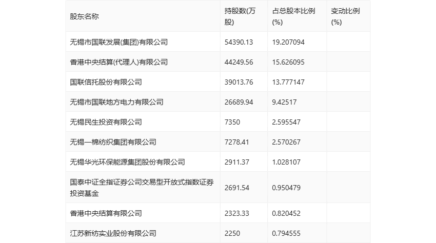
半年报显示,2024年上半年末公司十大流通股东中,持股最多的为无锡市国联发展(集团)有限公司,占比19.21%。十大流通股东名单相比2024年一季报维持不变。在具体持股比例上,国泰中证全指证券公司交易型开放式指数证券投资基金持股有所上升,香港中央结算有限公司持股有所下降。

筹码集中度方面,截至2024年上半年末,公司股东总户数为11.16万户,较一季度末增长了3065户,增幅2.82%;户均持股市值由一季度末的29.48万元下降至24.44万元,降幅为17.10%。

指标注解:
市盈率
=总市值/净利润。当公司亏损时市盈率为负,此时用市盈率估值没有实际意义,往往用市净率或市销率做参考。
市净率
=总市值/净资产。市净率估值法多用于盈利波动较大而净资产相对稳定的公司。
市销率
=总市值/营业收入。市销率估值法通常用于亏损或微利的成长型公司。
文中市盈率和市销率采用TTM方式,即以截至最近一期财报(含预报)12个月的数据计算。市净率采用LF方式,即以最近一期财报数据计算。
市盈率为负时,不显示当期分位数,会导致折线图中断。