大智慧:2023年盈利1.02亿元 同比扭亏

中证智能财讯 大智慧(601519)4月12日披露2023年年报。2023年,公司实现营业总收入7.77亿元,同比下降0.37%;归母净利润1.02亿元,同比扭亏;扣非净利润亏损2.32亿元,上年同期亏损9187.77万元;经营活动产生的现金流量净额为1.98亿元,上年同期为-2253.83万元;报告期内,大智慧基本每股收益为0.051元,加权平均净资产收益率为6.23%。

以4月11日收盘价计算,大智慧目前市盈率(TTM)约为131.31倍,市净率(LF)约为7.94倍,市销率(TTM)约为17.3倍。

公司近年市盈率(TTM)、市净率(LF)、市销率(TTM)历史分位图如下所示:



数据统计显示,大智慧近三年营业总收入复合增长率为3.18%,在垂直应用软件行业已披露2023年数据的30家公司中排名第20。近三年净利润复合年增长率为12.22%,排名7/30。

资料显示,公司是国内领先的互联网金融信息服务提供商,基于多年在金融信息和互联网领域取得的资源和技术积累,充分发挥大数据优势,打造了集资讯、服务、交易为一体的一站式、智能化互联网金融信息服务系统,向广大投资者提供各类基于互联网应用的金融信息产品和服务。
分产品来看,2023年公司主营业务中,金融资讯及数据PC终端服务系统收入3.85亿元,同比增长10.69%,占营业收入的49.58%;港股服务系统收入1.38亿元,同比下降4.91%,占营业收入的17.77%;证券公司综合服务系统收入0.92亿元,同比下降1.57%,占营业收入的11.80%。

截至2023年末,公司员工总数为2001人,人均创收38.85万元,人均创利5.12万元,人均薪酬28.17万元,较上年同期分别变化-15.85%、197.96%、-0.30%。

2023年,公司毛利率为59.06%,同比下降0.49个百分点;净利率为11.04%,较上年同期上升22.91个百分点。从单季度指标来看,2023年第四季度公司毛利率为61.42%,同比下降4.08个百分点,环比上升4.37个百分点;净利率为-61.41%,较上年同期下降60.11个百分点,较上一季度下降32.34个百分点。

分产品看,金融资讯及数据PC终端服务系统、港股服务系统、证券公司综合服务系统2023年毛利率分别为57.06%、61.18%、60.10%。

报告期内,公司前五大客户合计销售金额0.75亿元,占总销售金额比例为9.64%,公司前五名供应商合计采购金额0.80亿元,占年度采购总额比例为25.18%。

数据显示,2023年公司加权平均净资产收益率为6.23%,较上年同期增长11.66个百分点;公司2023年投入资本回报率为3.78%,较上年同期增长9.75个百分点。

2023年,公司经营活动现金流净额为1.98亿元,同比增加2.20亿元,主要系经营活动产生的现金流量净额同比增加是由于本期已收到了张长虹先生向公司支付的33,549.66万元所致;筹资活动现金流净额-1.04亿元,同比减少7606.63万元,主要系由于本期支付了限制性股票激励计划回购注销款项所致;投资活动现金流净额1227.05万元,上年同期为-8853.81万元,主要系由于上期支付了收购爱豆科技投资款所致。
进一步统计发现,2023年公司自由现金流为4294.48万元,上年同期为-10515.03万元。

2023年,公司营业收入现金比为185.90%,净现比为193.01%。

营运能力方面,2023年,公司公司总资产周转率为0.33次,上年同期为0.33次(2022年行业平均值为0.44次,公司位居同行业68/103);公司应收账款周转率、存货周转率分别为9.13次、186.62次。

2023年,公司期间费用为6.13亿元,较上年同期增加6340.09万元;期间费用率为78.82%,较上年同期上升8.42个百分点。其中,销售费用同比增长14.27%,管理费用同比增长15.5%,研发费用同比增长6.96%,财务费用由去年同期的-1584.38万元变为-2167.52万元。

资产重大变化方面,截至2023年年末,公司货币资金较上年末增加7.87%,占公司总资产比重上升6.62个百分点;无形资产较上年末减少69.57%,占公司总资产比重下降1.69个百分点;商誉较上年末减少13.37%,占公司总资产比重下降1.66个百分点;使用权资产较上年末减少34.75%,占公司总资产比重下降1.22个百分点。

负债重大变化方面,截至2023年年末,公司其他应付款(含利息和股利)较上年末减少49.10%,占公司总资产比重下降3.32个百分点;租赁负债较上年末减少48.94%,占公司总资产比重下降1.14个百分点;应付账款较上年末减少4.33%,占公司总资产比重下降0.15个百分点;应付职工薪酬较上年末增加9.51%,占公司总资产比重上升0.34个百分点。

从存货变动来看,截至2023年年末,公司存货账面价值为2.82万元,占净资产的0.0%,较上年末减少335.42万元。根据财报,公司本期没有计提存货跌价准备。

2023年全年,公司研发投入金额为2.10亿元,同比增长6.96%;研发投入占营业收入比例为26.99%,相比上年同期上升1.85个百分点。此外,公司全年研发投入资本化率为0。


在偿债能力方面,公司2023年年末资产负债率为26.70%,相比上年末下降4.44个百分点;有息资产负债率为1.30%,相比上年末下降0.02个百分点。

2023年,公司流动比率为3.25,速动比率为3.25。

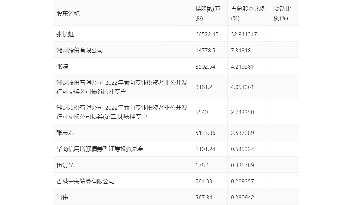
年报显示,2023年年末公司十大流通股东中,持股最多的为张长虹,占比32.94%。十大流通股东名单相比2023年三季报维持不变。在具体持股比例上,湘财股份有限公司、华商信用增强债券型证券投资基金持股有所上升,香港中央结算有限公司持股有所下降。

筹码集中度方面,截至2023年年末,公司股东总户数为13.72万户,较三季度末下降了2928户,降幅2.09%;户均持股市值由三季度末的11.00万元下降至10.86万元,降幅为1.27%。

指标注解:
市盈率
=总市值/净利润。当公司亏损时市盈率为负,此时用市盈率估值没有实际意义,往往用市净率或市销率做参考。
市净率
=总市值/净资产。市净率估值法多用于盈利波动较大而净资产相对稳定的公司。
市销率
=总市值/营业收入。市销率估值法通常用于亏损或微利的成长型公司。
文中市盈率和市销率采用TTM方式,即以截至最近一期财报(含预报)12个月的数据计算。市净率采用LF方式,即以最近一期财报数据计算。
市盈率为负时,不显示当期分位数,会导致折线图中断。