北辰实业:2024年第一季度亏损1.74亿元

中证智能财讯 北辰实业(601588)4月30日披露2024年一季报。2024年第一季度,公司实现营业总收入17.23亿元,同比下降58.82%;归母净利润亏损1.74亿元,上年同期盈利3266.92万元;扣非净利润亏损1.82亿元,上年同期盈利443.35万元;经营活动产生的现金流量净额为-3.08亿元,上年同期为8.50亿元;报告期内,北辰实业基本每股收益为-0.05元,加权平均净资产收益率为-1.36%。


2024年第一季度,公司毛利率为31.46%,同比上升16.33个百分点;净利率为-12.95%,较上年同期下降14.10个百分点。

数据显示,2024年第一季度公司加权平均净资产收益率为-1.36%,较上年同期下降1.62个百分点;公司2024年第一季度投入资本回报率为0.21%,较上年同期下降0.28个百分点。

2024年第一季度,公司经营活动现金流净额为-3.08亿元,同比减少11.58亿元,主要系由于公司本期销售商品、提供劳务收到的现金减少所致;筹资活动现金流净额-6.78亿元,同比减少34.39亿元;投资活动现金流净额-3432.58万元,上年同期为7918.39万元。

2024年第一季度,公司营业收入现金比为93.61%。

资产重大变化方面,截至2024年一季度末,公司货币资金较上年末减少14.37%,占公司总资产比重下降1.90个百分点;存货较上年末减少1.88%,占公司总资产比重上升0.87个百分点;投资性房地产较上年末减少0.85%,占公司总资产比重上升0.36个百分点;其他流动资产较上年末增加6.20%,占公司总资产比重上升0.30个百分点。

负债重大变化方面,截至2024年一季度末,公司长期应付款合计较上年末减少19.75%,占公司总资产比重下降1.66个百分点;应付账款较上年末减少11.56%,占公司总资产比重下降0.87个百分点;合同负债较上年末减少29.97%,占公司总资产比重下降1.03个百分点;长期借款较上年末增加5.03%,占公司总资产比重上升1.72个百分点。

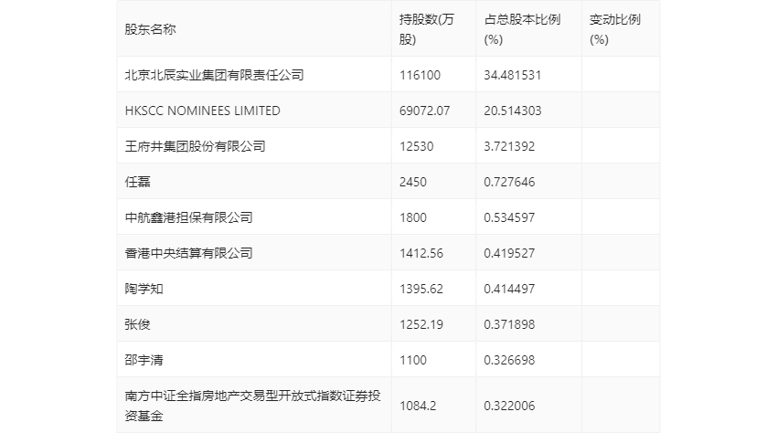
一季报显示,2024年一季度末公司十大流通股东中,持股最多的为北京北辰实业集团有限责任公司,占比34.48%。十大流通股东名单相比2023年年报维持不变。在具体持股比例上,HKSCC NOMINEES LIMITED持股有所上升,香港中央结算有限公司、南方中证全指房地产交易型开放式指数证券投资基金持股有所下降。
