北辰实业:2024年上半年亏损7.38亿元

中证智能财讯 北辰实业(601588)8月29日披露2024年半年度报告。2024年上半年,公司实现营业收入34.3亿元,同比下降52.81%;归母净利润亏损7.38亿元,上年同期盈利956.97万元;扣非净利润亏损7.94亿元,上年同期亏损4951.28万元;经营活动产生的现金流量净额为1.52亿元,同比下降90.15%;报告期内,北辰实业基本每股收益为-0.22元,加权平均净资产收益率为-5.99%。
公告称,公司营业收入变化主要由于由于公司本期房地产开发板块可结算收入减少。


以8月28日收盘价计算,北辰实业目前市盈率(TTM)约为-6.39倍,市净率(LF)约为0.37倍,市销率(TTM)约为0.36倍。

公司近年市盈率(TTM)、市净率(LF)、市销率(TTM)历史分位图如下所示:



根据半年报,公司第二季度实现营业总收入17.07亿元,同比下降44.66%,环比下降0.96%;归母净利润-5.65亿元,同比下降2344.02%,环比下降224.91%;扣非净利润-6.12亿元,同比下降1034.96%,环比下降237.06%。

半年报称,公司主营业务包括会展(含酒店)及商业物业、房地产开发。
分产品来看,2024年上半年公司主营业务中,房地产开发收入20.79亿元,同比下降65.31%,占营业收入的60.62%;会展(含酒店)及商业物业收入12.48亿元,同比增长4.74%,占营业收入的36.39%。

2024年上半年,公司毛利率为28.88%,同比上升7.88个百分点;净利率为-24.75%,较上年同期下降24.33个百分点。从单季度指标来看,2024年第二季度公司毛利率为26.27%,同比下降2.70个百分点,环比下降5.19个百分点;净利率为-36.65%,较上年同期下降34.10个百分点,较上一季度下降23.70个百分点。

分产品看,房地产开发、会展(含酒店)及商业物业2024年上半年毛利率分别为18.79%、45.90%。
数据显示,2024年上半年公司加权平均净资产收益率为-5.99%,较上年同期下降6.06个百分点;公司2024年上半年投入资本回报率为-1.04%,较上年同期下降0.73个百分点。

2024年上半年,公司经营活动现金流净额为1.52亿元,同比下降90.15%;筹资活动现金流净额-13.73亿元,同比减少17.26亿元;投资活动现金流净额1682.17万元,上年同期为6745.14万元。
进一步统计发现,2024年上半年公司自由现金流为-2083.23万元,上年同期为52948.18万元。

2024年上半年,公司营业收入现金比为95.47%,净现比为-20.64%。

营运能力方面,2024年上半年,公司总资产周转率为0.06次,上年同期为0.11次(2023年上半年行业平均值为0.07次,公司位居同行业21/79);固定资产周转率为1.26次,上年同期为2.54次(2023年上半年行业平均值为8.45次,公司位居同行业57/79);公司应收账款周转率、存货周转率分别为16.28次、0.08次。

2024年上半年,公司期间费用为8.82亿元,较上年同期减少9757.30万元;但期间费用率为25.71%,较上年同期上升12.24个百分点。其中,销售费用同比下降23.49%,管理费用同比下降3.75%,财务费用同比下降9.41%。
资料显示,销售费用的变动主要因为由于公司本期控制营销费用支出;管理费用的变动主要因为由于公司本期费用支出控制在合理范围之内;财务费用的变动主要因为由于公司本期对外利息支付减少及利息收入增加。

资产重大变化方面,截至2024年上半年末,公司货币资金较上年末减少13.74%,占公司总资产比重下降1.31个百分点;存货较上年末减少5.27%,占公司总资产比重上升0.66个百分点;投资性房地产较上年末减少2.41%,占公司总资产比重上升0.58个百分点;长期股权投资较上年末减少59.12%,占公司总资产比重下降0.33个百分点。

负债重大变化方面,截至2024年上半年末,公司应付债券较上年末减少53.82%,占公司总资产比重下降3.52个百分点;一年内到期的非流动负债较上年末增加19.46%,占公司总资产比重上升4.07个百分点;应付账款较上年末减少14.34%,占公司总资产比重下降0.87个百分点;合同负债较上年末减少27.46%,占公司总资产比重下降0.84个百分点。

在偿债能力方面,公司2024年上半年末资产负债率为72.65%,相比上年末上升0.27个百分点;有息资产负债率为42.74%,相比上年末上升1.34个百分点。

2024年上半年,公司流动比率为2.00,速动比率为0.55。

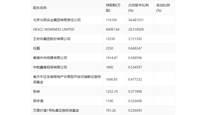
半年报显示,2024年上半年末公司十大流通股东中,新进股东为万里价值1号私募证券投资基金,取代了一季度末的陶学知。在具体持股比例上,HKSCC NOMINEES LIMITED、香港中央结算有限公司、南方中证全指房地产交易型开放式指数证券投资基金持股有所上升,任磊持股有所下降。

指标注解:
市盈率
=总市值/净利润。当公司亏损时市盈率为负,此时用市盈率估值没有实际意义,往往用市净率或市销率做参考。
市净率
=总市值/净资产。市净率估值法多用于盈利波动较大而净资产相对稳定的公司。
市销率
=总市值/营业收入。市销率估值法通常用于亏损或微利的成长型公司。
文中市盈率和市销率采用TTM方式,即以截至最近一期财报(含预报)12个月的数据计算。市净率采用LF方式,即以最近一期财报数据计算。
市盈率为负时,不显示当期分位数,会导致折线图中断。