中国外运:2024年第一季度净利润8.03亿元 同比下降16.05%

中证智能财讯 中国外运(601598)4月30日披露2024年一季报。2024年第一季度,公司实现营业总收入242.87亿元,同比增长8.09%;归母净利润8.03亿元,同比下降16.05%;扣非净利润7.31亿元,同比下降14.79%;经营活动产生的现金流量净额为-27.10亿元,上年同期为-1.54亿元;报告期内,中国外运基本每股收益为0.1101元,加权平均净资产收益率为2.10%。



2024年第一季度,公司毛利率为5.15%,同比下降1.70个百分点;净利率为3.47%,较上年同期下降0.98个百分点。

数据显示,2024年第一季度公司加权平均净资产收益率为2.10%,较上年同期下降0.62个百分点;公司2024年第一季度投入资本回报率为1.67%,较上年同期下降0.34个百分点。

2024年第一季度,公司经营活动现金流净额为-27.10亿元,同比减少25.57亿元;筹资活动现金流净额-1625.15万元,同比增加1.70亿元;投资活动现金流净额-3.48亿元,上年同期为-4.65亿元。

2024年第一季度,公司营业收入现金比为97.88%,净现比为-337.64%。

资产重大变化方面,截至2024年一季度末,公司货币资金较上年末减少22.30%,占公司总资产比重下降4.76个百分点;应收账款较上年末增加35.30%,占公司总资产比重上升4.73个百分点;预付款项较上年末增加35.10%,占公司总资产比重上升1.81个百分点;固定资产较上年末减少0.42%,占公司总资产比重下降0.97个百分点。

负债重大变化方面,截至2024年一季度末,公司应付账款较上年末增加18.21%,占公司总资产比重上升2.08个百分点;应付职工薪酬较上年末减少28.92%,占公司总资产比重下降1.00个百分点;其他应付款(含利息和股利)较上年末增加23.36%,占公司总资产比重上升0.54个百分点;一年内到期的非流动负债较上年末增加7.26%,占公司总资产比重上升0.16个百分点。

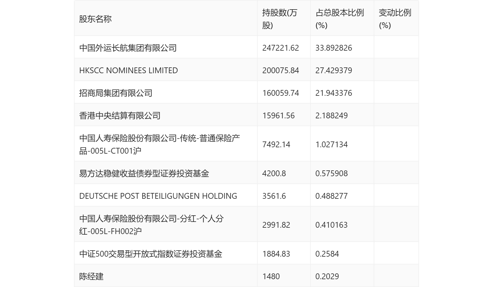
一季报显示,2024年一季度末公司十大流通股东中,新进股东为中国人寿保险股份有限公司-传统-普通保险产品-005L-CT001沪、中国人寿保险股份有限公司-分红-个人分红-005L-FH002沪、中证500交易型开放式指数证券投资基金,取代了上年末的中国人寿保险股份有限公司–传统–普通保险产品–005L–CT001沪、中国人寿保险股份有限公司–分红–个人分红–005L–FH002沪、全国社保基金五零一组合。在具体持股比例上,HKSCC NOMINEES LIMITED、香港中央结算有限公司持股有所上升,易方达稳健收益债券型证券投资基金持股有所下降。
