长城军工:2023年净利润同比下降66.56% 拟10派0.08元

中证智能财讯 长城军工(601606)4月30日披露2023年年报。2023年,公司实现营业总收入16.15亿元,同比下降5.82%;归母净利润2674.35万元,同比下降66.56%;扣非净利润1285.47万元,同比下降65.75%;经营活动产生的现金流量净额为-7654.54万元,上年同期为-5702.72万元;报告期内,长城军工基本每股收益为0.04元,加权平均净资产收益率为1.02%。公司2023年年度利润分配预案为:拟向全体股东每10股派0.08元(含税)。
报告期内,公司合计非经常性损益为1388.88万元,其中计入当期损益的政府补助为1046.03万元。


以4月29日收盘价计算,长城军工目前市盈率(TTM)约为291.93倍,市净率(LF)约为2.99倍,市销率(TTM)约为4.84倍。

公司近年市盈率(TTM)、市净率(LF)、市销率(TTM)历史分位图如下所示:



数据统计显示,长城军工近三年营业总收入复合增长率为0.60%,在地面兵装Ⅲ行业已披露2023年数据的12家公司中排名第4。近三年净利润复合年增长率为-38.91%,排名8/12。

年报称,公司为控股型公司,主营业务均通过子公司开展,分为军品业务与民品业务两部分,以军品业务为主。民品业务主要包括预应力锚固系列、高铁和城市轨道减振器等零部件(铸件)、汽车空调压缩机等汽车零部件系列、塑料制品系列等产品的研发、生产和销售。
分产品来看,2023年公司主营业务中,装备制造收入11.20亿元,占营业收入的69.38%。

截至2023年末,公司员工总数为3180人,人均创收50.77万元,人均创利0.84万元,人均薪酬14.71万元,较上年同期分别变化1.13%、-64.09%、11.75%。

2023年,公司毛利率为22.88%,同比上升0.59个百分点;净利率为1.56%,较上年同期下降3.11个百分点。从单季度指标来看,2023年第四季度公司毛利率为21.87%,同比下降0.55个百分点,环比下降1.48个百分点;净利率为2.44%,较上年同期下降10.32个百分点,较上一季度上升0.15个百分点。

报告期内,公司前五大客户合计销售金额8.74亿元,占总销售金额比例为57.10%,公司前五名供应商合计采购金额2.72亿元,占年度采购总额比例为46.59%。

数据显示,2023年公司加权平均净资产收益率为1.02%,较上年同期下降2.04个百分点;公司2023年投入资本回报率为0.89%,较上年同期下降1.91个百分点。

2023年,公司经营活动现金流净额为-7654.54万元,同比减少1951.82万元;筹资活动现金流净额2.43亿元,同比增加3.27亿元;投资活动现金流净额-2.51亿元,上年同期为-5647.29万元。
进一步统计发现,2023年公司自由现金流为-1.60亿元,上年同期为-0.84亿元。

2023年,公司营业收入现金比为88.03%,净现比为-286.22%。

营运能力方面,2023年,公司公司总资产周转率为0.37次,上年同期为0.41次(2022年行业平均值为0.39次,公司位居同行业6/12);固定资产周转率为1.51次,上年同期为1.54次(2022年行业平均值为2.80次,公司位居同行业10/12);公司应收账款周转率、存货周转率分别为1.15次、1.90次。

2023年,公司期间费用为3.22亿元,较上年同期增加1888.81万元;期间费用率为19.95%,较上年同期上升2.26个百分点。其中,销售费用同比下降1.83%,管理费用同比下降4.3%,研发费用同比增长20.21%,财务费用同比增长88.88%。

资产重大变化方面,截至2023年年末,公司货币资金较上年末减少25.79%,占公司总资产比重下降3.39个百分点;固定资产较上年末减少3.16%,占公司总资产比重下降2.60个百分点;在建工程较上年末增加134.68%,占公司总资产比重上升1.15个百分点;应收账款较上年末增加11.11%,占公司总资产比重上升1.04个百分点。

负债重大变化方面,截至2023年年末,公司短期借款较上年末增加76.72%,占公司总资产比重上升3.16个百分点;其他流动负债较上年末增加3417.64%,占公司总资产比重上升1.07个百分点;应付账款较上年末增加7.00%,占公司总资产比重下降0.09个百分点;应付票据较上年末减少15.98%,占公司总资产比重下降0.88个百分点。

从存货变动来看,截至2023年年末,公司存货账面价值为6.64亿元,占净资产的25.4%,较上年末增加1519.41万元。其中,存货跌价准备为4576.72万元,计提比例为6.45%。

2023年全年,公司研发投入金额为1.27亿元,同比增长6.37%;研发投入占营业收入比例为7.88%,相比上年同期上升0.90个百分点。此外,公司全年研发投入资本化率为0。


资料显示,在持续的科技投入支持下,长城军工2023年科技创新成果丰硕;全年共开展型号研制项目10项,配套研制项目27项,重点预研/竞标项目14项,定型/鉴定36个产品;专利申报60项,获得授权专利35项;软件著作权获授权4项;获得国防科技进步奖三等奖1项。
在偿债能力方面,公司2023年年末资产负债率为41.55%,相比上年末上升4.44个百分点;有息资产负债率为9.75%,相比上年末上升4.74个百分点。

2023年,公司流动比率为1.94,速动比率为1.48。

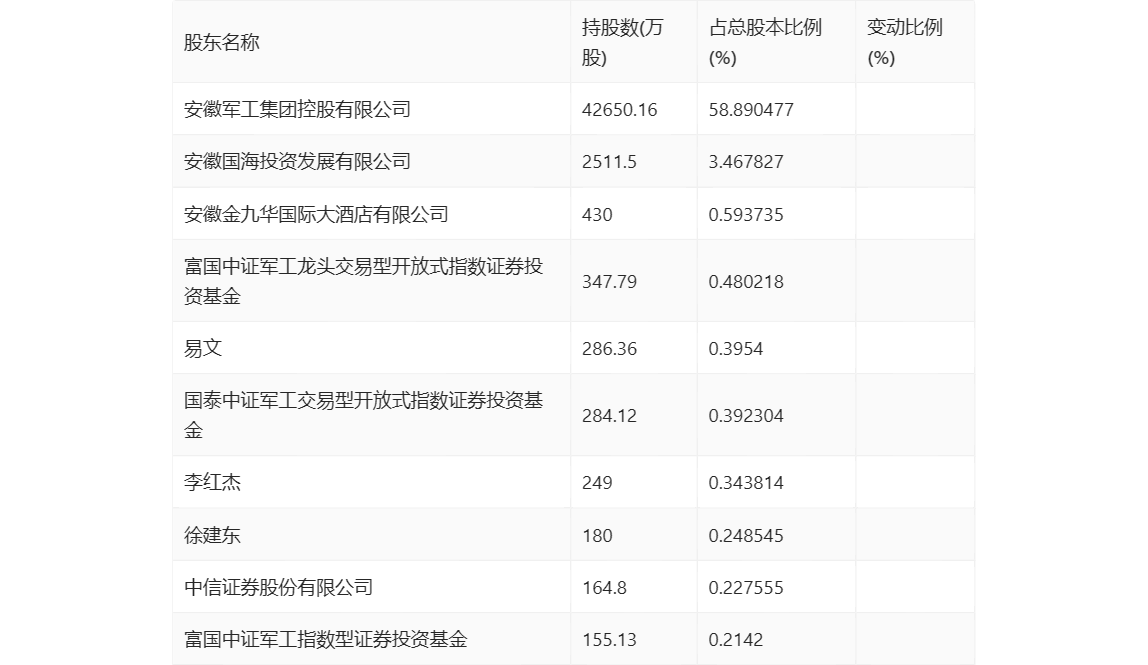
年报显示,2023年年末公司十大流通股东中,新进股东为富国中证军工龙头交易型开放式指数证券投资基金、中信证券股份有限公司,取代了三季度末的广发中证军工交易型开放式指数证券投资基金、阿拉丁时代防务科技(重庆)有限公司。在具体持股比例上,国泰中证军工交易型开放式指数证券投资基金、李红杰、富国中证军工指数型证券投资基金持股有所下降。

筹码集中度方面,截至2023年年末,公司股东总户数为5.14万户,较三季度末下降了2800户,降幅5.16%;户均持股市值由三季度末的17.00万元上升至17.15万元,增幅为0.88%。

指标注解:
市盈率
=总市值/净利润。当公司亏损时市盈率为负,此时用市盈率估值没有实际意义,往往用市净率或市销率做参考。
市净率
=总市值/净资产。市净率估值法多用于盈利波动较大而净资产相对稳定的公司。
市销率
=总市值/营业收入。市销率估值法通常用于亏损或微利的成长型公司。
文中市盈率和市销率采用TTM方式,即以截至最近一期财报(含预报)12个月的数据计算。市净率采用LF方式,即以最近一期财报数据计算。
市盈率为负时,不显示当期分位数,会导致折线图中断。