金田股份:2024年上半年净利润1.23亿元 同比下降58.35%

中证智能财讯 金田股份(601609)8月20日披露2024年半年报。2024年上半年,公司实现营业总收入578.72亿元,同比增长8.46%;归母净利润1.23亿元,同比下降58.35%;扣非净利润1.21亿元,同比下降41.05%;经营活动产生的现金流量净额为-20.56亿元,上年同期为-30.51亿元;报告期内,金田股份基本每股收益为0.08元,加权平均净资产收益率为1.51%。


以8月19日收盘价计算,金田股份目前市盈率(TTM)约为21.15倍,市净率(LF)约为0.92倍,市销率(TTM)约为0.07倍。

公司近年市盈率(TTM)、市净率(LF)、市销率(TTM)历史分位图如下所示:



根据半年报,公司第二季度实现营业总收入330.42亿元,同比增长12.60%,环比增长33.07%;归母净利润1404.88万元,同比下降93.33%,环比下降87.09%;扣非净利润985.7万元,同比下降94.84%,环比下降91.16%。

半年报称,公司主要从事有色金属加工业务,主要产品包括铜产品和稀土永磁材料两大类。
2024年上半年,公司毛利率为2.36%,同比上升0.31个百分点;净利率为0.21%,较上年同期下降0.35个百分点。从单季度指标来看,2024年第二季度公司毛利率为2.03%,同比下降0.01个百分点,环比下降0.77个百分点;净利率为0.04%,较上年同期下降0.68个百分点,较上一季度下降0.40个百分点。

数据显示,2024年上半年公司加权平均净资产收益率为1.51%,较上年同期下降2.44个百分点;公司2024年上半年投入资本回报率为1.42%,较上年同期下降1.59个百分点。

2024年上半年,公司经营活动现金流净额为-20.56亿元,同比增加9.95亿元;筹资活动现金流净额41.23亿元,同比增加4.14亿元;投资活动现金流净额-10.15亿元,上年同期为-4.89亿元。
进一步统计发现,2024年上半年公司自由现金流为-31.27亿元,上年同期为-33.93亿元。

2024年上半年,公司营业收入现金比为108.08%,净现比为-1673.31%。

营运能力方面,2024年上半年,公司公司总资产周转率为2.38次,上年同期为2.52次(2023年上半年行业平均值为0.91次,公司位居同行业1/15);固定资产周转率为10.44次,上年同期为10.14次(2023年上半年行业平均值为5.75次,公司位居同行业3/15);公司应收账款周转率、存货周转率分别为7.94次、9.88次。

2024年上半年,公司期间费用为11.19亿元,较上年同期增加3.59亿元;期间费用率为1.93%,较上年同期上升0.51个百分点。其中,销售费用同比增长10.76%,管理费用同比增长4.5%,研发费用同比增长12.15%,财务费用同比增长346.04%。
资料显示,财务费用的变动主要因为公司本期汇兑损失增加。

资产重大变化方面,截至2024年上半年末,公司货币资金较上年末增加286.70%,占公司总资产比重上升3.84个百分点;固定资产较上年末增加4.40%,占公司总资产比重下降3.67个百分点;应收账款较上年末增加30.97%,占公司总资产比重上升2.00个百分点;预付款项较上年末增加51.68%,占公司总资产比重上升1.57个百分点。

负债重大变化方面,截至2024年上半年末,公司长期借款较上年末增加100.06%,占公司总资产比重上升8.08个百分点,主要系铜价上涨,资金需求增加;短期借款较上年末增加35.68%,占公司总资产比重上升1.50个百分点,主要系铜价上涨,资金需求增加;一年内到期的非流动负债较上年末增加71.44%,占公司总资产比重上升1.84个百分点;应付票据较上年末增加34.02%,占公司总资产比重上升0.42个百分点。

从存货变动来看,截至2024年上半年末,公司存货账面价值为62.81亿元,占净资产的77.18%,较上年末增加11.21亿元。其中,存货跌价准备为3785.83万元,计提比例为0.6%。

在偿债能力方面,公司2024年上半年末资产负债率为68.72%,相比上年末上升7.58个百分点;有息资产负债率为52.81%,相比上年末上升9.34个百分点。

2024年上半年,公司流动比率为2.11,速动比率为1.44。

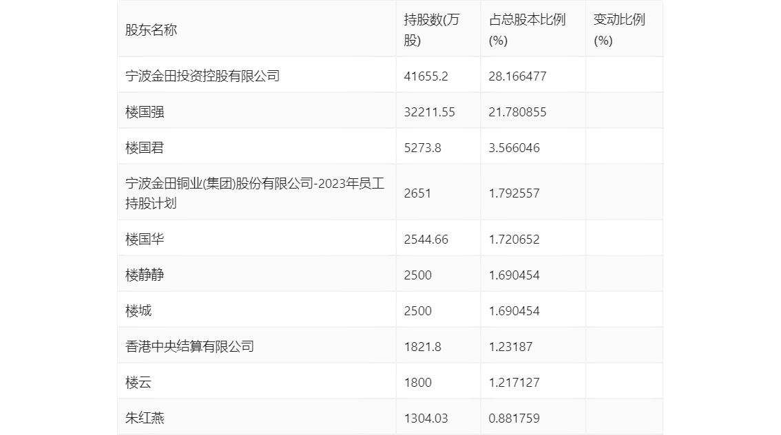
半年报显示,2024年上半年末公司十大流通股东中,持股最多的为宁波金田投资控股有限公司,占比28.17%。十大流通股东名单相比2024年一季报维持不变。在具体持股比例上,楼国君、香港中央结算有限公司持股有所上升,宁波金田投资控股有限公司、楼国强、宁波金田铜业(集团)股份有限公司-2023年员工持股计划、楼国华、楼静静、楼城持股有所下降。

筹码集中度方面,截至2024年上半年末,公司股东总户数为4.88万户,较一季度末下降了1697户,降幅3.36%;户均持股市值由一季度末的18.01万元下降至17.15万元,降幅为4.78%。

指标注解:
市盈率
=总市值/净利润。当公司亏损时市盈率为负,此时用市盈率估值没有实际意义,往往用市净率或市销率做参考。
市净率
=总市值/净资产。市净率估值法多用于盈利波动较大而净资产相对稳定的公司。
市销率
=总市值/营业收入。市销率估值法通常用于亏损或微利的成长型公司。
文中市盈率和市销率采用TTM方式,即以截至最近一期财报(含预报)12个月的数据计算。市净率采用LF方式,即以最近一期财报数据计算。
市盈率为负时,不显示当期分位数,会导致折线图中断。