平煤股份:2023年净利同比下降30.25% 拟10派9.9元

中证智能财讯 平煤股份(601666)3月19日披露2023年年报。2023年,公司实现营业总收入315.61亿元,同比下降12.44%;归母净利润40.03亿元,同比下降30.25%;扣非净利润39.77亿元,同比下降30.94%;经营活动产生的现金流量净额为61.10亿元,同比下降44.04%;报告期内,平煤股份基本每股收益为1.7292元,加权平均净资产收益率为14.18%。公司2023年年度利润分配预案为:拟向全体股东每10股派9.9元(含税)。



以3月18日收盘价计算,平煤股份目前市盈率(TTM)约为6.99倍,市净率(LF)约为1.05倍,市销率(TTM)约为0.89倍。

公司近年市盈率(TTM)、市净率(LF)、市销率(TTM)历史分位图如下所示:



数据统计显示,平煤股份近三年营业总收入复合增长率为12.11%,近三年净利润复合年增长率为42.35%。

年报称,公司主营业务为煤炭开采、洗选加工和销售。
分产品来看,2023年公司主营业务中,冶炼精煤收入233.65亿元,同比下降10.05%,占营业收入的74.03%;混煤收入61.32亿元,同比下降15.19%,占营业收入的19.43%;材料销售收入2.86亿元,同比下降36.21%,占营业收入的0.91%。

截至2023年末,公司员工总数为44886人,人均创收70.31万元,人均创利8.92万元,人均薪酬21.20万元,较上年同期分别变化4.63%、-16.66%、21.95%。

2023年,公司毛利率为31.45%,同比下降2.93个百分点;净利率为13.47%,较上年同期下降3.72个百分点。从单季度指标来看,2023年第四季度公司毛利率为32.98%,同比下降1.75个百分点,环比上升1.51个百分点;净利率为10.71%,较上年同期下降3.39个百分点,较上一季度下降2.57个百分点。



数据显示,2023年公司加权平均净资产收益率为14.18%,较上年同期下降15.03个百分点;公司2023年投入资本回报率为11.03%,较上年同期下降7.63个百分点。

2023年,公司经营活动现金流净额为61.10亿元,同比下降44.04%;筹资活动现金流净额9.34亿元,同比减少13.33亿元;投资活动现金流净额-48.07亿元,上年同期为-104.63亿元。
进一步统计发现,2023年公司自由现金流为9.67亿元,相比上年同期下降26.66%。

2023年,公司营业收入现金比为109.52%,净现比为152.66%。

营运能力方面,2023年,公司公司总资产周转率为0.42次,上年同期为0.52次(2022年行业平均值为0.54次,公司位居同行业7/12);固定资产周转率为0.86次,上年同期为1.08次(2022年行业平均值为1.57次,公司位居同行业11/12);公司应收账款周转率、存货周转率分别为10.94次、48.65次。

2023年,公司期间费用为33.19亿元,较上年同期增加2.92亿元;期间费用率为10.51%,较上年同期上升2.11个百分点。其中,销售费用同比下降1.34%,管理费用同比增长2.97%,研发费用同比增长7.57%,财务费用同比增长18.34%。

资产重大变化方面,截至2023年年末,公司固定资产较上年末增加14.53%,占公司总资产比重上升4.39个百分点;在建工程较上年末减少22.73%,占公司总资产比重下降1.78个百分点;使用权资产较上年末减少38.14%,占公司总资产比重下降1.35个百分点;应收款项融资较上年末减少80.55%,占公司总资产比重下降1.24个百分点。

负债重大变化方面,截至2023年年末,公司应付债券较上年末增加358.98%,占公司总资产比重上升7.91个百分点;一年内到期的非流动负债较上年末减少55.45%,占公司总资产比重下降5.70个百分点;长期借款较上年末增加272.67%,占公司总资产比重上升4.70个百分点;长期应付款合计较上年末减少44.25%,占公司总资产比重下降3.37个百分点。

从存货变动来看,截至2023年年末,公司存货账面价值为4.6亿元,占净资产的1.72%,较上年末增加3071.03万元。其中,存货跌价准备为1858.42万元,计提比例为3.88%。

2023年全年,公司研发投入金额为7.10亿元,同比增长7.57%;研发投入占营业收入比例为2.25%,相比上年同期上升0.42个百分点。此外,公司全年研发投入资本化率为0。


在偿债能力方面,公司2023年年末资产负债率为62.53%,相比上年末下降4.00个百分点;有息资产负债率为28.11%,相比上年末上升4.24个百分点。

2023年,公司流动比率为0.66,速动比率为0.64。


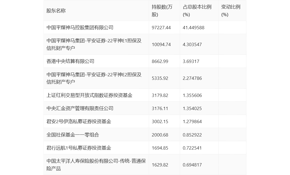
筹码集中度方面,截至2023年年末,公司股东总户数为5.82万户,较三季度末下降了1.1万户,降幅15.93%;户均持股市值由三季度末的34.46万元上升至46.60万元,增幅为35.23%。

指标注解:
市盈率
=总市值/净利润。当公司亏损时市盈率为负,此时用市盈率估值没有实际意义,往往用市净率或市销率做参考。
市净率
=总市值/净资产。市净率估值法多用于盈利波动较大而净资产相对稳定的公司。
市销率
=总市值/营业收入。市销率估值法通常用于亏损或微利的成长型公司。
文中市盈率和市销率采用TTM方式,即以截至最近一期财报(含预报)12个月的数据计算。市净率采用LF方式,即以最近一期财报数据计算。
市盈率为负时,不显示当期分位数,会导致折线图中断。