中国卫通:2024年第一季度净利润1.08亿元 同比下降23.47%

中证智能财讯 中国卫通(601698)4月30日披露2024年一季报。2024年第一季度,公司实现营业总收入5.44亿元,同比下降8.74%;归母净利润1.08亿元,同比下降23.47%;扣非净利润1.07亿元,同比下降17.62%;经营活动产生的现金流量净额为8032.59万元,上年同期为-5890.83万元;报告期内,中国卫通基本每股收益为0.0256元,加权平均净资产收益率为0.71%。



2024年第一季度,公司毛利率为29.20%,同比下降7.36个百分点;净利率为25.51%,较上年同期下降3.80个百分点。

数据显示,2024年第一季度公司加权平均净资产收益率为0.71%,较上年同期下降0.22个百分点;公司2024年第一季度投入资本回报率为0.37%,较上年同期下降0.35个百分点。

2024年第一季度,公司经营活动现金流净额为8032.59万元,同比增加1.39亿元,主要系本期支付转发器款项减少导致本报告期经营活动产生的现金流量净额同比增加所致;筹资活动现金流净额483.13万元,同比增加19.48万元;投资活动现金流净额-1.15亿元,上年同期为-10.86亿元。

2024年第一季度,公司营业收入现金比为57.52%,净现比为74.23%。

资产重大变化方面,截至2024年一季度末,公司固定资产较上年末减少2.85%,占公司总资产比重下降1.17个百分点;应收账款较上年末增加63.99%,占公司总资产比重上升1.09个百分点;货币资金较上年末增加0.47%,占公司总资产比重上升0.17个百分点;无形资产较上年末减少1.16%,占公司总资产比重下降0.08个百分点。

负债重大变化方面,截至2024年一季度末,公司合同负债较上年末减少6.20%,占公司总资产比重下降0.26个百分点;应付职工薪酬较上年末减少39.27%,占公司总资产比重下降0.15个百分点;递延所得税负债较上年末减少2.66%,占公司总资产比重下降0.10个百分点;长期递延收益较上年末减少3.11%,占公司总资产比重下降0.05个百分点。

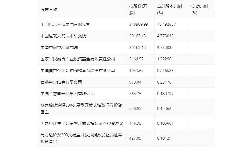
一季报显示,2024年一季度末公司十大流通股东中,新进股东为香港中央结算有限公司、易方达沪深300交易型开放式指数发起式证券投资基金,取代了上年末的李廷玉、全国社保基金一零四组合。在具体持股比例上,华泰柏瑞沪深300交易型开放式指数证券投资基金持股有所上升,国泰中证军工交易型开放式指数证券投资基金持股有所下降。

筹码集中度方面,截至2024年一季度末,公司股东总户数为13.17万户,较上年末下降了7250户,降幅5.22%;户均持股市值由上年末的52.63万元下降至51.32万元,降幅为2.49%。
