中国卫通:2024年上半年净利润4.06亿元 同比增长52.68%

中证智能财讯 中国卫通(601698)8月31日披露2024年半年度报告。2024年上半年,公司实现营业收入11.48亿元,同比下降6.27%;归母净利润4.06亿元,同比增长52.68%;扣非净利润2.09亿元,同比下降10.16%;经营活动产生的现金流量净额为3.02亿元,同比下降14.25%;报告期内,中国卫通基本每股收益为0.0962元,加权平均净资产收益率为2.64%。


以8月30日收盘价计算,中国卫通目前市盈率(TTM)约为129.58倍,市净率(LF)约为4.06倍,市销率(TTM)约为24.96倍。

公司近年市盈率(TTM)、市净率(LF)、市销率(TTM)历史分位图如下所示:



根据半年报,公司第二季度实现营业总收入6.03亿元,同比下降3.92%,环比增长10.85%;归母净利润2.98亿元,同比增长138.95%,环比增长175.61%;扣非净利润1.02亿元,同比下降0.66%,环比下降5.28%。

半年报显示,公司运营管理高轨通信广播卫星,能够为客户提供卫星资源运营服务、网络系统集成与服务、综合信息服务等相关应用服务,主要业务流程覆盖卫星网络申报、协调及维护;卫星项目建设;卫星测控管理;业务运行管理等。
2024年上半年,公司毛利率为29.73%,同比下降5.25个百分点;净利率为40.28%,较上年同期上升12.47个百分点。从单季度指标来看,2024年第二季度公司毛利率为30.21%,同比下降3.27个百分点,环比上升1.01个百分点;净利率为53.61%,较上年同期上升27.23个百分点,较上一季度上升28.10个百分点。

数据显示,2024年上半年公司加权平均净资产收益率为2.64%,较上年同期增长0.90个百分点;公司2024年上半年投入资本回报率为1.80%,较上年同期增长0.39个百分点。

2024年上半年,公司经营活动现金流净额为3.02亿元,同比下降14.25%;筹资活动现金流净额-1.67亿元,同比增加8302.93万元;投资活动现金流净额-5.35亿元,上年同期为-14.89亿元。
进一步统计发现,2024年上半年公司自由现金流为-9.54亿元,上年同期为-4.31亿元。

2024年上半年,公司营业收入现金比为74.96%,净现比为74.26%。

营运能力方面,2024年上半年,公司总资产周转率为0.05次,上年同期为0.05次(2023年上半年行业平均值为0.15次,公司位居同行业128/140);固定资产周转率为0.12次,上年同期为0.14次(2023年上半年行业平均值为1.37次,公司位居同行业136/140);公司应收账款周转率、存货周转率分别为1.92次、69.57次。

2024年上半年,公司期间费用为1551.59万元,较上年同期减少5431.55万元;期间费用率为1.35%,较上年同期下降4.35个百分点。其中,销售费用同比增长14.53%,管理费用同比下降8.55%,研发费用同比下降3.57%,财务费用由去年同期的-6614.21万元变为-1.15亿元。
资料显示,财务费用的变动主要因为银行存款利息增加。

资产重大变化方面,截至2024年上半年末,公司其他流动资产较上年末增加660.13%,占公司总资产比重上升6.38个百分点;货币资金较上年末减少15.44%,占公司总资产比重下降5.42个百分点;在建工程较上年末减少48.59%,占公司总资产比重下降3.33个百分点;应收账款较上年末增加112.35%,占公司总资产比重上升1.84个百分点。

负债重大变化方面,截至2024年上半年末,公司应付账款较上年末增加32.91%,占公司总资产比重上升0.83个百分点;合同负债较上年末减少4.24%,占公司总资产比重下降0.25个百分点;应付职工薪酬较上年末减少37.98%,占公司总资产比重下降0.15个百分点;递延所得税负债较上年末减少2.90%,占公司总资产比重下降0.18个百分点。

从存货变动来看,截至2024年上半年末,公司存货账面价值为845.28万元,占净资产的0.05%。根据财报,公司本期没有计提存货跌价准备。

在偿债能力方面,公司2024年上半年末资产负债率为14.16%,相比上年末上升0.11个百分点;有息资产负债率为0.23%,相比上年末上升0.04个百分点。

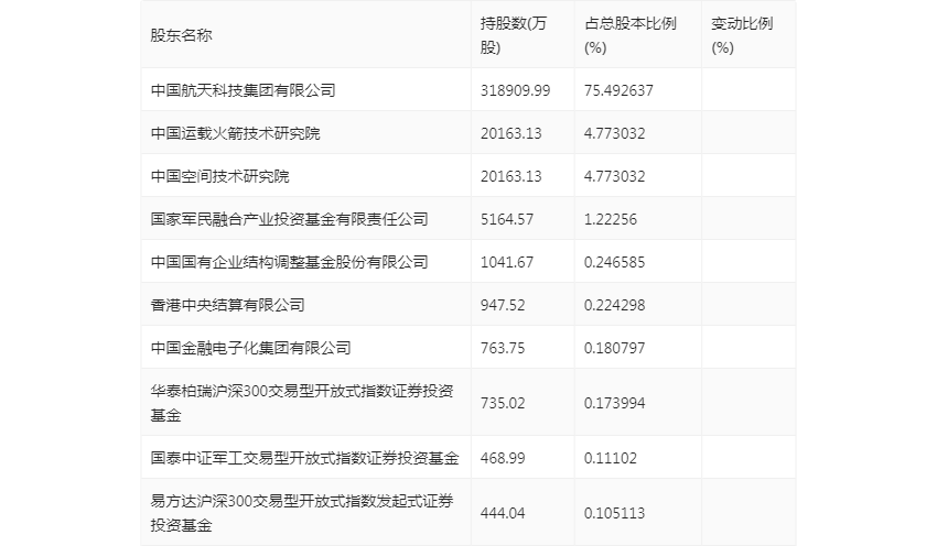
半年报显示,2024年上半年末公司十大流通股东中,持股最多的为中国航天科技集团有限公司,占比75.49%。十大流通股东名单相比2024年一季报维持不变。在具体持股比例上,华泰柏瑞沪深300交易型开放式指数证券投资基金、国泰中证军工交易型开放式指数证券投资基金、易方达沪深300交易型开放式指数发起式证券投资基金持股有所上升,香港中央结算有限公司持股有所下降。

筹码集中度方面,截至2024年上半年末,公司股东总户数为12.55万户,较一季度末下降了6243户,降幅4.74%;户均持股市值由一季度末的51.32万元下降至47.44万元,降幅为7.56%。

指标注解:
市盈率
=总市值/净利润。当公司亏损时市盈率为负,此时用市盈率估值没有实际意义,往往用市净率或市销率做参考。
市净率
=总市值/净资产。市净率估值法多用于盈利波动较大而净资产相对稳定的公司。
市销率
=总市值/营业收入。市销率估值法通常用于亏损或微利的成长型公司。
文中市盈率和市销率采用TTM方式,即以截至最近一期财报(含预报)12个月的数据计算。市净率采用LF方式,即以最近一期财报数据计算。
市盈率为负时,不显示当期分位数,会导致折线图中断。