华峰铝业:2024年第一季度净利润2.54亿元 同比增长49.54%

中证智能财讯 华峰铝业(601702)4月26日披露2024年一季报。2024年第一季度,公司实现营业总收入23.62亿元,同比增长18.28%;归母净利润2.54亿元,同比增长49.54%;扣非净利润2.50亿元,同比增长51.45%;经营活动产生的现金流量净额为2.55亿元,同比下降32.23%;报告期内,华峰铝业基本每股收益为0.25元,加权平均净资产收益率为5.45%。

2024年第一季度,公司毛利率为16.22%,同比下降0.87个百分点;净利率为10.74%,较上年同期上升2.25个百分点。

2024年第一季度,公司经营活动现金流净额为2.55亿元,同比下降32.23%;筹资活动现金流净额-5227.62万元,同比减少4630.16万元;投资活动现金流净额-5361.25万元,上年同期为-2816.73万元。

2024年第一季度,公司营业收入现金比为111.33%,净现比为100.47%。

资产重大变化方面,截至2024年一季度末,公司应收款项融资较上年末增加21.39%,占公司总资产比重上升2.82个百分点;应收账款较上年末减少7.02%,占公司总资产比重下降2.11个百分点;货币资金较上年末增加34.03%,占公司总资产比重上升1.78个百分点;存货较上年末减少1.96%,占公司总资产比重下降1.41个百分点。

负债重大变化方面,截至2024年一季度末,公司应付账款较上年末增加23.15%,占公司总资产比重上升0.60个百分点;短期借款较上年末减少3.39%,占公司总资产比重下降1.01个百分点;应付职工薪酬较上年末减少46.44%,占公司总资产比重下降0.56个百分点;合同负债较上年末减少35.50%,占公司总资产比重下降0.17个百分点。

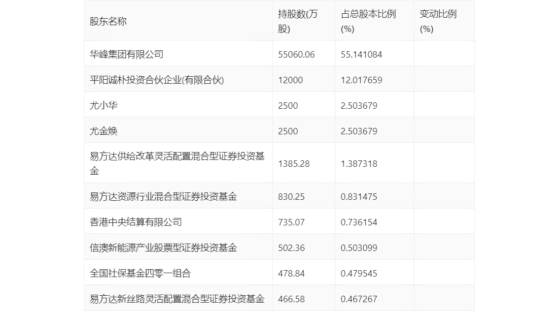
一季报显示,2024年一季度末公司十大流通股东中,新进股东为华峰集团有限公司、平阳诚朴投资合伙企业(有限合伙)、全国社保基金四零一组合,取代了上年末的易方达丰华债券型证券投资基金、泰康人寿保险有限责任公司-投连-安盈回报、基本养老保险基金一六零一一组合。在具体持股比例上,易方达资源行业混合型证券投资基金、香港中央结算有限公司、易方达新丝路灵活配置混合型证券投资基金持股有所上升,易方达供给改革灵活配置混合型证券投资基金、信澳新能源产业股票型证券投资基金持股有所下降。

筹码集中度方面,截至2024年一季度末,公司股东总户数为1.69万户,较上年末下降了2001户,降幅10.61%;户均持股市值由上年末的95.08万元上升至111.17万元,增幅为16.92%。
