龙虎榜丨迪尔化工今日涨20.35%,光大证券金华宾虹路营业部买入674.87万元

查股网  2024-01-19 20:17  光大证券(601788)个股分析

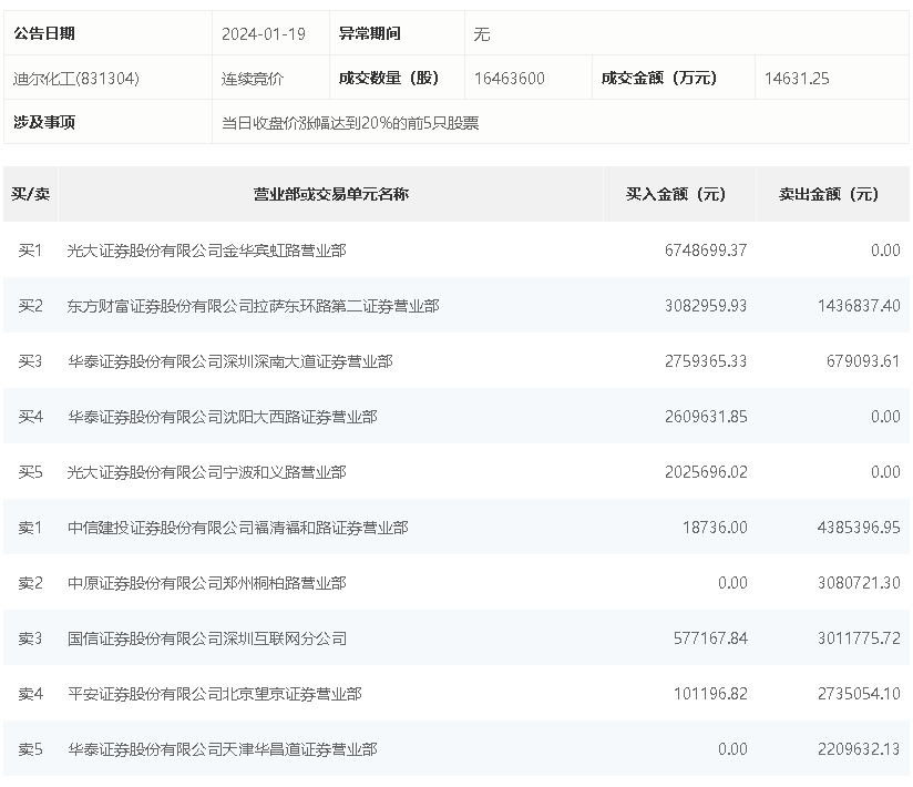
1月19日,迪尔化工今日涨20.35%,全天换手率达25.57%,振幅达28.78%。龙虎榜数据显示,营业部席位合计净买入38.49万元。其中,光大证券金华宾虹路营业部、东方财富证券拉萨东环路第二证券营业部分别买入674.87万元、308.30万元;中信建投证券福清福和路证券营业部、中原证券郑州桐柏路营业部分别卖出438.54万元、308.07万元。