紫金银行:2024年第一季度净利润4.05亿元 同比增长5.40%

中证智能财讯 紫金银行(601860)4月26日披露2024年一季报。2024年第一季度,公司实现营业总收入11.98亿元,同比增长9.84%;归母净利润4.05亿元,同比增长5.40%;扣非净利润4.05亿元,同比增长6.63%;经营活动产生的现金流量净额为125.31亿元,同比下降38.32%;报告期内,紫金银行基本每股收益为0.11元,加权平均净资产收益率为2.17%。

2024年第一季度,公司经营活动现金流净额为125.31亿元,同比下降38.32%;筹资活动现金流净额-53.84亿元,同比减少74.44亿元;投资活动现金流净额-29.13亿元,上年同期为-122.33亿元。
2024年第一季度,公司营业收入现金比为1834.95%,净现比为3091.25%。

资产重大变化方面,截至2024年一季度末,公司发放贷款和垫款较上年末增加3.37%,占公司总资产比重下降1.49个百分点;买入返售金融资产较上年末增加75.74%,占公司总资产比重上升1.25个百分点;其他债权投资合计较上年末增加13.55%,占公司总资产比重上升1.16个百分点;债权投资合计较上年末减少17.13%,占公司总资产比重下降1.07个百分点。

负债重大变化方面,截至2024年一季度末,公司吸收存款及同业存款较上年末增加6.72%,占公司总资产比重上升0.85个百分点;应付债券较上年末减少48.98%,占公司总资产比重下降2.25个百分点;向中央银行借款较上年末增加2.04%,占公司总资产比重下降0.11个百分点;应交税费较上年末减少23.87%,占公司总资产比重下降0.03个百分点。

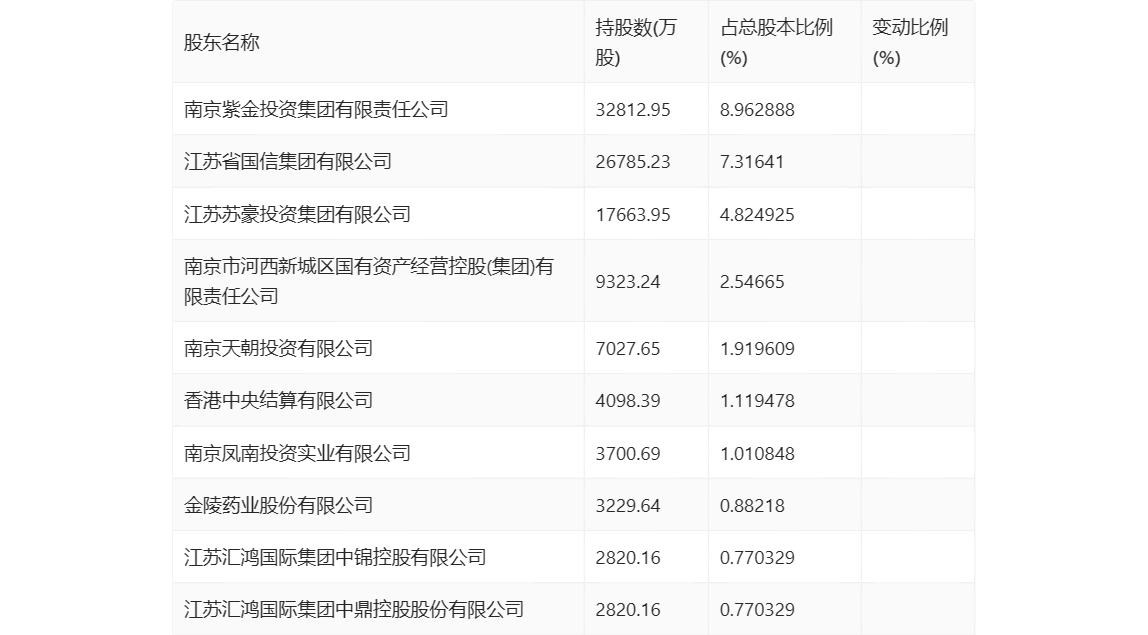
一季报显示,2024年一季度末公司十大流通股东中,持股最多的为南京紫金投资集团有限责任公司,占比8.96%。十大流通股东名单相比2023年年报维持不变。在具体持股比例上,香港中央结算有限公司持股有所上升,南京紫金投资集团有限责任公司、江苏省国信集团有限公司、江苏苏豪投资集团有限公司、南京市河西新城区国有资产经营控股(集团)有限责任公司、江苏汇鸿国际集团中锦控股有限公司、江苏汇鸿国际集团中鼎控股股份有限公司持股有所下降。

筹码集中度方面,截至2024年一季度末,公司股东总户数为7.02万户,较上年末下降了2270户,降幅3.13%;户均持股市值由上年末的12.77万元上升至13.29万元,增幅为4.07%。
