江河集团:2024年第一季度净利润1.82亿元 同比增长11.10%

中证智能财讯 江河集团(601886)4月30日披露2024年一季报。2024年第一季度,公司实现营业总收入40.86亿元,同比增长19.50%;归母净利润1.82亿元,同比增长11.10%;扣非净利润1.77亿元,同比增长21.87%;经营活动产生的现金流量净额为-9.68亿元,上年同期为-10.50亿元;报告期内,江河集团基本每股收益为0.16元,加权平均净资产收益率为2.54%。


2024年第一季度,公司毛利率为15.84%,同比下降0.90个百分点;净利率为5.18%,较上年同期下降0.19个百分点。

数据显示,2024年第一季度公司加权平均净资产收益率为2.54%,较上年同期下降0.01个百分点;公司2024年第一季度投入资本回报率为2.02%,较上年同期增长0.03个百分点。

2024年第一季度,公司经营活动现金流净额为-9.68亿元,同比增加8201.53万元;筹资活动现金流净额-4.07亿元,同比减少3.78亿元;投资活动现金流净额-1.20亿元,上年同期为2655.44万元。

2024年第一季度,公司营业收入现金比为132.63%,净现比为-532.59%。

资产重大变化方面,截至2024年一季度末,公司货币资金较上年末减少32.10%,占公司总资产比重下降4.47个百分点;合同资产较上年末增加1.57%,占公司总资产比重上升1.09个百分点;存货较上年末增加17.79%,占公司总资产比重上升0.95个百分点;固定资产较上年末增加1.37%,占公司总资产比重上升0.39个百分点。

负债重大变化方面,截至2024年一季度末,公司应付账款较上年末减少20.65%,占公司总资产比重下降4.89个百分点;应付职工薪酬较上年末减少56.38%,占公司总资产比重下降0.84个百分点;合同负债较上年末增加14.95%,占公司总资产比重上升0.94个百分点;长期借款较上年末增加29.88%,占公司总资产比重上升0.75个百分点。

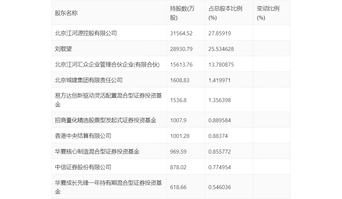
一季报显示,2024年一季度末公司十大流通股东中,新进股东为招商量化精选股票型发起式证券投资基金、香港中央结算有限公司,取代了上年末的华夏基金管理有限公司-社保基金四二二组合、中国国际金融股份有限公司。在具体持股比例上,易方达创新驱动灵活配置混合型证券投资基金、中信证券股份有限公司、华夏成长先锋一年持有期混合型证券投资基金持股有所下降。

筹码集中度方面,截至2024年一季度末,公司股东总户数为2.04万户,较上年末增长了640户,增幅3.24%;户均持股市值由上年末的38.22万元下降至35.35万元,降幅为7.51%。
