和邦生物:2024年第一季度净利润2979.26万元 同比下降92.49%

中证智能财讯 和邦生物(603077)4月20日披露2024年一季报。2024年第一季度,公司实现营业总收入19.99亿元,同比下降16.51%;归母净利润2979.26万元,同比下降92.49%;扣非净利润2808.48万元,同比下降92.92%;经营活动产生的现金流量净额为-4.33亿元,上年同期为3.47亿元;报告期内,和邦生物基本每股收益为0.0036元,加权平均净资产收益率为0.15%。



2024年第一季度,公司毛利率为10.11%,同比下降15.99个百分点;净利率为1.36%,较上年同期下降14.57个百分点。

数据显示,2024年第一季度公司加权平均净资产收益率为0.15%,较上年同期下降1.90个百分点;公司2024年第一季度投入资本回报率为0.14%,较上年同期下降1.63个百分点。

2024年第一季度,公司经营活动现金流净额为-4.33亿元,同比减少7.81亿元,主要系本期销售收入减少,导致收到的货款减少所致;筹资活动现金流净额4.19亿元,同比增加6.12亿元;投资活动现金流净额-2.40亿元,上年同期为-1.65亿元。

2024年第一季度,公司营业收入现金比为70.08%,净现比为-1454.64%。

资产重大变化方面,截至2024年一季度末,公司固定资产较上年末减少2.43%,占公司总资产比重下降2.28个百分点;货币资金较上年末减少9.12%,占公司总资产比重下降1.63个百分点;存货较上年末增加13.84%,占公司总资产比重上升1.61个百分点;在建工程较上年末增加27.17%,占公司总资产比重上升1.04个百分点。

负债重大变化方面,截至2024年一季度末,公司短期借款较上年末增加70.69%,占公司总资产比重上升3.01个百分点;应付票据较上年末增加101.65%,占公司总资产比重上升1.26个百分点;长期借款较上年末增加50.81%,占公司总资产比重上升0.78个百分点;应付账款较上年末增加12.43%,占公司总资产比重上升0.48个百分点。

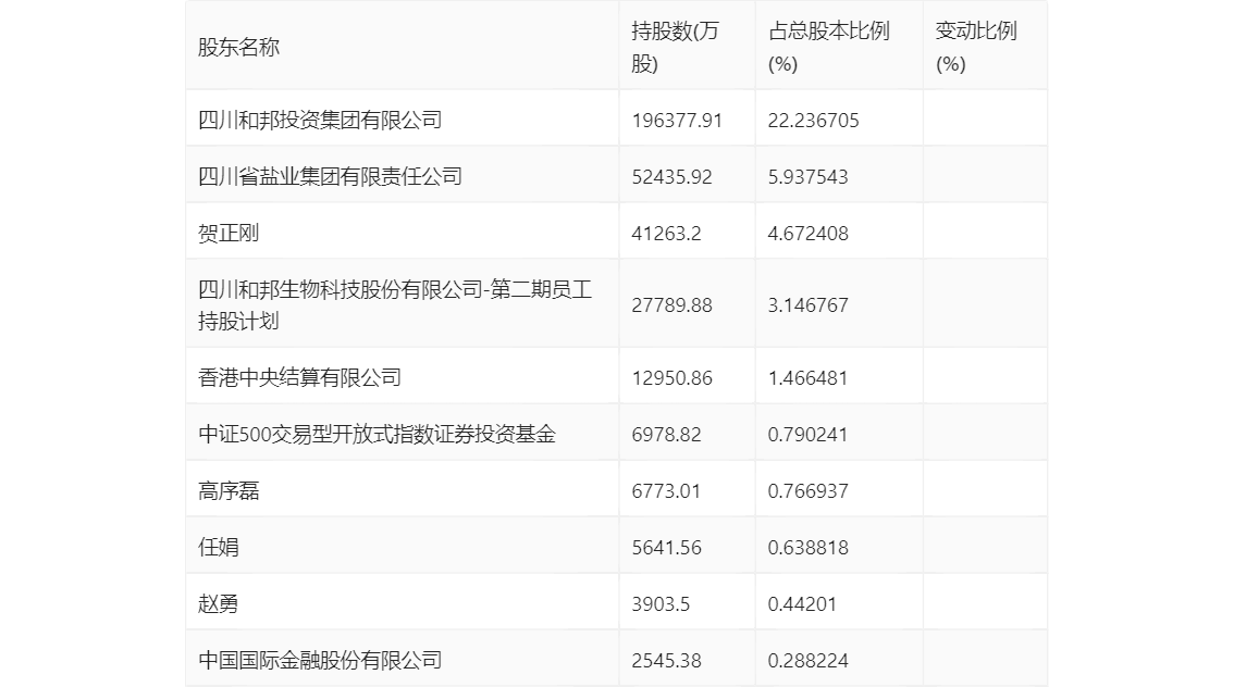
一季报显示,2024年一季度末公司十大流通股东中,新进股东为中国国际金融股份有限公司,取代了上年末的王灿。在具体持股比例上,中证500交易型开放式指数证券投资基金、任娟持股有所上升,四川和邦生物科技股份有限公司-第二期员工持股计划、香港中央结算有限公司持股有所下降。

筹码集中度方面,截至2024年一季度末,公司股东总户数为22.15万户,较上年末下降了1.5万户,降幅6.33%;户均持股市值由上年末的8.81万元上升至9.17万元,增幅为4.09%。
