春风动力:2024年上半年净利润7.09亿元 同比增长28.49%

中证智能财讯 春风动力(603129)8月16日披露2024年半年度报告。2024年上半年,公司实现营业收入75.29亿元,同比增长15.73%;归母净利润7.09亿元,同比增长28.49%;扣非净利润6.87亿元,同比增长32.05%;经营活动产生的现金流量净额为14.92亿元,同比增长91.19%;报告期内,春风动力基本每股收益为4.7元,加权平均净资产收益率为13.18%。
公告称,公司营业收入变化主要由于公司规模扩大,销售收入增加。


以8月15日收盘价计算,春风动力目前市盈率(TTM)约为17.55倍,市净率(LF)约为3.76倍,市销率(TTM)约为1.56倍。

公司近年市盈率(TTM)、市净率(LF)、市销率(TTM)历史分位图如下所示:



根据半年报,公司第二季度实现营业总收入44.68亿元,同比增长23.20%,环比增长45.96%;归母净利润4.31亿元,同比增长26.35%,环比增长55.40%。

资料显示,公司主营业务为全地形车、摩托车及休闲运动装备等产品的研发、生产和销售。
2024年上半年,公司毛利率为31.51%,同比下降1.07个百分点;净利率为9.85%,较上年同期上升0.98个百分点。从单季度指标来看,2024年第二季度公司毛利率为30.82%,同比下降0.52个百分点,环比下降1.70个百分点;净利率为10.09%,较上年同期上升0.17个百分点,较上一季度上升0.58个百分点。

盈利能力方面, 2024年半年度公司加权平均净资产收益率为13.18%,同比上升1.04个百分点。公司2024年上半年投入资本回报率为12.16%,较上年同期上升1.04个百分点。
2024年上半年,公司经营活动现金流净额为14.92亿元,同比增长91.19%;筹资活动现金流净额-2.20亿元,同比减少3954.26万元;投资活动现金流净额-2.04亿元,上年同期为-3.0亿元。
进一步统计发现,2024年上半年公司自由现金流为12.67亿元,相比上年同期增长902.77%。

2024年上半年,公司营业收入现金比为100.69%,净现比为210.52%。

营运能力方面,2024年上半年,公司公司总资产周转率为0.66次,上年同期为0.67次(2023年上半年行业平均值为0.41次,公司位居同行业1/17);固定资产周转率为5.29次,上年同期为6.67次(2023年上半年行业平均值为3.54次,公司位居同行业3/17);公司应收账款周转率、存货周转率分别为5.51次、2.97次。

2024年上半年,公司期间费用为14.14亿元,较上年同期增加4389.66万元;但期间费用率为18.78%,较上年同期下降2.28个百分点。其中,销售费用同比下降11.24%,管理费用同比增长27.91%,研发费用同比增长21.37%,财务费用由去年同期的-1.18亿元变为-1.43亿元。
资料显示,销售费用的变动主要因为公司促销费用减少;管理费用的变动主要因为公司规模扩大相应人工薪酬等支出增长;财务费用的变动主要因为汇率波动形成的汇兑收益增加;研发费用的变动主要因为研发项目投入增加。

资产重大变化方面,截至2024年上半年末,公司应收账款较上年末增加51.51%,占公司总资产比重上升2.81个百分点;货币资金较上年末增加24.74%,占公司总资产比重上升1.86个百分点;存货较上年末增加8.60%,占公司总资产比重下降1.49个百分点;其他权益工具投资合计较上年末减少42.74%,占公司总资产比重下降1.32个百分点。

负债重大变化方面,截至2024年上半年末,公司应付账款较上年末增加51.84%,占公司总资产比重上升5.85个百分点;应付票据较上年末增加12.42%,占公司总资产比重下降1.12个百分点;合同负债较上年末增加104.13%,占公司总资产比重上升1.09个百分点;预计负债较上年末增加14.91%,占公司总资产比重下降0.05个百分点。

从存货变动来看,截至2024年上半年末,公司存货账面价值为18.05亿元,占净资产的33.2%,较上年末增加1.43亿元。其中,存货跌价准备为1.01亿元,计提比例为5.32%。

在偿债能力方面,公司2024年上半年末资产负债率为54.60%,相比上年末上升4.75个百分点;有息资产负债率为0.15%,相比上年末下降0.05个百分点。

2024年上半年,公司流动比率为1.50,速动比率为1.22。

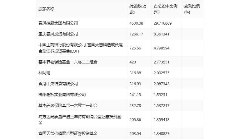
半年报显示,2024年上半年末公司十大流通股东中,新进股东为基本养老保险基金一六零二一组合、易方达高质量严选三年持有期混合型证券投资基金,取代了一季度末的全国社保基金四零六组合、基本养老保险基金一六零三二组合。在具体持股比例上,中国工商银行股份有限公司-富国天惠精选成长混合型证券投资基金(LOF)、基本养老保险基金一六零二二组合持股有所上升,春风控股集团有限公司、重庆春风投资有限公司、林阿锡、香港中央结算有限公司、杭州老板实业集团有限公司、富国天益价值混合型证券投资基金持股有所下降。

筹码集中度方面,截至2024年上半年末,公司股东总户数为9115户,较一季度末下降了449户,降幅4.69%;户均持股市值由一季度末的188.62万元上升至236.48万元,增幅为25.37%。

指标注解:
市盈率
=总市值/净利润。当公司亏损时市盈率为负,此时用市盈率估值没有实际意义,往往用市净率或市销率做参考。
市净率
=总市值/净资产。市净率估值法多用于盈利波动较大而净资产相对稳定的公司。
市销率
=总市值/营业收入。市销率估值法通常用于亏损或微利的成长型公司。
文中市盈率和市销率采用TTM方式,即以截至最近一期财报(含预报)12个月的数据计算。市净率采用LF方式,即以最近一期财报数据计算。
市盈率为负时,不显示当期分位数,会导致折线图中断。