福达股份:2024年第一季度净利润3159.57万元 同比增长3.61%

中证智能财讯 福达股份(603166)4月30日披露2024年一季报。2024年第一季度,公司实现营业总收入3.21亿元,同比增长1.70%;归母净利润3159.57万元,同比增长3.61%;扣非净利润3090.09万元,同比增长19.23%;经营活动产生的现金流量净额为4527.37万元,同比下降26.23%;报告期内,福达股份基本每股收益为0.05元,加权平均净资产收益率为1.35%。


2024年第一季度,公司毛利率为24.57%,同比上升1.50个百分点;净利率为9.86%,较上年同期上升0.18个百分点。

数据显示,2024年第一季度公司加权平均净资产收益率为1.35%,较上年同期增长0.08个百分点;公司2024年第一季度投入资本回报率为1.25%,较上年同期增长0.08个百分点。

2024年第一季度,公司经营活动现金流净额为4527.37万元,同比下降26.23%;筹资活动现金流净额5642.15万元,同比减少1100.49万元;投资活动现金流净额-4829.93万元,上年同期为-9903.94万元。

2024年第一季度,公司营业收入现金比为95.02%,净现比为143.29%。

资产重大变化方面,截至2024年一季度末,公司固定资产较上年末减少2.89%,占公司总资产比重下降3.49个百分点;应收款项融资较上年末增加62.88%,占公司总资产比重上升2.90个百分点;货币资金较上年末增加46.88%,占公司总资产比重上升1.72个百分点;在建工程较上年末增加20.43%,占公司总资产比重上升1.33个百分点。

负债重大变化方面,截至2024年一季度末,公司应付票据较上年末增加68.65%,占公司总资产比重上升3.29个百分点;短期借款较上年末增加11.43%,占公司总资产比重上升0.84个百分点;应付账款较上年末增加40.74%,占公司总资产比重上升1.31个百分点;其他应付款(含利息和股利)较上年末减少98.35%,占公司总资产比重下降1.49个百分点。

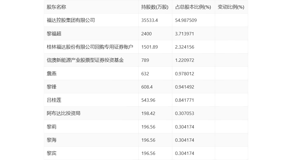
一季报显示,2024年一季度末公司十大流通股东中,新进股东为阿布达比投资局,取代了上年末的申万宏源证券有限公司、信澳星奕混合型证券投资基金。在具体持股比例上,桂林福达股份有限公司回购专用证券账户持股有所上升。

筹码集中度方面,截至2024年一季度末,公司股东总户数为2.84万户,较上年末下降了2202户,降幅7.21%;户均持股市值由上年末的14.61万元下降至13.56万元,降幅为7.19%。
