保隆科技:2023年净利润同比增长76.92% 拟10派6.4元

中证智能财讯 保隆科技(603197)4月27日披露2023年年报。2023年,公司实现营业总收入58.97亿元,同比增长23.44%;归母净利润3.79亿元,同比增长76.92%;扣非净利润2.94亿元,同比增长251.91%;经营活动产生的现金流量净额为4.38亿元,同比增长150.07%;报告期内,保隆科技基本每股收益为1.82元,加权平均净资产收益率为14.08%。公司2023年年度利润分配预案为:拟向全体股东每10股派6.4元(含税)。


以4月26日收盘价计算,保隆科技目前市盈率(TTM)约为24.17倍,市净率(LF)约为3.1倍,市销率(TTM)约为1.55倍。

公司近年市盈率(TTM)、市净率(LF)、市销率(TTM)历史分位图如下所示:



数据统计显示,保隆科技近三年营业总收入复合增长率为20.97%,在其他汽车零部件行业已披露2023年数据的45家公司中排名第12。近三年净利润复合年增长率为27.41%,排名13/45。

年报显示,公司致力于汽车智能化和轻量化产品的研发、制造和销售。
分产品来看,2023年公司主营业务中,TPMS及配件和工具收入19.11亿元,同比增长29.44%,占营业收入的32.40%;汽车金属管件收入14.21亿元,同比增长6.09%,占营业收入的24.10%;气门嘴及配件收入7.84亿元,同比增长9.64%,占营业收入的13.30%。

截至2023年末,公司员工总数为6678人,人均创收88.31万元,人均创利5.67万元,人均薪酬17.87万元,较上年同期分别变化-0.61%、42.45%、2.79%。

2023年,公司毛利率为27.40%,同比下降0.60个百分点;净利率为6.47%,较上年同期上升1.71个百分点。从单季度指标来看,2023年第四季度公司毛利率为26.18%,同比下降2.41个百分点,环比下降1.97个百分点;净利率为2.45%,较上年同期下降3.89个百分点,较上一季度下降7.26个百分点。

分产品看,TPMS及配件和工具、汽车金属管件、气门嘴及配件2023年毛利率分别为24.31%、29.21%、43.11%。

报告期内,公司前五大客户合计销售金额19.01亿元,占总销售金额比例为32.88%,公司前五名供应商合计采购金额7.34亿元,占年度采购总额比例为20.52%。

数据显示,2023年公司加权平均净资产收益率为14.08%,较上年同期增长4.97个百分点;公司2023年投入资本回报率为7.48%,较上年同期增长1.47个百分点。

2023年,公司经营活动现金流净额为4.38亿元,同比增长150.07%;筹资活动现金流净额6.32亿元,同比增加2.98亿元;投资活动现金流净额-8.84亿元,上年同期为-8.03亿元。
进一步统计发现,2023年公司自由现金流为-8.23亿元,上年同期为-4.76亿元。

2023年,公司营业收入现金比为106.03%,净现比为115.56%。

营运能力方面,2023年,公司公司总资产周转率为0.78次,上年同期为0.81次(2022年行业平均值为0.60次,公司位居同行业10/50);固定资产周转率为3.57次,上年同期为3.78次(2022年行业平均值为2.82次,公司位居同行业15/50);公司应收账款周转率、存货周转率分别为4.42次、2.65次。

2023年,公司期间费用为11.61亿元,较上年同期增加1.65亿元;但期间费用率为19.69%,较上年同期下降1.16个百分点。其中,销售费用同比下降3.92%,管理费用同比增长14.39%,研发费用同比增长43.71%,财务费用同比下降15.9%。

资产重大变化方面,截至2023年年末,公司存货较上年末增加11.02%,占公司总资产比重下降3.09个百分点;固定资产较上年末增加38.72%,占公司总资产比重上升1.74个百分点;应收账款较上年末增加20.12%,占公司总资产比重下降1.14个百分点;应收款项融资较上年末减少66.89%,占公司总资产比重下降1.08个百分点。

负债重大变化方面,截至2023年年末,公司长期借款较上年末增加97.69%,占公司总资产比重上升8.58个百分点;应付票据较上年末增加61.65%,占公司总资产比重上升0.89个百分点;短期借款较上年末增加13.03%,占公司总资产比重下降1.45个百分点;合同负债较上年末增加46.38%,占公司总资产比重上升0.23个百分点。

从存货变动来看,截至2023年年末,公司存货账面价值为16.99亿元,占净资产的57.51%,较上年末增加1.69亿元。其中,存货跌价准备为6167.46万元,计提比例为3.5%。

2023年全年,公司研发投入金额为4.70亿元,同比增长43.71%;研发投入占营业收入比例为7.96%,相比上年同期上升1.12个百分点。此外,公司全年研发投入资本化率为0。


在偿债能力方面,公司2023年年末资产负债率为61.64%,相比上年末上升3.76个百分点;有息资产负债率为38.56%,相比上年末上升6.57个百分点。

2023年,公司流动比率为1.56,速动比率为1.01。

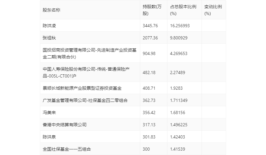
年报显示,2023年年末公司十大流通股东中,新进股东为中国人寿保险股份有限公司-传统-普通保险产品-005L-CT001沪、香港中央结算有限公司,取代了三季度末的宋瑾、华夏新能源车龙头混合型发起式证券投资基金。在具体持股比例上,全国社保基金一一五组合持股有所上升,陈洪凌、张祖秋、国投招商投资管理有限公司-先进制造产业投资基金二期(有限合伙)、景顺长城新能源产业股票型证券投资基金、广发基金管理有限公司-社保基金四二零组合、冯美来、陈洪泉持股有所下降。

筹码集中度方面,截至2023年年末,公司股东总户数为1.19万户,较三季度末增长了2443户,增幅25.85%;户均持股市值由三季度末的139.57万元下降至100.52万元,降幅为27.98%。

指标注解:
市盈率
=总市值/净利润。当公司亏损时市盈率为负,此时用市盈率估值没有实际意义,往往用市净率或市销率做参考。
市净率
=总市值/净资产。市净率估值法多用于盈利波动较大而净资产相对稳定的公司。
市销率
=总市值/营业收入。市销率估值法通常用于亏损或微利的成长型公司。
文中市盈率和市销率采用TTM方式,即以截至最近一期财报(含预报)12个月的数据计算。市净率采用LF方式,即以最近一期财报数据计算。
市盈率为负时,不显示当期分位数,会导致折线图中断。