恒通股份:2024年上半年净利润7155.59万元 同比增长7.74%

中证智能财讯 恒通股份(603223)8月29日披露2024年半年度报告。2024年上半年,公司实现营业收入12.09亿元,同比下降36.51%;归母净利润7155.59万元,同比增长7.74%;扣非净利润7043.95万元,同比增长9.50%;经营活动产生的现金流量净额为-4903.53万元,上年同期为2.38亿元;报告期内,恒通股份基本每股收益为0.1元,加权平均净资产收益率为1.91%。



以8月28日收盘价计算,恒通股份目前市盈率(TTM)约为49.79倍,市净率(LF)约为1.64倍,市销率(TTM)约为2.0倍。

公司近年市盈率(TTM)、市净率(LF)、市销率(TTM)历史分位图如下所示:



根据半年报,公司第二季度实现营业总收入5.46亿元,同比下降46.46%,环比下降17.59%;归母净利润4349.26万元,同比增长14.73%,环比增长54.98%;扣非净利润4200.84万元,同比增长11.01%,环比增长47.76%。

2024年上半年,公司毛利率为9.66%,同比上升4.37个百分点;净利率为6.01%,较上年同期上升2.58个百分点。从单季度指标来看,2024年第二季度公司毛利率为11.48%,同比上升5.98个百分点,环比上升3.32个百分点;净利率为8.22%,较上年同期上升4.47个百分点,较上一季度上升4.03个百分点。

数据显示,2024年上半年公司加权平均净资产收益率为1.91%,较上年同期增长0.12个百分点;公司2024年上半年投入资本回报率为1.53%,较上年同期增长0.19个百分点。

2024年上半年,公司经营活动现金流净额为-4903.53万元,同比减少2.87亿元;筹资活动现金流净额3.99亿元,同比增加5.60亿元;投资活动现金流净额-3.96亿元,上年同期为-1.59亿元。
进一步统计发现,2024年上半年公司自由现金流为-6.15亿元,上年同期为0.96亿元。

2024年上半年,公司营业收入现金比为159.72%,净现比为-68.53%。

营运能力方面,2024年上半年,公司总资产周转率为0.23次,上年同期为0.42次(2023年上半年行业平均值为0.50次,公司位居同行业20/31);固定资产周转率为2.80次,上年同期为4.39次(2023年上半年行业平均值为2.07次,公司位居同行业5/31);公司应收账款周转率、存货周转率分别为9.01次、10.74次。

2024年上半年,公司期间费用为3666.60万元,较上年同期增加283.47万元;期间费用率为3.03%,较上年同期上升1.25个百分点。其中,销售费用同比下降36.81%,管理费用同比增长1.49%,财务费用由去年同期的-897.17万元变为-477.33万元。
资料显示,销售费用的变动主要因为公司根据业务情况,优化销售人员结构,导致薪酬总额支出减少;财务费用的变动主要因为银行存款利息收入减少。

资产重大变化方面,截至2024年上半年末,公司存货较上年末增加2731.97%,占公司总资产比重上升3.60个百分点;货币资金较上年末减少5.05%,占公司总资产比重下降3.33个百分点;在建工程较上年末增加8.89%,占公司总资产比重上升1.63个百分点;其他应收款(含利息和股利)较上年末减少86.07%,占公司总资产比重下降1.05个百分点。

负债重大变化方面,截至2024年上半年末,公司长期借款较上年末增加68.89%,占公司总资产比重上升5.01个百分点;应付票据较上年末减少89.40%,占公司总资产比重下降4.09个百分点;一年内到期的非流动负债较上年末增加546.04%,占公司总资产比重上升2.83个百分点;合同负债较上年末增加243.72%,占公司总资产比重上升0.87个百分点。

从存货变动来看,截至2024年上半年末,公司存货账面价值为1.96亿元,占净资产的5.27%。根据财报,公司本期没有计提存货跌价准备。

在偿债能力方面,公司2024年上半年末资产负债率为27.90%,相比上年末上升3.35个百分点;有息资产负债率为16.82%,相比上年末上升8.35个百分点。

2024年上半年,公司流动比率为3.25,速动比率为2.99。

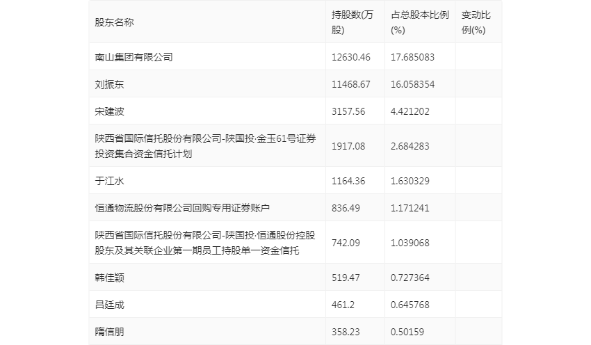
半年报显示,2024年上半年末公司十大流通股东中,持股最多的为南山集团有限公司,占比17.69%。十大流通股东名单相比2024年一季报维持不变。在具体持股比例上,恒通物流股份有限公司回购专用证券账户持股有所上升。

值得注意的是,根据半年报数据,恒通股份45.37%股份处于质押状态。其中,第一大股东南山集团有限公司质押2.16亿股公司股份,占其全部持股的75.12%。
筹码集中度方面,截至2024年上半年末,公司股东总户数为1.25万户,较一季度末下降了688户,降幅5.20%;户均持股市值由一季度末的44.99万元下降至37.15万元,降幅为17.43%。

指标注解:
市盈率
=总市值/净利润。当公司亏损时市盈率为负,此时用市盈率估值没有实际意义,往往用市净率或市销率做参考。
市净率
=总市值/净资产。市净率估值法多用于盈利波动较大而净资产相对稳定的公司。
市销率
=总市值/营业收入。市销率估值法通常用于亏损或微利的成长型公司。
文中市盈率和市销率采用TTM方式,即以截至最近一期财报(含预报)12个月的数据计算。市净率采用LF方式,即以最近一期财报数据计算。
市盈率为负时,不显示当期分位数,会导致折线图中断。