新凤鸣:11月14日高管杨剑飞、许纪忠减持股份合计10万股
证券之星消息,根据11月17日市场公开信息、上市公司公告及交易所披露数据整理,新凤鸣(603225)最新董监高及相关人员股份变动情况:2025年11月14日公司董事杨剑飞、董事许纪忠共减持公司股份10.0万股,占公司总股本为0.0066%。变动期间公司股价下跌1.32%,11月14日当日收盘报17.97元。
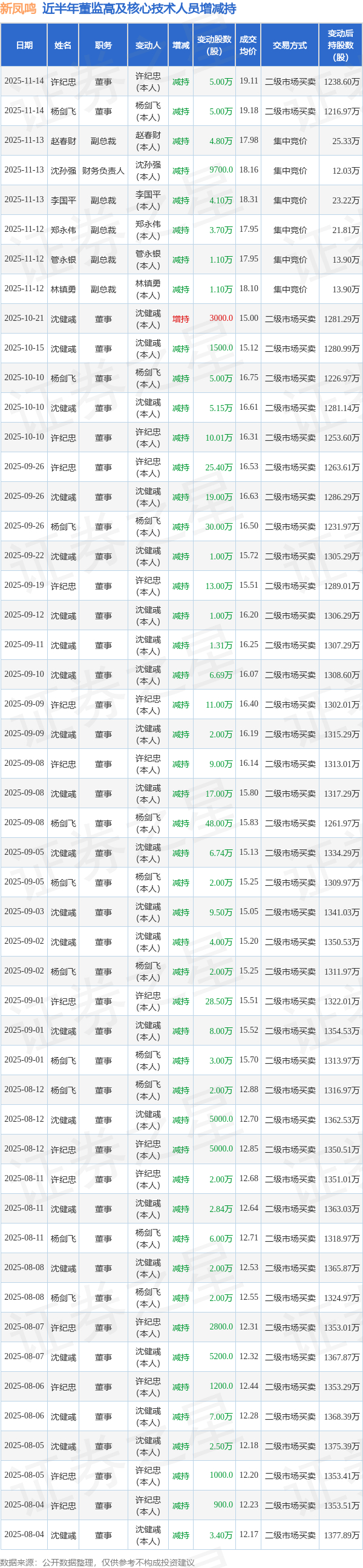
新凤鸣近半年内的董监高及核心技术人员增减持详情如下:

新凤鸣的高管列表及最新持股情况如下:

融资融券数据显示该股近5日融资净流入5290.98万,融资余额增加;融券净流出5.64万,融券余额减少。
该股最近90天内共有21家机构给出评级,买入评级19家,增持评级2家;过去90天内机构目标均价为19.8。
以上内容为证券之星据公开信息整理,由AI算法生成(网信算备310104345710301240019号),不构成投资建议。