雪峰科技:2024年上半年净利润3.92亿元 同比下降21.80%

中证智能财讯 雪峰科技(603227)8月16日披露2024年半年报。2024年上半年,公司实现营业总收入28.19亿元,同比下降23.32%;归母净利润3.92亿元,同比下降21.80%;扣非净利润3.78亿元,同比下降22.01%;经营活动产生的现金流量净额为4.55亿元,同比下降8.71%;报告期内,雪峰科技基本每股收益为0.366元,加权平均净资产收益率为8.35%。



以8月15日收盘价计算,雪峰科技目前市盈率(TTM)约为10.34倍,市净率(LF)约为1.66倍,市销率(TTM)约为1.25倍。

公司近年市盈率(TTM)、市净率(LF)、市销率(TTM)历史分位图如下所示:



根据半年报,公司第二季度实现营业总收入16.39亿元,同比下降11.55%,环比增长38.91%;归母净利润2.67亿元,同比下降1.98%,环比增长112.80%;扣非净利润2.59亿元,同比下降1.66%,环比增长118.65%。

半年报称,雪峰科技锚定新疆建设全国能源资源战略保障基地定位,紧扣转型升级、高质量发展首要任务,积极融入“八大产业集群”建设,现已形成“民爆+能化”双主业协同发展的产业体系。
2024年上半年,公司毛利率为25.32%,同比上升2.32个百分点;净利率为15.16%,较上年同期上升0.33个百分点。从单季度指标来看,2024年第二季度公司毛利率为28.30%,同比上升3.89个百分点,环比上升7.11个百分点;净利率为18.04%,较上年同期上升1.86个百分点,较上一季度上升6.89个百分点。

数据显示,2024年上半年公司加权平均净资产收益率为8.35%,较上年同期下降5.05个百分点;公司2024年上半年投入资本回报率为6.95%,较上年同期下降2.86个百分点。

2024年上半年,公司经营活动现金流净额为4.55亿元,同比下降8.71%;筹资活动现金流净额-3366.36万元,同比增加2.06亿元;投资活动现金流净额-3795.67万元,上年同期为-5.56亿元。
进一步统计发现,2024年上半年公司自由现金流为6.77亿元,上年同期为-2.28亿元。

2024年上半年,公司营业收入现金比为92.57%,净现比为116.03%。

营运能力方面,2024年上半年,公司公司总资产周转率为0.36次,上年同期为0.45次(2023年上半年行业平均值为0.28次,公司位居同行业2/13);公司应收账款周转率、存货周转率分别为3.26次、4.50次。

2024年上半年,公司期间费用为1.76亿元,较上年同期减少3017.24万元;但期间费用率为6.25%,较上年同期上升0.64个百分点。其中,销售费用同比下降3.82%,管理费用同比下降9.27%,研发费用同比下降57.51%,财务费用同比下降59.57%。

资产重大变化方面,截至2024年上半年末,公司货币资金较上年末增加42.07%,占公司总资产比重上升4.09个百分点;固定资产较上年末减少4.15%,占公司总资产比重下降4.01个百分点;预付款项较上年末增加94.70%,占公司总资产比重上升1.94个百分点;存货较上年末减少14.63%,占公司总资产比重下降1.24个百分点。

负债重大变化方面,截至2024年上半年末,公司其他应付款(含利息和股利)较上年末增加112.91%,占公司总资产比重上升2.91个百分点;长期借款较上年末增加55.44%,占公司总资产比重上升2.10个百分点;短期借款较上年末减少42.04%,占公司总资产比重下降2.43个百分点;应付账款较上年末减少19.35%,占公司总资产比重下降2.09个百分点。

从存货变动来看,截至2024年上半年末,公司存货账面价值为4.31亿元,占净资产的9.31%,较上年末减少7380.35万元。其中,存货跌价准备为1284.3万元,计提比例为2.9%。

在偿债能力方面,公司2024年上半年末资产负债率为32.10%,相比上年末上升1.91个百分点;有息资产负债率为10.36%,相比上年末下降0.08个百分点。

2024年上半年,公司流动比率为2.02,速动比率为1.78。

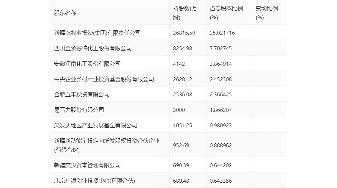
半年报显示,2024年上半年末公司十大流通股东中,新进股东为北京广银创业投资中心(有限合伙),取代了一季度末的成都国衡壹号投资合伙企业(有限合伙)。在具体持股比例上,新疆交投资本管理有限公司持股有所下降。

筹码集中度方面,截至2024年上半年末,公司股东总户数为3.53万户,较一季度末增长了87户,增幅0.25%;户均持股市值由一季度末的21.90万元下降至18.81万元,降幅为14.11%。

指标注解:
市盈率
=总市值/净利润。当公司亏损时市盈率为负,此时用市盈率估值没有实际意义,往往用市净率或市销率做参考。
市净率
=总市值/净资产。市净率估值法多用于盈利波动较大而净资产相对稳定的公司。
市销率
=总市值/营业收入。市销率估值法通常用于亏损或微利的成长型公司。
文中市盈率和市销率采用TTM方式,即以截至最近一期财报(含预报)12个月的数据计算。市净率采用LF方式,即以最近一期财报数据计算。
市盈率为负时,不显示当期分位数,会导致折线图中断。