旭升集团:2024年第一季度净利润1.57亿元 同比下降18.49%

中证智能财讯 旭升集团(603305)4月26日披露2024年一季报。2024年第一季度,公司实现营业总收入11.39亿元,同比下降2.91%;归母净利润1.57亿元,同比下降18.49%;扣非净利润1.42亿元,同比下降23.08%;经营活动产生的现金流量净额为4.06亿元,同比增长14.93%;报告期内,旭升集团基本每股收益为0.17元,加权平均净资产收益率为2.49%。



2024年第一季度,公司毛利率为23.81%,同比下降1.97个百分点;净利率为13.77%,较上年同期下降2.65个百分点。

数据显示,2024年第一季度公司加权平均净资产收益率为2.49%,较上年同期下降0.89个百分点;公司2024年第一季度投入资本回报率为1.78%,较上年同期下降0.80个百分点。

2024年第一季度,公司经营活动现金流净额为4.06亿元,同比增长14.93%;筹资活动现金流净额4.59亿元,同比增加4.94亿元;投资活动现金流净额-2.55亿元,上年同期为-8.35亿元。

2024年第一季度,公司营业收入现金比为114.78%,净现比为258.19%。

资产重大变化方面,截至2024年一季度末,公司货币资金较上年末增加28.50%,占公司总资产比重上升4.19个百分点;固定资产较上年末减少2.36%,占公司总资产比重下降3.38个百分点;应收账款较上年末减少4.47%,占公司总资产比重下降1.36个百分点;在建工程较上年末增加28.02%,占公司总资产比重上升1.24个百分点。

负债重大变化方面,截至2024年一季度末,公司长期借款较上年末增加60.97%,占公司总资产比重上升3.23个百分点;应付票据较上年末增加34.89%,占公司总资产比重上升1.23个百分点;应付账款较上年末减少11.40%,占公司总资产比重下降1.54个百分点;短期借款较上年末增加10.37%,占公司总资产比重上升0.15个百分点。

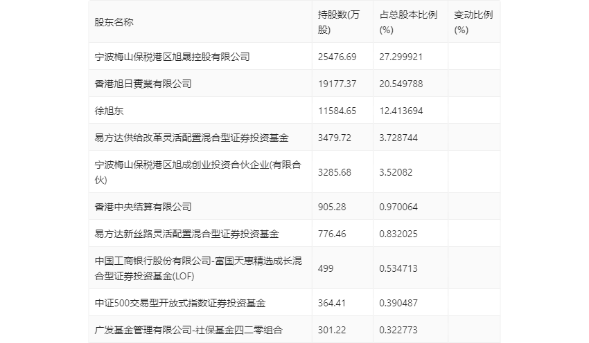
一季报显示,2024年一季度末公司十大流通股东中,新进股东为中证500交易型开放式指数证券投资基金、广发基金管理有限公司-社保基金四二零组合,取代了上年末的全国社保基金六零一组合、易方达竞争优势企业混合型证券投资基金。在具体持股比例上,易方达供给改革灵活配置混合型证券投资基金、香港中央结算有限公司、易方达新丝路灵活配置混合型证券投资基金持股有所上升,中国工商银行股份有限公司-富国天惠精选成长混合型证券投资基金(LOF)持股有所下降。

筹码集中度方面,截至2024年一季度末,公司股东总户数为4.4万户,较上年末增长了7951户,增幅22.05%;户均持股市值由上年末的51.06万元下降至29.69万元,降幅为41.85%。
