梦百合:2024年上半年净利润5259.19万元 同比下降46.12%

中证智能财讯 梦百合(603313)8月31日披露2024年半年度报告。2024年上半年,公司实现营业收入39.47亿元,同比增长9.61%;归母净利润5259.19万元,同比下降46.12%;扣非净利润5601.96万元,同比下降40.52%;经营活动产生的现金流量净额为2.12亿元,同比下降50.32%;报告期内,梦百合基本每股收益为0.09元,加权平均净资产收益率为1.35%。
公告称,公司营业收入变化主要由于本期海外销售额上涨。


以8月30日收盘价计算,梦百合目前市盈率(TTM)约为57.08倍,市净率(LF)约为0.9倍,市销率(TTM)约为0.42倍。

公司近年市盈率(TTM)、市净率(LF)、市销率(TTM)历史分位图如下所示:



根据半年报,公司第二季度实现营业总收入21.28亿元,同比增长11.88%,环比增长16.97%;归母净利润3276.91万元,同比下降59.47%,环比增长65.31%;扣非净利润3704.39万元,同比下降58.36%,环比增长95.22%。

分产品来看,2024年上半年公司主营业务中,床垫收入20.12亿元,占营业收入的50.98%;沙发收入5.45亿元,同比增长1.24%,占营业收入的13.80%;电动床收入3.07亿元,同比增长6.34%,占营业收入的7.79%。

2024年上半年,公司毛利率为38.13%,同比上升2.08个百分点;净利率为1.43%,较上年同期下降1.47个百分点。从单季度指标来看,2024年第二季度公司毛利率为37.78%,同比上升1.69个百分点,环比下降0.74个百分点;净利率为1.65%,较上年同期下降2.82个百分点,较上一季度上升0.47个百分点。

分产品看,床垫、沙发、电动床2024年上半年毛利率分别为37.05%、39.94%、36.55%。

数据显示,2024年上半年公司加权平均净资产收益率为1.35%,较上年同期下降1.83个百分点;公司2024年上半年投入资本回报率为1.38%,较上年同期下降1.48个百分点。

2024年上半年,公司经营活动现金流净额为2.12亿元,同比下降50.32%;筹资活动现金流净额-2.46亿元,同比增加1.21亿元;投资活动现金流净额-2.89亿元,上年同期为-1.46亿元。
进一步统计发现,2024年上半年公司自由现金流为9444.92万元,相比上年同期下降67.05%。

2024年上半年,公司营业收入现金比为104.94%,净现比为403.07%。

2024年上半年,公司期间费用为13.43亿元,较上年同期增加1.88亿元;期间费用率为34.04%,较上年同期上升1.95个百分点。其中,销售费用同比增长22.54%,管理费用同比下降4.41%,研发费用同比增长20.15%,财务费用同比增长24.0%。
资料显示,销售费用的变动主要因为销售渠道费用增加;管理费用的变动主要因为管理效率提升;财务费用的变动主要因为汇兑收益减少;研发费用的变动主要因为研发直接材料投入增加。

资产重大变化方面,截至2024年上半年末,公司货币资金较上年末减少22.59%,占公司总资产比重下降2.48个百分点;应收账款较上年末增加8.29%,占公司总资产比重上升1.23个百分点;交易性金融资产较上年末增加462.64%,占公司总资产比重上升0.98个百分点;固定资产较上年末减少3.73%,占公司总资产比重下降0.96个百分点。

负债重大变化方面,截至2024年上半年末,公司短期借款较上年末增加6.13%,占公司总资产比重上升0.95个百分点;长期借款较上年末减少62.43%,占公司总资产比重下降0.75个百分点;租赁负债较上年末减少2.53%,占公司总资产比重下降0.40个百分点;其他应付款(含利息和股利)较上年末增加23.78%,占公司总资产比重上升0.17个百分点。

从存货变动来看,截至2024年上半年末,公司存货账面价值为17.57亿元,占净资产的45.03%,较上年末增加3553.7万元。其中,存货跌价准备为1100.13万元,计提比例为0.62%。

在偿债能力方面,公司2024年上半年末资产负债率为60.99%,相比上年末上升0.21个百分点;有息资产负债率为25.72%,相比上年末上升0.20个百分点。

2024年上半年,公司流动比率为1.06,速动比率为0.67。

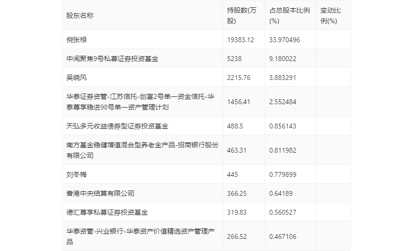
半年报显示,2024年上半年末的公司十大流通股东中,新进股东为华泰尊享稳进98号单一资产管理计划、德汇尊享私募证券投资基金、华泰资管-兴业银行-华泰资产价值精选资产管理产品,取代了一季度末的中信证券股份有限公司、宋锦程、张家港博华企业管理有限公司。在具体持股比例上,倪张根、南方基金稳健增值混合型养老金产品持股有所上升,天弘多元收益债券型证券投资基金、香港中央结算有限公司持股有所下降。

值得注意的是,根据半年报数据,梦百合17.66%股份处于质押状态。其中,第一大股东倪张根质押8785.00万股公司股份,占其全部持股的45.32%。
筹码集中度方面,截至2024年上半年末,公司股东总户数为2.47万户,较一季度末增长了2481户,增幅11.18%;户均持股市值由一季度末的23.40万元下降至17.28万元,降幅为26.15%。

指标注解:
市盈率
=总市值/净利润。当公司亏损时市盈率为负,此时用市盈率估值没有实际意义,往往用市净率或市销率做参考。
市净率
=总市值/净资产。市净率估值法多用于盈利波动较大而净资产相对稳定的公司。
市销率
=总市值/营业收入。市销率估值法通常用于亏损或微利的成长型公司。
文中市盈率和市销率采用TTM方式,即以截至最近一期财报(含预报)12个月的数据计算。市净率采用LF方式,即以最近一期财报数据计算。
市盈率为负时,不显示当期分位数,会导致折线图中断。