盛剑科技:2024年上半年净利润6625.07万元 同比下降14.02%

中证智能财讯 盛剑科技(603324)8月28日披露2024年半年度报告。2024年上半年,公司实现营业收入6.64亿元,同比下降14.08%;归母净利润6625.07万元,同比下降14.02%;扣非净利润6293.04万元,同比下降15.12%;经营活动产生的现金流量净额为-2.57亿元,上年同期为-2.74亿元;报告期内,盛剑科技基本每股收益为0.54元,加权平均净资产收益率为4.09%。



以8月27日收盘价计算,盛剑科技目前市盈率(TTM)约为22.39倍,市净率(LF)约为2.14倍,市销率(TTM)约为2.02倍。

公司近年市盈率(TTM)、市净率(LF)、市销率(TTM)历史分位图如下所示:



根据半年报,公司第二季度实现营业总收入3.98亿元,同比下降21.66%,环比增长50.33%;归母净利润4723.49万元,同比下降19.00%,环比增长148.40%;扣非净利润4399.13万元,同比下降22.27%,环比增长132.28%。

资料显示,公司专注于为高科技制造产业提供绿色科技服务,以“致力于美好环境”为企业使命,持续秉持“行业延伸+产品延伸”的发展方针,锚定“为科技企业提供绿色服务,为绿色企业提供科技产品”的战略定位,已形成“绿色厂务系统解决方案、半导体附属装备及核心零部件、电子化学品材料”主营业务三驾马车。
2024年上半年,公司毛利率为29.38%,同比上升1.13个百分点;净利率为10.01%,较上年同期上升0.03个百分点。从单季度指标来看,2024年第二季度公司毛利率为28.95%,同比上升0.64个百分点,环比下降1.08个百分点;净利率为11.83%,较上年同期上升0.36个百分点,较上一季度上升4.54个百分点。

数据显示,2024年上半年公司加权平均净资产收益率为4.09%,较上年同期下降1.19个百分点;公司2024年上半年投入资本回报率为3.30%,较上年同期下降1.22个百分点。
2024年上半年,公司经营活动现金流净额为-2.57亿元,同比增加1724.40万元;筹资活动现金流净额1.99亿元,同比增加8062.99万元;投资活动现金流净额-1.50亿元,上年同期为-5871.42万元。
进一步统计发现,2024年上半年公司自由现金流为-3.09亿元,上年同期为-3.44亿元。

2024年上半年,公司营业收入现金比为90.34%,净现比为-388.26%。

营运能力方面,2024年上半年,公司公司总资产周转率为0.19次,上年同期为0.28次(2023年上半年行业平均值为0.20次,公司位居同行业7/29);固定资产周转率为1.71次,上年同期为2.23次(2023年上半年行业平均值为2.39次,公司位居同行业16/29);公司应收账款周转率、存货周转率分别为0.50次、0.61次。

2024年上半年,公司期间费用为1.12亿元,较上年同期增加661.31万元;期间费用率为16.83%,较上年同期上升3.23个百分点。其中,销售费用同比增长3.5%,管理费用同比增长11.98%,研发费用同比下降3.46%,财务费用同比增长445.58%。
资料显示,销售费用的变动主要因为本期公司加大市场开拓力度,相应展会费、广告宣传费较去年增加;管理费用的变动主要因为咨询服务费和股份支付较去年同期增加;财务费用的变动主要因为银行贷款利息费用增加。

资产重大变化方面,截至2024年上半年末,公司货币资金较上年末减少31.30%,占公司总资产比重下降6.75个百分点;存货较上年末增加35.38%,占公司总资产比重上升5.07个百分点;在建工程较上年末增加1575.69%,占公司总资产比重上升3.85个百分点;应收账款较上年末减少1.07%,占公司总资产比重下降2.82个百分点。

负债重大变化方面,截至2024年上半年末,公司长期借款较上年末增加274.43%,占公司总资产比重上升3.48个百分点;短期借款较上年末增加24.95%,占公司总资产比重上升1.70个百分点,主要系银行短期借款增加;应付账款较上年末减少6.90%,占公司总资产比重下降2.96个百分点;合同负债较上年末增加31.19%,占公司总资产比重上升0.71个百分点。

从存货变动来看,截至2024年上半年末,公司存货账面价值为8.87亿元,占净资产的54.7%,较上年末增加2.32亿元。其中,存货跌价准备为1260.86万元,计提比例为1.4%。

在偿债能力方面,公司2024年上半年末资产负债率为55.89%,相比上年末上升2.13个百分点;有息资产负债率为16.93%,相比上年末上升5.26个百分点。

2024年上半年,公司流动比率为1.53,速动比率为1.06。

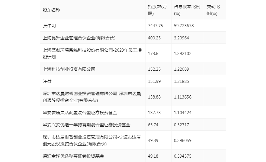
半年报显示,2024年上半年末公司十大流通股东中,新进股东为张伟明、上海昆升企业管理合伙企业(有限合伙)、汪哲,取代了一季度末的华安睿明两年定期开放灵活配置混合型证券投资基金、上海铭大实业(集团)有限公司、汇丰晋信价值先锋股票型证券投资基金。在具体持股比例上,深圳市达晨财智创业投资管理有限公司-深圳市达晨创通股权投资企业(有限合伙)、华安安康灵活配置混合型证券投资基金、华安兴安优选一年持有期混合型证券投资基金、深圳市达晨财智创业投资管理有限公司-宁波市达晨创元股权投资合伙企业(有限合伙)、德汇全球优选私募证券投资基金持股有所下降。

筹码集中度方面,截至2024年上半年末,公司股东总户数为1.56万户,较一季度末增长了2253户,增幅16.85%;户均持股市值由一季度末的22.58万元下降至21.31万元,降幅为5.62%。

指标注解:
市盈率
=总市值/净利润。当公司亏损时市盈率为负,此时用市盈率估值没有实际意义,往往用市净率或市销率做参考。
市净率
=总市值/净资产。市净率估值法多用于盈利波动较大而净资产相对稳定的公司。
市销率
=总市值/营业收入。市销率估值法通常用于亏损或微利的成长型公司。
文中市盈率和市销率采用TTM方式,即以截至最近一期财报(含预报)12个月的数据计算。市净率采用LF方式,即以最近一期财报数据计算。
市盈率为负时,不显示当期分位数,会导致折线图中断。