浙江鼎力:2023年净利润同比增长48.51% 拟10派10元

中证智能财讯 浙江鼎力(603338)4月25日披露2023年年报。2023年,公司实现营业总收入63.12亿元,同比增长15.92%;归母净利润18.67亿元,同比增长48.51%;扣非净利润18.08亿元,同比增长46.60%;经营活动产生的现金流量净额为22.27亿元,同比增长137.79%;报告期内,浙江鼎力基本每股收益为3.69元,加权平均净资产收益率为23.36%。公司2023年年度利润分配预案为:拟向全体股东每10股派10元(含税)。


以4月24日收盘价计算,浙江鼎力目前市盈率(TTM)约为17.7倍,市净率(LF)约为3.69倍,市销率(TTM)约为5.24倍。

公司近年市盈率(TTM)、市净率(LF)、市销率(TTM)历史分位图如下所示:



数据统计显示,浙江鼎力近三年营业总收入复合增长率为28.76%,在工程机械整机行业已披露2023年数据的15家公司中排名第2。近三年净利润复合年增长率为41.14%,排名3/15。

年报称,公司从事各类智能高空作业平台的研发、制造、销售和服务,主要产品涵盖臂式、剪叉式和桅柱式三大系列共200多款规格。臂式系列包含直臂式和曲臂式两类,全系列包含电动、混动、柴动三种动力源,最大工作高度达44米,最大荷载454kg;剪叉式系列最大工作高度达32米,最大荷载1000kg;桅柱式系列包括桅柱式高空作业平台及高空取料平台产品。公司产品主要应用于工业领域、商业领域和建筑领域,覆盖建筑工程、建筑物装饰与维护、仓储物流、石油化工、船舶生产与维护,以及诸如国家电网、核电站、高铁、机场、隧道等特殊工况。
分产品来看,2023年公司主营业务中,剪叉式高空作业平台收入30.10亿元,同比下降8.64%,占营业收入的47.69%;臂式高空作业平台收入24.46亿元,同比增长68.24%,占营业收入的38.75%;桅柱式高空作业平台收入5.04亿元,同比增长5.17%,占营业收入的7.99%。

截至2023年末,公司员工总数为2286人,人均创收276.11万元,人均创利81.68万元,人均薪酬14.85万元,较上年同期分别增长4.26%、33.57%、4.98%。

2023年,公司毛利率为38.49%,同比上升7.45个百分点;净利率为29.58%,较上年同期上升6.49个百分点。从单季度指标来看,2023年第四季度公司毛利率为40.97%,同比上升4.07个百分点,环比下降2.86个百分点;净利率为36.54%,较上年同期上升6.72个百分点,较上一季度上升8.44个百分点。

分产品看,剪叉式高空作业平台、臂式高空作业平台、桅柱式高空作业平台2023年毛利率分别为40.28%、30.52%、43.46%。

报告期内,公司前五大客户合计销售金额25.05亿元,占总销售金额比例为39.69%,公司前五名供应商合计采购金额6.66亿元,占年度采购总额比例为18.48%。

数据显示,2023年公司加权平均净资产收益率为23.36%,较上年同期增长4.04个百分点;公司2023年投入资本回报率为18.51%,较上年同期增长2.93个百分点。

2023年,公司经营活动现金流净额为22.27亿元,同比增长137.79%;筹资活动现金流净额-5.20亿元,同比减少5.65亿元;投资活动现金流净额-8.63亿元,上年同期为-12.22亿元。
进一步统计发现,2023年公司自由现金流为17.00亿元,上年同期为-2.04亿元。

2023年,公司营业收入现金比为109.45%,净现比为119.29%。

营运能力方面,2023年,公司公司总资产周转率为0.49次,上年同期为0.51次(2022年行业平均值为0.60次,公司位居同行业12/19);固定资产周转率为4.93次,上年同期为6.14次(2022年行业平均值为5.84次,公司位居同行业9/19);公司应收账款周转率、存货周转率分别为2.85次、2.09次。

2023年,公司期间费用为3.49亿元,较上年同期增加9826.62万元;期间费用率为5.53%,较上年同期上升0.93个百分点。其中,销售费用同比增长47.56%,管理费用同比增长14.39%,研发费用同比增长8.74%,财务费用由去年同期的-2.33亿元变为-2.45亿元。

资产重大变化方面,截至2023年年末,公司固定资产较上年末增加70.35%,占公司总资产比重上升3.33个百分点;在建工程较上年末减少53.50%,占公司总资产比重下降2.40个百分点;其他权益工具投资合计较上年末增加128.26%,占公司总资产比重上升2.06个百分点;存货较上年末增加7.03%,占公司总资产比重下降1.69个百分点。

负债重大变化方面,截至2023年年末,公司应付账款较上年末增加26.20%,占公司总资产比重上升0.53个百分点;一年内到期的非流动负债较上年末增加62.48%,占公司总资产比重上升1.31个百分点;应付票据较上年末增加23.12%,占公司总资产比重上升0.21个百分点;长期借款较上年末减少33.37%,占公司总资产比重下降2.80个百分点。

从存货变动来看,截至2023年年末,公司存货账面价值为19.21亿元,占净资产的21.43%。根据财报,公司本期没有计提存货跌价准备。

2023年全年,公司研发投入金额为2.20亿元,同比增长8.74%;研发投入占营业收入比例为3.49%,相比上年同期下降0.23个百分点。此外,公司全年研发投入资本化率为0。



在偿债能力方面,公司2023年年末资产负债率为36.90%,相比上年末下降3.23个百分点;有息资产负债率为9.29%,相比上年末下降3.57个百分点。

2023年,公司流动比率为2.29,速动比率为1.85。

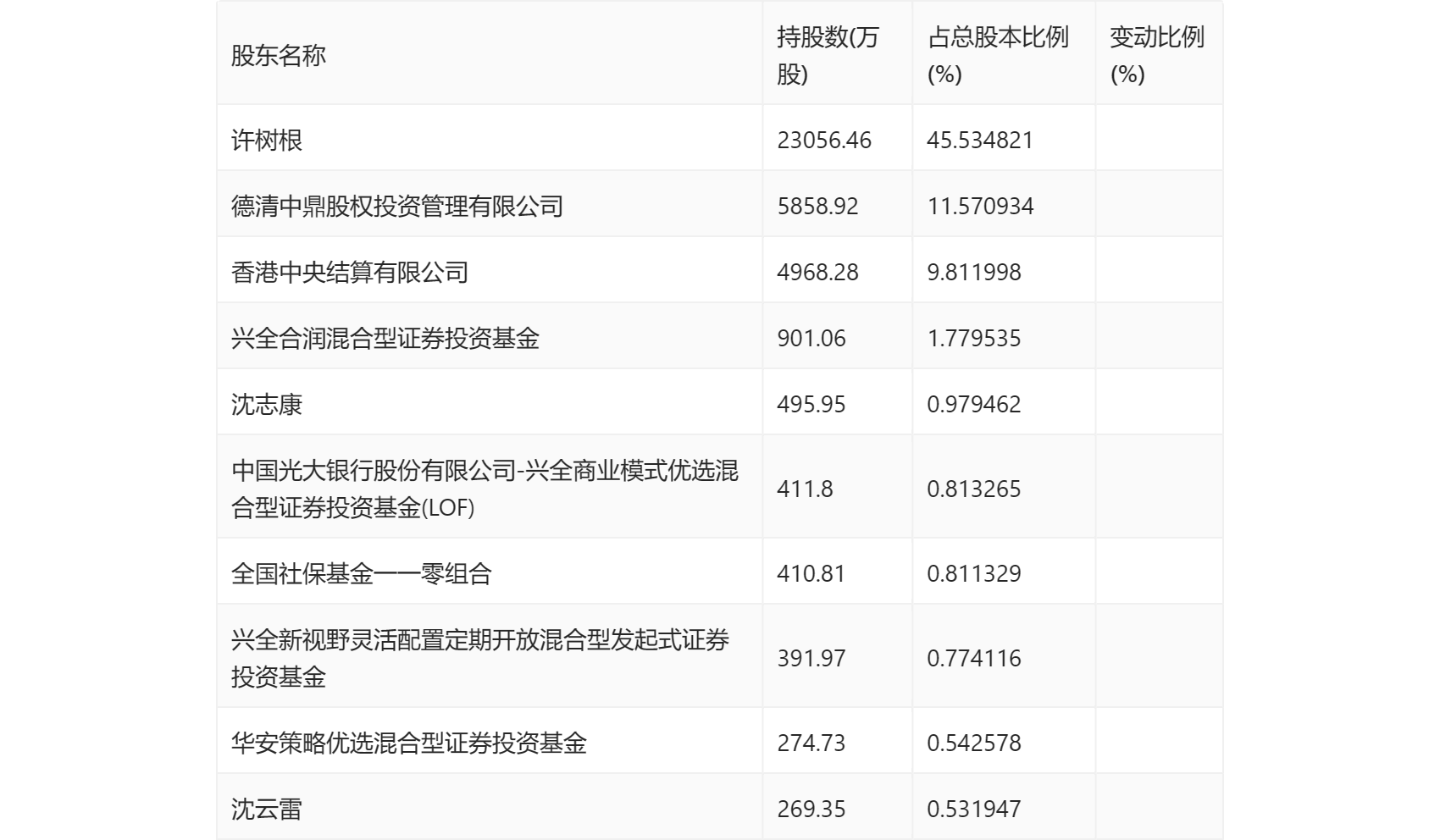
年报显示,2023年年末公司十大流通股东中,新进股东为中国光大银行股份有限公司-兴全商业模式优选混合型证券投资基金(LOF)、兴全新视野灵活配置定期开放混合型发起式证券投资基金,取代了三季度末的华安安康灵活配置混合型证券投资基金、民生加银质量领先混合型证券投资基金。在具体持股比例上,兴全合润混合型证券投资基金、全国社保基金一一零组合、华安策略优选混合型证券投资基金、沈云雷持股有所上升,香港中央结算有限公司、沈志康持股有所下降。

筹码集中度方面,截至2023年年末,公司股东总户数为2.09万户,较三季度末增长了1005户,增幅5.05%;户均持股市值由三季度末的134.27万元下降至123.99万元,降幅为7.66%。

指标注解:
市盈率
=总市值/净利润。当公司亏损时市盈率为负,此时用市盈率估值没有实际意义,往往用市净率或市销率做参考。
市净率
=总市值/净资产。市净率估值法多用于盈利波动较大而净资产相对稳定的公司。
市销率
=总市值/营业收入。市销率估值法通常用于亏损或微利的成长型公司。
文中市盈率和市销率采用TTM方式,即以截至最近一期财报(含预报)12个月的数据计算。市净率采用LF方式,即以最近一期财报数据计算。
市盈率为负时,不显示当期分位数,会导致折线图中断。