淳中科技:10月9日至10月13日高管何仕达、张峻峰、付国义、王志涛、程锐减持股份合计185.23万股
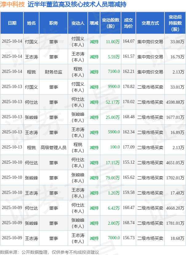
证券之星消息,根据10月15日市场公开信息、上市公司公告及交易所披露数据整理,淳中科技(603516)最新董监高及相关人员股份变动情况:2025年10月9日至2025年10月13日公司董事何仕达、董事张峻峰、董事付国义、董事王志涛、高级管理人员程锐共减持公司股份185.23万股,占公司总股本为0.9113%。变动期间公司股价上涨7.52%,10月13日当日收盘报177.09元。
淳中科技近半年内的董监高及核心技术人员增减持详情如下:

淳中科技的高管列表及最新持股情况如下:

融资融券数据显示该股近5日融资净流入1.62亿,融资余额增加;融券净流入5700.0,融券余额增加。
该股最近90天内无机构评级。
以上内容为证券之星据公开信息整理,由AI算法生成(网信算备310104345710301240019号),不构成投资建议。