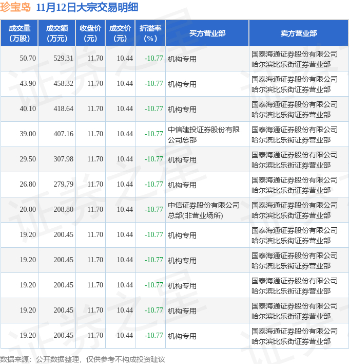
11月12日珍宝岛现12笔折价10.77%的大宗交易 合计成交3612.25万元
证券之星消息,11月12日珍宝岛发生大宗交易,交易数据如下:

近三个月该股共发生14笔大宗交易,合计成交4.0万手,折价成交14笔。该股近期无解禁股上市。
截至2025年11月12日收盘,珍宝岛(603567)报收于11.7元,上涨0.86%,换手率1.24%,成交量11.65万手,成交额1.37亿元。
该股近半年内有股东持股变动,合计净减持885.39万股,股东增减持明细如下表:

该股最近90天内无机构评级。
以上内容为证券之星据公开信息整理,由AI算法生成(网信算备310104345710301240019号),不构成投资建议。