伟明环保:11月13日至11月14日高管章小建减持股份合计55.8万股
证券之星消息,根据11月14日市场公开信息、上市公司公告及交易所披露数据整理,伟明环保(603568)最新董监高及相关人员股份变动情况:2025年11月13日至2025年11月14日公司高级管理人员章小建共减持公司股份55.8万股,占公司总股本为0.0328%。变动期间公司股价上涨4.39%,11月14日当日收盘报23.77元。
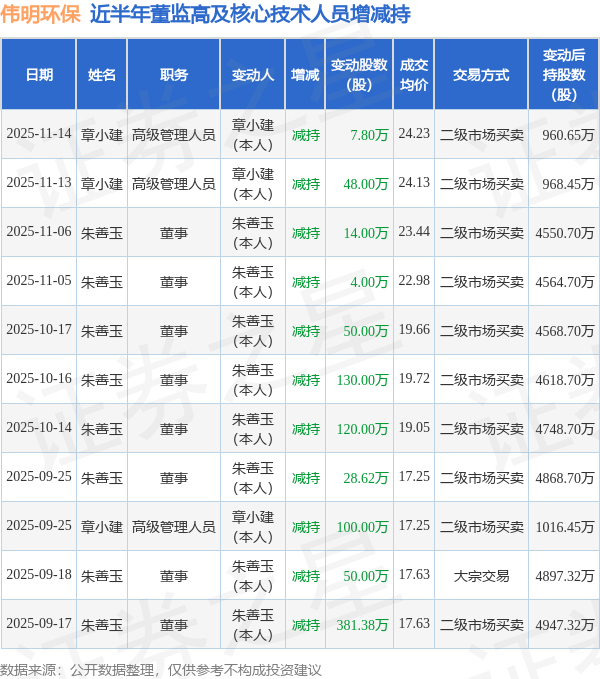
伟明环保近半年内的董监高及核心技术人员增减持详情如下:

伟明环保的高管列表及最新持股情况如下:

融资融券数据显示该股近5日融资净流出724.0万,融资余额减少;融券净流出4.3万,融券余额减少。
该股最近90天内共有6家机构给出评级,买入评级5家,增持评级1家;过去90天内机构目标均价为26.12。
以上内容为证券之星据公开信息整理,由AI算法生成(网信算备310104345710301240019号),不构成投资建议。