奇精机械:2024年一季度净利2389.88万元 同比增长39.17%

中证智能财讯 奇精机械(603677)4月24日披露2024年一季报。2024年第一季度,公司实现营业总收入4.61亿元,同比增长14.90%;归母净利润2389.88万元,同比增长39.17%;扣非净利润2288.92万元,同比增长71.60%;经营活动产生的现金流量净额为-2292.43万元,上年同期为-952.79万元;报告期内,奇精机械基本每股收益为0.1244元,加权平均净资产收益率为2.04%。



2024年第一季度,公司毛利率为13.14%,同比下降2.73个百分点;净利率为5.18%,较上年同期上升0.90个百分点。

数据显示,2024年第一季度公司加权平均净资产收益率为2.04%,较上年同期增长0.51个百分点;公司2024年第一季度投入资本回报率为1.67%,较上年同期增长0.26个百分点。

2024年第一季度,公司经营活动现金流净额为-2292.43万元,同比减少1339.63万元,主要系本期支付给员工的薪酬增加所致;筹资活动现金流净额1.01亿元,同比增加1.20亿元;投资活动现金流净额-2610.46万元,上年同期为-1097.31万元。

2024年第一季度,公司营业收入现金比为85.02%,净现比为-95.92%。

资产重大变化方面,截至2024年一季度末,公司固定资产较上年末减少2.78%,占公司总资产比重下降1.84个百分点;应收账款较上年末减少3.41%,占公司总资产比重下降1.80个百分点;货币资金较上年末增加15.26%,占公司总资产比重上升1.71个百分点;应收款项融资较上年末增加134.23%,占公司总资产比重上升1.57个百分点。

负债重大变化方面,截至2024年一季度末,公司短期借款较上年末增加45.15%,占公司总资产比重上升1.72个百分点;应付账款较上年末减少8.23%,占公司总资产比重下降2.12个百分点;应付票据较上年末增加16.08%,占公司总资产比重上升0.60个百分点;应付职工薪酬较上年末减少28.78%,占公司总资产比重下降0.61个百分点。

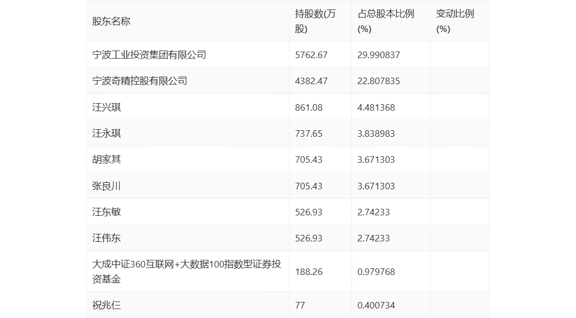
一季报显示,2024年一季度末公司十大流通股东中,新进股东为祝兆仨,取代了上年末的国金量化多因子股票型证券投资基金。在具体持股比例上,宁波工业投资集团有限公司、宁波奇精控股有限公司、汪兴琪、汪永琪、胡家其、张良川、汪东敏、汪伟东、大成中证360互联网+大数据100指数型证券投资基金持股有所下降。

筹码集中度方面,截至2024年一季度末,公司股东总户数为1.01万户,较上年末下降了393户,降幅3.75%;户均持股市值由上年末的26.69万元下降至23.06万元,降幅为13.60%。
