石英股份:2024年第一季度净利润1.58亿元 同比下降80.70%

中证智能财讯 石英股份(603688)4月30日披露2024年一季报。2024年第一季度,公司实现营业总收入3.94亿元,同比下降67.82%;归母净利润1.58亿元,同比下降80.70%;扣非净利润1.64亿元,同比下降79.74%;经营活动产生的现金流量净额为4.50亿元,同比下降31.47%;报告期内,石英股份基本每股收益为0.44元,加权平均净资产收益率为2.08%。



2024年第一季度,公司毛利率为61.20%,同比下降23.09个百分点;净利率为40.75%,较上年同期下降26.60个百分点。

数据显示,2024年第一季度公司加权平均净资产收益率为2.08%,较上年同期下降20.26个百分点;公司2024年第一季度投入资本回报率为2.02%,较上年同期下降20.22个百分点。

2024年第一季度,公司经营活动现金流净额为4.50亿元,同比下降31.47%,主要系报告期内收入减少所致;筹资活动现金流净额-2844.73万元,同比减少3069.17万元;投资活动现金流净额-2.09亿元,上年同期为-1.66亿元。

2024年第一季度,公司营业收入现金比为250.20%,净现比为283.95%。

资产重大变化方面,截至2024年一季度末,公司交易性金融资产较上年末增加59.17%,占公司总资产比重上升6.32个百分点;应收款项融资较上年末减少54.09%,占公司总资产比重下降5.98个百分点;其他流动资产较上年末减少68.55%,占公司总资产比重下降3.46个百分点;货币资金较上年末增加8.03%,占公司总资产比重上升3.08个百分点。

负债重大变化方面,截至2024年一季度末,公司应交税费较上年末减少85.07%,占公司总资产比重下降1.56个百分点;应付账款较上年末减少43.10%,占公司总资产比重下降1.47个百分点;合同负债较上年末减少18.09%,占公司总资产比重下降0.34个百分点;应付职工薪酬较上年末减少42.40%,占公司总资产比重下降0.17个百分点。

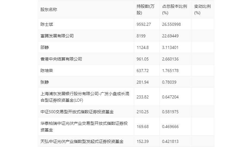
一季报显示,2024年一季度末公司十大流通股东中,新进股东为张静、中证500交易型开放式指数证券投资基金,取代了上年末的江苏太平洋石英股份有限公司-第四期员工持股计划、国泰江源优势精选灵活配置混合型证券投资基金。在具体持股比例上,香港中央结算有限公司持股有所上升,华泰柏瑞中证光伏产业交易型开放式指数证券投资基金、天弘中证光伏产业指数型发起式证券投资基金持股有所下降。

筹码集中度方面,截至2024年一季度末,公司股东总户数为4.91万户,较上年末增长了1.03万户,增幅26.53%;户均持股市值由上年末的80.82万元下降至66.40万元,降幅为17.84%。
