福斯特:2024年上半年净利润9.28亿元 同比增长4.95%

中证智能财讯 福斯特(603806)8月24日披露2024年半年度报告。2024年上半年,公司实现营业收入107.64亿元,同比增长1.39%;归母净利润9.28亿元,同比增长4.95%;扣非净利润8.99亿元,同比增长9.20%;经营活动产生的现金流量净额为9.05亿元,上年同期为-18.9亿元;报告期内,福斯特基本每股收益为0.36元,加权平均净资产收益率为5.80%。


以8月23日收盘价计算,福斯特目前市盈率(TTM)约为19.24倍,市净率(LF)约为2.28倍,市销率(TTM)约为1.6倍。

公司近年市盈率(TTM)、市净率(LF)、市销率(TTM)历史分位图如下所示:



根据半年报,公司第二季度实现营业总收入54.42亿元,同比下降4.57%,环比增长2.27%;归母净利润4.07亿元,同比下降21.79%,环比下降21.97%;扣非净利润3.83亿元,同比下降19.88%,环比下降25.85%。

资料显示,公司致力于单/多层聚合物功能薄膜材料的研发和生产,业务涵盖光伏材料、电子材料和功能膜材料。
2024年上半年,公司毛利率为16.68%,同比上升2.07个百分点;净利率为8.62%,较上年同期上升0.28个百分点。从单季度指标来看,2024年第二季度公司毛利率为18.05%,同比上升1.43个百分点,环比上升2.77个百分点;净利率为7.48%,较上年同期下降1.65个百分点,较上一季度下降2.31个百分点。

数据显示,2024年上半年公司加权平均净资产收益率为5.80%,较上年同期下降0.34个百分点;公司2024年上半年投入资本回报率为4.66%,较上年同期下降0.05个百分点。

2024年上半年,公司经营活动现金流净额为9.05亿元,同比增加27.95亿元;筹资活动现金流净额-3.86亿元,同比减少11.35亿元;投资活动现金流净额-16.60亿元,上年同期为-1.01亿元。
进一步统计发现,2024年上半年公司自由现金流为-5.82亿元,上年同期为-17.30亿元。

2024年上半年,公司营业收入现金比为88.34%,净现比为97.44%。

营运能力方面,2024年上半年,公司公司总资产周转率为0.49次,上年同期为0.51次(2023年上半年行业平均值为0.45次,公司位居同行业8/19);固定资产周转率为3.34次,上年同期为3.87次(2023年上半年行业平均值为3.59次,公司位居同行业8/19);公司应收账款周转率、存货周转率分别为2.17次、3.17次。

2024年上半年,公司期间费用为5.24亿元,较上年同期增加4480.70万元;期间费用率为4.87%,较上年同期上升0.36个百分点。其中,销售费用同比增长55.11%,管理费用同比增长18.5%,研发费用同比增长4.37%,财务费用由去年同期的-638.47万元变为-1294.66万元。
资料显示,销售费用的变动主要因为本期职工薪酬、报关费等增加;管理费用的变动主要因为本期员工薪酬和光伏事业合伙人计划及折旧摊销费增加;财务费用的变动主要因为本期利息收支净额和汇兑损益增加;研发费用的变动主要因为本期研发人员薪酬增加。

资产重大变化方面,截至2024年上半年末,公司货币资金较上年末减少22.55%,占公司总资产比重下降5.72个百分点;其他流动资产较上年末增加1041.96%,占公司总资产比重上升4.71个百分点;存货较上年末减少17.16%,占公司总资产比重下降2.56个百分点;在建工程较上年末增加84.52%,占公司总资产比重上升1.97个百分点。

负债重大变化方面,截至2024年上半年末,公司应付票据较上年末减少93.97%,占公司总资产比重下降1.10个百分点;长期借款较上年末增加312.57%,占公司总资产比重上升0.99个百分点;应付账款较上年末减少5.93%,占公司总资产比重下降0.51个百分点;应付职工薪酬较上年末减少36.15%,占公司总资产比重下降0.35个百分点。

从存货变动来看,截至2024年上半年末,公司存货账面价值为25.6亿元,占净资产的16.04%,较上年末减少5.3亿元。其中,存货跌价准备为6912.17万元,计提比例为2.63%。

在偿债能力方面,公司2024年上半年末资产负债率为26.69%,相比上年末下降0.96个百分点;有息资产负债率为17.51%,相比上年末上升0.84个百分点。

2024年上半年,公司流动比率为5.92,速动比率为5.03。

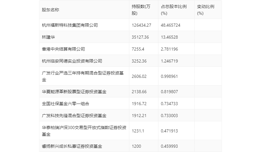
半年报显示,2024年上半年末公司十大流通股东中,新进股东为华泰柏瑞沪深300交易型开放式指数证券投资基金,取代了一季度末的易方达创新驱动灵活配置混合型证券投资基金。在具体持股比例上,杭州福斯特科技集团有限公司、林建华、香港中央结算有限公司、杭州临安同德实业投资有限公司、华夏能源革新股票型证券投资基金、全国社保基金六零一组合、广发科技先锋混合型证券投资基金持股有所上升,广发行业严选三年持有期混合型证券投资基金、睿扬新兴成长私募证券投资基金持股有所下降。

筹码集中度方面,截至2024年上半年末,公司股东总户数为4.61万户,较一季度末增长了5925户,增幅14.73%;户均持股市值由一季度末的131.68万元下降至83.10万元,降幅为36.89%。

指标注解:
市盈率
=总市值/净利润。当公司亏损时市盈率为负,此时用市盈率估值没有实际意义,往往用市净率或市销率做参考。
市净率
=总市值/净资产。市净率估值法多用于盈利波动较大而净资产相对稳定的公司。
市销率
=总市值/营业收入。市销率估值法通常用于亏损或微利的成长型公司。
文中市盈率和市销率采用TTM方式,即以截至最近一期财报(含预报)12个月的数据计算。市净率采用LF方式,即以最近一期财报数据计算。
市盈率为负时,不显示当期分位数,会导致折线图中断。