欧派家居:2024年上半年净利润9.90亿元 同比下降12.61%

中证智能财讯 欧派家居(603833)8月31日披露2024年半年报。2024年上半年,公司实现营业总收入85.83亿元,同比下降12.81%;归母净利润9.90亿元,同比下降12.61%;经营活动产生的现金流量净额为12.50亿元,同比下降39.85%;报告期内,欧派家居基本每股收益为1.62元,加权平均净资产收益率为5.32%。


以8月30日收盘价计算,欧派家居目前市盈率(TTM)约为9.34倍,市净率(LF)约为1.55倍,市销率(TTM)约为1.26倍。

公司近年市盈率(TTM)、市净率(LF)、市销率(TTM)历史分位图如下所示:



根据半年报,公司第二季度实现营业总收入49.62亿元,同比下降20.91%,环比增长37.01%;归母净利润7.72亿元,同比下降21.26%,环比增长254.10%;扣非净利润6.34亿元,同比下降32.72%,环比增长343.51%。

资料显示,公司主要从事全屋家居产品的个性化设计、研发、生产、销售、安装和室内装饰服务。
2024年上半年,公司毛利率为32.57%,同比上升1.05个百分点;净利率为11.57%,较上年同期上升0.13个百分点。从单季度指标来看,2024年第二季度公司毛利率为34.46%,同比上升0.19个百分点,环比上升4.48个百分点;净利率为15.61%,较上年同期上升0.03个百分点,较上一季度上升9.58个百分点。


2024年上半年,公司经营活动现金流净额为12.50亿元,同比下降39.85%;筹资活动现金流净额16.02亿元,同比增加4.81亿元;投资活动现金流净额-30.98亿元,上年同期为9.56亿元。
进一步统计发现,2024年上半年公司自由现金流为-5.89亿元,上年同期为27.48亿元。

2024年上半年,公司营业收入现金比为120.00%,净现比为126.29%。

营运能力方面,2024年上半年,公司总资产周转率为0.24次,上年同期为0.33次(2023年上半年行业平均值为0.29次,公司位居同行业6/16);固定资产周转率为1.20次,上年同期为1.48次(2023年上半年行业平均值为1.02次,公司位居同行业4/16);公司应收账款周转率、存货周转率分别为6.22次、5.56次。

2024年上半年,公司期间费用为18.89亿元,较上年同期增加1.15亿元;期间费用率为22.01%,较上年同期上升3.99个百分点。其中,销售费用同比增长10.93%,管理费用同比下降5.02%,研发费用同比下降4.66%,财务费用由去年同期的-1.80亿元变为-1.09亿元。
资料显示,财务费用的变动主要因为汇率变动,汇兑损失增加。

资产重大变化方面,截至2024年上半年末,公司货币资金较上年末减少8.33%,占公司总资产比重下降4.59个百分点;交易性金融资产较上年末增加671.23%,占公司总资产比重上升4.12个百分点;一年内到期的非流动资产较上年末增加151.52%,占公司总资产比重上升2.24个百分点;其他非流动资产较上年末减少2.50%,占公司总资产比重下降1.23个百分点。

负债重大变化方面,截至2024年上半年末,公司其他应付款(含利息和股利)较上年末增加183.75%,占公司总资产比重上升4.85个百分点;短期借款较上年末增加12.41%,占公司总资产比重上升1.64个百分点;长期借款较上年末减少83.02%,占公司总资产比重下降1.48个百分点;一年内到期的非流动负债较上年末增加762.03%,占公司总资产比重上升1.22个百分点。

从存货变动来看,截至2024年上半年末,公司存货账面价值为9.5亿元,占净资产的5.46%。根据财报,公司本期没有计提存货跌价准备。

在偿债能力方面,公司2024年上半年末资产负债率为51.68%,相比上年末上升4.43个百分点;有息资产负债率为30.81%,相比上年末上升1.28个百分点。

2024年上半年,公司流动比率为1.10,速动比率为1.04。

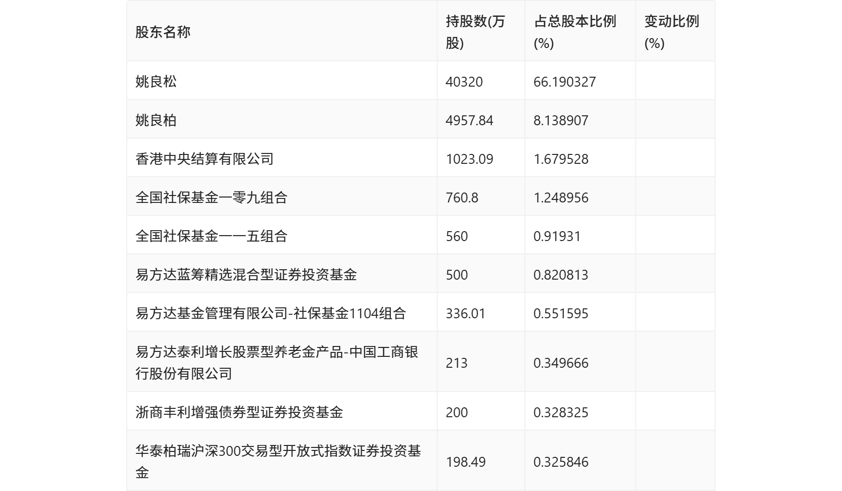
半年报显示,2024年上半年末公司十大流通股东中,新进股东为易方达蓝筹精选混合型证券投资基金、易方达基金管理有限公司-社保基金1104组合、易方达泰利增长股票型养老金产品-中国工商银行股份有限公司,取代了一季度末的广发稳健增长证券投资基金、基本养老保险基金八零五组合、广发稳健回报混合型证券投资基金。在具体持股比例上,全国社保基金一零九组合、华泰柏瑞沪深300交易型开放式指数证券投资基金持股有所上升,香港中央结算有限公司、全国社保基金一一五组合持股有所下降。

筹码集中度方面,截至2024年上半年末,公司股东总户数为2.07万户,较一季度末下降了150户,降幅0.72%;户均持股市值由一季度末的186.46万元下降至157.47万元,降幅为15.55%。

指标注解:
市盈率
=总市值/净利润。当公司亏损时市盈率为负,此时用市盈率估值没有实际意义,往往用市净率或市销率做参考。
市净率
=总市值/净资产。市净率估值法多用于盈利波动较大而净资产相对稳定的公司。
市销率
=总市值/营业收入。市销率估值法通常用于亏损或微利的成长型公司。
文中市盈率和市销率采用TTM方式,即以截至最近一期财报(含预报)12个月的数据计算。市净率采用LF方式,即以最近一期财报数据计算。
市盈率为负时,不显示当期分位数,会导致折线图中断。