数据港:2024年上半年净利润同比增长2.80% 拟10派0.24元

中证智能财讯 数据港(603881)8月24日披露2024年半年报。2024年上半年,公司实现营业总收入7.78亿元,同比增长4.33%;归母净利润7058.05万元,同比增长2.80%;扣非净利润6367.19万元,同比增长12.41%;经营活动产生的现金流量净额为3.85亿元,同比下降28.36%;报告期内,数据港基本每股收益为0.12元,加权平均净资产收益率为2.24%。公司2024年半年度利润分配预案为:拟向全体股东每10股派0.24元(含税)。

以8月23日收盘价计算,数据港目前市盈率(TTM)约为57.95倍,市净率(LF)约为2.28倍,市销率(TTM)约为4.6倍。

公司近年市盈率(TTM)、市净率(LF)、市销率(TTM)历史分位图如下所示:



根据半年报,公司第二季度实现营业总收入3.97亿元,同比增长6.14%,环比增长4.09%;归母净利润3482.66万元,同比增长3.74%,环比下降2.59%;扣非净利润3174.28万元,同比增长20.98%,环比下降0.58%。

半年报显示,公司主要业务包括IDC业务、IDC解决方案业务、云服务销售业务三大类。
2024年上半年,公司毛利率为27.26%,同比下降2.12个百分点;净利率为9.06%,较上年同期下降0.14个百分点。从单季度指标来看,2024年第二季度公司毛利率为27.31%,同比下降2.07个百分点,环比上升0.11个百分点;净利率为8.77%,较上年同期下降0.21个百分点,较上一季度下降0.60个百分点。

数据显示,2024年上半年公司加权平均净资产收益率为2.24%,较上年同期下降0.01个百分点;公司2024年上半年投入资本回报率为1.75%,较上年同期增长0.01个百分点。

2024年上半年,公司经营活动现金流净额为3.85亿元,同比下降28.36%;筹资活动现金流净额1430.71万元,同比增加1.22亿元;投资活动现金流净额-3.86亿元,上年同期为-9578.94万元。
进一步统计发现,2024年上半年公司自由现金流为5.01亿元,相比上年同期增长132.45%。

2024年上半年,公司营业收入现金比为91.80%,净现比为545.76%。

营运能力方面,2024年上半年,公司公司总资产周转率为0.11次,上年同期为0.10次(2023年上半年行业平均值为0.20次,公司位居同行业14/18);公司应收账款周转率、存货周转率分别为5.53次、289.15次。

2024年上半年,公司期间费用为1.23亿元,较上年同期减少1797.74万元;期间费用率为15.82%,较上年同期下降3.10个百分点。其中,销售费用同比增长12.46%,管理费用同比下降15.8%,研发费用同比增长5.58%,财务费用同比下降21.35%。

资产重大变化方面,截至2024年上半年末,公司固定资产较上年末减少8.38%,占公司总资产比重下降6.67个百分点;在建工程较上年末增加97.45%,占公司总资产比重上升3.51个百分点;交易性金融资产较上年末增加100.00%,占公司总资产比重上升2.72个百分点;合同资产较上年末增加20.89%,占公司总资产比重上升1.03个百分点。

负债重大变化方面,截至2024年上半年末,公司短期借款较上年末减少52.02%,占公司总资产比重下降9.93个百分点,主要系报告期优化债务结构与拓宽融资渠道,通过直接融资归还银行借款;其他流动负债较上年末增加67250.39%,占公司总资产比重上升7.04个百分点;长期借款较上年末减少30.47%,占公司总资产比重下降5.21个百分点,主要系报告期优化债务结构与拓宽融资渠道,通过直接融资归还银行借款;一年内到期的非流动负债较上年末减少33.26%,占公司总资产比重下降1.94个百分点。

从存货变动来看,截至2024年上半年末,公司存货账面价值为14.6万元,占净资产的0.0%。根据财报,公司本期没有计提存货跌价准备。

在偿债能力方面,公司2024年上半年末资产负债率为55.71%,相比上年末上升0.35个百分点;有息资产负债率为34.58%,相比上年末下降5.98个百分点。

2024年上半年,公司流动比率为0.97,速动比率为0.97。

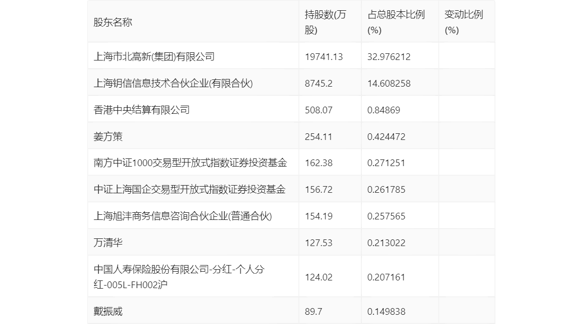
半年报显示,2024年上半年末公司十大流通股东中,新进股东为中证上海国企交易型开放式指数证券投资基金、戴振威,取代了一季度末的华夏人寿保险股份有限公司-自有资金、华夏中证5G通信主题交易型开放式指数证券投资基金。在具体持股比例上,香港中央结算有限公司、姜方策、南方中证1000交易型开放式指数证券投资基金持股有所上升。

筹码集中度方面,截至2024年上半年末,公司股东总户数为5.59万户,较一季度末下降了2981户,降幅5.06%;户均持股市值由一季度末的15.05万元下降至13.61万元,降幅为9.57%。

指标注解:
市盈率
=总市值/净利润。当公司亏损时市盈率为负,此时用市盈率估值没有实际意义,往往用市净率或市销率做参考。
市净率
=总市值/净资产。市净率估值法多用于盈利波动较大而净资产相对稳定的公司。
市销率
=总市值/营业收入。市销率估值法通常用于亏损或微利的成长型公司。
文中市盈率和市销率采用TTM方式,即以截至最近一期财报(含预报)12个月的数据计算。市净率采用LF方式,即以最近一期财报数据计算。
市盈率为负时,不显示当期分位数,会导致折线图中断。