苏博特:2024年第一季度净利润2108.94万元 同比下降47.83%

中证智能财讯 苏博特(603916)4月26日披露2024年一季报。2024年第一季度,公司实现营业总收入5.79亿元,同比下降13.07%;归母净利润2108.94万元,同比下降47.83%;扣非净利润2045.06万元,同比下降47.90%;经营活动产生的现金流量净额为4558.01万元,同比下降62.52%;报告期内,苏博特基本每股收益为0.05元,加权平均净资产收益率为0.50%。

2024年第一季度,公司毛利率为35.04%,同比下降1.53个百分点;净利率为6.21%,较上年同期下降2.50个百分点。

数据显示,2024年第一季度公司加权平均净资产收益率为0.50%,较上年同期下降0.46个百分点;公司2024年第一季度投入资本回报率为0.72%,较上年同期下降0.35个百分点。

2024年第一季度,公司经营活动现金流净额为4558.01万元,同比下降62.52%;筹资活动现金流净额1.41亿元,同比增加3.14亿元;投资活动现金流净额-2.51亿元,上年同期为-2.13亿元。

2024年第一季度,公司营业收入现金比为161.05%,净现比为216.13%。

资产重大变化方面,截至2024年一季度末,公司应收账款较上年末减少15.06%,占公司总资产比重下降4.98个百分点;交易性金融资产较上年末增加31.62%,占公司总资产比重上升1.14个百分点;存货较上年末增加17.92%,占公司总资产比重上升1.07个百分点;货币资金较上年末增加6.53%,占公司总资产比重上升0.92个百分点。

负债重大变化方面,截至2024年一季度末,公司应付票据较上年末增加82.57%,占公司总资产比重上升1.57个百分点;应付账款较上年末减少33.74%,占公司总资产比重下降1.50个百分点;应付职工薪酬较上年末减少72.94%,占公司总资产比重下降1.22个百分点;短期借款较上年末减少5.72%,占公司总资产比重下降0.40个百分点。

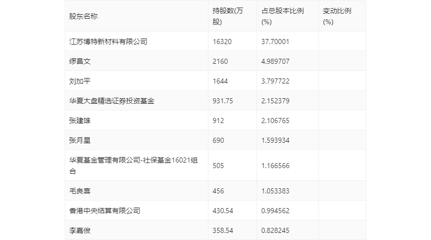
一季报显示,2024年一季度末公司十大流通股东中,新进股东为香港中央结算有限公司,取代了上年末的李小华。在具体持股比例上,华夏基金管理有限公司-社保基金16021组合持股有所上升,江苏博特新材料有限公司、缪昌文、刘加平、华夏大盘精选证券投资基金、张建雄、张月星、毛良喜、李嘉俊持股有所下降。

筹码集中度方面,截至2024年一季度末,公司股东总户数为2万户,较上年末下降了528户,降幅2.57%;户均持股市值由上年末的20.87万元下降至17.92万元,降幅为14.14%。
