至正股份:2024年上半年亏损618.63万元

中证智能财讯 至正股份(603991)8月30日披露2024年半年度报告。2024年上半年,公司实现营业收入9825.23万元,同比增长5.94%;归母净利润亏损618.63万元,上年同期亏损960.49万元;扣非净利润亏损822.44万元,上年同期亏损1064.97万元;经营活动产生的现金流量净额为-2998.15万元,上年同期为-1053.24万元;报告期内,至正股份基本每股收益为-0.08元,加权平均净资产收益率为-2.44%。
报告期内,公司合计非经常性损益为203.81万元,其中计入当期损益的政府补助为99.97万元。


以8月29日收盘价计算,至正股份目前市盈率(TTM)约为-65.8倍,市净率(LF)约为10.79倍,市销率(TTM)约为11.02倍。

公司近年市盈率(TTM)、市净率(LF)、市销率(TTM)历史分位图如下所示:



根据半年报,公司第二季度实现营业总收入6133.61万元,同比下降5.71%,环比增长66.15%;归母净利润-66.46万元,同比增长87.12%,环比增长87.96%;扣非净利润-217.55万元,同比增长61.81%,环比增长64.04%。

2024年上半年,公司毛利率为22.73%,同比上升11.13个百分点;净利率为-5.62%,较上年同期上升6.04个百分点。从单季度指标来看,2024年第二季度公司毛利率为24.51%,同比上升11.68个百分点,环比上升4.72个百分点;净利率为2.72%,较上年同期上升12.51个百分点,较上一季度上升22.20个百分点。

数据显示,2024年上半年公司加权平均净资产收益率为-2.44%,较上年同期增长0.81个百分点;公司2024年上半年投入资本回报率为-0.92%,较上年同期增长1.56个百分点。

2024年上半年,公司经营活动现金流净额为-2998.15万元,同比减少1944.91万元;筹资活动现金流净额4094.08万元,同比减少5503.01万元;投资活动现金流净额18.76万元,上年同期为-9676.08万元。
进一步统计发现,2024年上半年公司自由现金流为-1587.22万元,上年同期为6436.54万元。

2024年上半年,公司营业收入现金比为67.90%。

营运能力方面,2024年上半年,公司总资产周转率为0.16次,上年同期为0.19次(2023年上半年行业平均值为0.25次,公司位居同行业16/21);固定资产周转率为0.55次,上年同期为0.49次(2023年上半年行业平均值为1.23次,公司位居同行业18/21);公司应收账款周转率、存货周转率分别为0.98次、0.97次。

2024年上半年,公司期间费用为2908.16万元,较上年同期增加878.26万元;期间费用率为29.60%,较上年同期上升7.71个百分点。其中,销售费用同比增长170.28%,管理费用同比增长3.48%,研发费用同比增长37.62%,财务费用同比增长72.78%。

资产重大变化方面,截至2024年上半年末,公司应收票据较上年末减少39.21%,占公司总资产比重下降2.58个百分点;应收款项融资较上年末增加228.25%,占公司总资产比重上升2.56个百分点;货币资金较上年末增加28.87%,占公司总资产比重上升1.56个百分点;固定资产较上年末减少2.73%,占公司总资产比重下降1.05个百分点。

负债重大变化方面,截至2024年上半年末,公司长期借款较上年末增加95.76%,占公司总资产比重上升7.55个百分点;短期借款较上年末减少17.87%,占公司总资产比重下降1.74个百分点;应付账款较上年末减少18.51%,占公司总资产比重下降1.47个百分点;其他流动负债较上年末减少38.66%,占公司总资产比重下降1.23个百分点。

从存货变动来看,截至2024年上半年末,公司存货账面价值为7967.5万元,占净资产的31.85%。根据财报,公司本期没有计提存货跌价准备。

在偿债能力方面,公司2024年上半年末资产负债率为52.81%,相比上年末上升1.26个百分点;有息资产负债率为23.91%,相比上年末上升6.13个百分点。

2024年上半年,公司流动比率为2.49,速动比率为1.81。

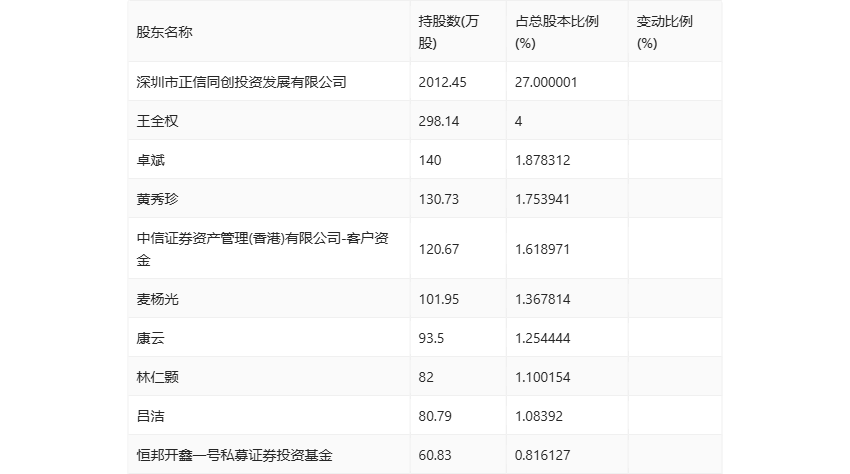
半年报显示,2024年上半年末公司十大流通股东中,新进股东为中信证券资产管理(香港)有限公司-客户资金、吕洁、恒邦开鑫一号私募证券投资基金,取代了一季度末的中信里昂资产管理有限公司-客户资金、MORGAN STANLEY & CO. INTERNATIONAL PLC.、王爱敏。在具体持股比例上,麦杨光、康云持股有所上升,黄秀珍持股有所下降。

值得注意的是,根据半年报数据,至正股份20.12%股份处于质押状态。其中,第一大股东深圳市正信同创投资发展有限公司质押1500.00万股公司股份,占其全部持股的74.54%。
筹码集中度方面,截至2024年上半年末,公司股东总户数为4877户,较一季度末下降了366户,降幅6.98%;户均持股市值由一季度末的48.82万元下降至45.79万元,降幅为6.21%。

指标注解:
市盈率
=总市值/净利润。当公司亏损时市盈率为负,此时用市盈率估值没有实际意义,往往用市净率或市销率做参考。
市净率
=总市值/净资产。市净率估值法多用于盈利波动较大而净资产相对稳定的公司。
市销率
=总市值/营业收入。市销率估值法通常用于亏损或微利的成长型公司。
文中市盈率和市销率采用TTM方式,即以截至最近一期财报(含预报)12个月的数据计算。市净率采用LF方式,即以最近一期财报数据计算。
市盈率为负时,不显示当期分位数,会导致折线图中断。