杭州热电:2023年净利润同比下降0.33% 拟10派1.6元

中证智能财讯 杭州热电(605011)4月20日披露2023年年报。2023年,公司实现营业总收入32.90亿元,同比下降9.36%;归母净利润2.11亿元,同比下降0.33%;扣非净利润2.01亿元,同比增长23.04%;经营活动产生的现金流量净额为4.47亿元,同比增长13.24%;报告期内,杭州热电基本每股收益为0.53元,加权平均净资产收益率为10.04%。公司2023年年度利润分配预案为:拟向全体股东每10股派1.6元(含税)。
以4月19日收盘价计算,杭州热电目前市盈率(TTM)约为46.57倍,市净率(LF)约为4.51倍,市销率(TTM)约为2.99倍。

公司近年市盈率(TTM)、市净率(LF)、市销率(TTM)历史分位图如下所示:



数据统计显示,杭州热电近三年营业总收入复合增长率为16.36%,在热力服务行业已披露2023年数据的9家公司中排名第3。近三年净利润复合年增长率为-3.32%,排名7/9。

分产品来看,2023年公司主营业务中,蒸汽收入16.39亿元,同比下降6.46%,占营业收入的49.83%;煤炭收入12.33亿元,同比下降18.68%,占营业收入的37.48%;电力收入3.10亿元,同比增长9.59%,占营业收入的9.43%。

2023年,公司毛利率为12.16%,同比上升2.90个百分点;净利率为8.41%,较上年同期上升1.17个百分点。从单季度指标来看,2023年第四季度公司毛利率为10.86%,同比上升2.01个百分点,环比下降2.41个百分点;净利率为6.19%,较上年同期上升0.28个百分点,较上一季度下降3.38个百分点。

分产品看,蒸汽、煤炭、电力2023年毛利率分别为15.30%、1.97%、34.92%。

报告期内,公司前五大客户合计销售金额12.15亿元,占总销售金额比例为36.94%,公司前五名供应商合计采购金额24.61亿元,占年度采购总额比例为83.07%。

数据显示,2023年公司加权平均净资产收益率为10.04%,较上年同期下降0.78个百分点;公司2023年投入资本回报率为8.38%,较上年同期增长0.11个百分点。

2023年,公司经营活动现金流净额为4.47亿元,同比增长13.24%;筹资活动现金流净额-5.49亿元,同比减少3.34亿元;投资活动现金流净额3047.37万元,上年同期为-9113.19万元。
进一步统计发现,2023年公司自由现金流为4.78亿元,相比上年同期增长30.21%。

2023年,公司营业收入现金比为148.61%,净现比为211.66%。

营运能力方面,2023年,公司公司总资产周转率为0.85次,上年同期为0.92次(2022年行业平均值为0.47次,公司位居同行业1/17);固定资产周转率为1.58次,上年同期为1.72次(2022年行业平均值为1.28次,公司位居同行业4/17);公司应收账款周转率、存货周转率分别为13.50次、19.02次。

2023年,公司期间费用为1.4亿元,同比减少265.12万元;但期间费用率为4.26%,同比增长0.32个百分点。其中,销售费用同比下降16.73%,管理费用同比增长10.67%,研发费用同比增长548.09%,财务费用同比下降56.72%。

资产重大变化方面,截至2023年年末,公司应收票据较上年末减少62.83%,占公司总资产比重下降2.63个百分点;在建工程较上年末增加322.21%,占公司总资产比重上升2.01个百分点;交易性金融资产较上年末减少88.89%,占公司总资产比重下降2.00个百分点;存货较上年末增加34.89%,占公司总资产比重上升1.35个百分点。

负债重大变化方面,截至2023年年末,公司短期借款较上年末减少46.26%,占公司总资产比重下降7.45个百分点;长期借款较上年末减少27.88%,占公司总资产比重下降2.02个百分点;应付账款较上年末增加24.79%,占公司总资产比重上升1.51个百分点;一年内到期的非流动负债较上年末减少26.59%,占公司总资产比重下降0.47个百分点。

从存货变动来看,截至2023年年末,公司存货账面价值为1.75亿元,占净资产的7.99%。根据财报,公司本期没有计提存货跌价准备。

2023年全年,公司研发投入金额为1015.20万元,同比增长548.09%;研发投入占营业收入比例为0.31%,相比上年同期上升0.27个百分点。此外,公司全年研发投入资本化率为0。

在偿债能力方面,公司2023年年末资产负债率为29.74%,相比上年末下降8.07个百分点;有息资产负债率为17.60%,相比上年末下降9.94个百分点。

2023年,公司流动比率为1.62,速动比率为1.40。

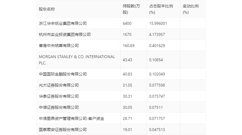
年报显示,2023年年末公司十大流通股东中,新进股东为浙江华丰纸业集团有限公司、MORGAN STANLEY & CO. INTERNATIONAL PLC.、中国国际金融股份有限公司、光大证券(维权)股份有限公司、华泰证券股份有限公司、中信证券股份有限公司、中信里昂资产管理有限公司-客户资金、国泰君安证券股份有限公司,取代了三季度末的杨吉文、熊珊珊、陈武、陈俊旺、李朱民、真挚优诺1号私募证券投资基金、金军勇、任连军。在具体持股比例上,香港中央结算有限公司持股有所上升,杭州市实业投资集团有限公司持股有所下降。

筹码集中度方面,截至2023年年末,公司股东总户数为2.56万户,较三季度末下降了2657户,降幅9.41%;户均持股市值由三季度末的36.68万元上升至39.18万元,增幅为6.82%。

指标注解:
市盈率
=总市值/净利润。当公司亏损时市盈率为负,此时用市盈率估值没有实际意义,往往用市净率或市销率做参考。
市净率
=总市值/净资产。市净率估值法多用于盈利波动较大而净资产相对稳定的公司。
市销率
=总市值/营业收入。市销率估值法通常用于亏损或微利的成长型公司。
文中市盈率和市销率采用TTM方式,即以截至最近一期财报(含预报)12个月的数据计算。市净率采用LF方式,即以最近一期财报数据计算。
市盈率为负时,不显示当期分位数,会导致折线图中断。