长光华芯:2024年上半年亏损4248.04万元

中证智能财讯 长光华芯(688048)8月31日披露2024年半年报。2024年上半年,公司实现营业总收入1.27亿元,同比下降10.39%;归母净利润亏损4248.04万元,上年同期亏损1063.74万元;扣非净利润亏损7272.89万元,上年同期亏损4177.01万元;经营活动产生的现金流量净额为831.84万元,同比下降81.76%;报告期内,长光华芯基本每股收益为-0.2412元,加权平均净资产收益率为-1.38%。
报告期内,公司合计非经常性损益为3024.85万元,其中除同公司正常经营业务相关的有效套期保值业务外,持有交易性金融资产、交易性金融负债产生的公允价值变动损益,以及处置交易性金融资产、交易性金融负债和可供出售金融资产取得的投资收益为1676.81万元。


以8月30日收盘价计算,长光华芯目前市盈率(TTM)约为-37.48倍,市净率(LF)约为1.53倍,市销率(TTM)约为16.84倍。

公司近年市盈率(TTM)、市净率(LF)、市销率(TTM)历史分位图如下所示:



根据半年报,公司第二季度实现营业总收入7487.32万元,同比增长44.62%,环比增长42.65%;归母净利润-2303.03万元,同比下降90.17%,环比下降18.41%;扣非净利润-4083.81万元,同比下降43.94%,环比下降28.06%。

半年报显示,公司聚焦半导体激光细分行业,主营业务为半导体激光芯片、器件及模块等激光行业核心元器件的研发、制造与销售。
分产品来看,2024年上半年公司主营业务中,高功率单管系列收入1.02亿元,同比下降20.54%,占营业收入的79.95%;高功率巴条系列收入0.16亿元,同比增长39.54%,占营业收入的12.83%;VCSEL芯片系列收入0.02亿元,同比增长59.23%,占营业收入的1.25%。

2024年上半年,公司毛利率为26.45%,同比下降3.11个百分点;净利率为-32.77%,较上年同期下降25.29个百分点。从单季度指标来看,2024年第二季度公司毛利率为26.80%,同比下降6.95个百分点,环比上升0.84个百分点;净利率为-30.27%,较上年同期下降6.88个百分点,较上一季度上升6.07个百分点。

分产品看,高功率单管系列、高功率巴条系列、VCSEL芯片系列2024年上半年毛利率分别为15.73%、63.86%、41.14%。

数据显示,2024年上半年公司加权平均净资产收益率为-1.38%,较上年同期下降1.05个百分点;公司2024年上半年投入资本回报率为-2.01%,较上年同期下降1.19个百分点。

2024年上半年,公司经营活动现金流净额为831.84万元,同比下降81.76%;筹资活动现金流净额3213.52万元,同比增加4851.89万元;投资活动现金流净额9076.34万元,上年同期为1953.95万元。
进一步统计发现,2024年上半年公司自由现金流为1.51亿元,相比上年同期增长76.22%。

2024年上半年,公司营业收入现金比为148.61%,净现比为-19.58%。

营运能力方面,2024年上半年,公司总资产周转率为0.04次,上年同期为0.04次(2023年上半年行业平均值为0.16次,公司位居同行业17/18);固定资产周转率为0.18次,上年同期为0.31次(2023年上半年行业平均值为1.29次,公司位居同行业17/18);公司应收账款周转率、存货周转率分别为0.91次、0.48次。

2024年上半年,公司期间费用为8337.12万元,较上年同期增加948.07万元;期间费用率为65.46%,较上年同期上升13.47个百分点。其中,销售费用同比增长1.42%,管理费用同比增长19.85%,研发费用同比增长13.56%,财务费用由去年同期的-373.36万元变为-522.75万元。
资料显示,管理费用的变动主要因为厂房回购后,折旧摊销增加;财务费用的变动主要因为利息收入及汇兑收益增加;研发费用的变动主要因为公司加大研发投入,研发耗用材料费增加。

资产重大变化方面,截至2024年上半年末,公司货币资金较上年末增加17.11%,占公司总资产比重上升4.25个百分点;交易性金融资产较上年末减少17.36%,占公司总资产比重下降3.45个百分点;固定资产较上年末增加3.15%,占公司总资产比重上升0.99个百分点;应收账款较上年末减少21.45%,占公司总资产比重下降0.93个百分点。

负债重大变化方面,截至2024年上半年末,公司短期借款较上年末增加36.59%,占公司总资产比重上升0.73个百分点,主要系本期新增银行借款;长期递延收益较上年末减少13.03%,占公司总资产比重下降0.18个百分点;应付账款较上年末增加3.49%,占公司总资产比重上升0.17个百分点;其他流动负债较上年末增加32.87%,占公司总资产比重上升0.12个百分点。

从存货变动来看,截至2024年上半年末,公司存货账面价值为1.94亿元,占净资产的6.41%,较上年末减少532.65万元。其中,存货跌价准备为6081.8万元,计提比例为23.82%。

在偿债能力方面,公司2024年上半年末资产负债率为9.71%,相比上年末上升0.74个百分点;有息资产负债率为2.78%,相比上年末上升0.68个百分点。

2024年上半年,公司流动比率为6.76,速动比率为6.06。

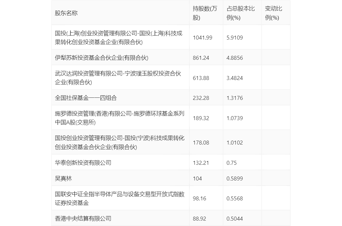
半年报显示,2024年上半年末公司十大流通股东中,新进股东为华泰创新投资有限公司、国联安中证全指半导体产品与设备交易型开放式指数证券投资基金,取代了一季度末的博时军工主题股票型证券投资基金、中航机遇领航混合型发起式证券投资基金。在具体持股比例上,施罗德投资管理(香港)有限公司-施罗德环球基金系列中国A股(交易所)、香港中央结算有限公司持股有所下降。

筹码集中度方面,截至2024年上半年末,公司股东总户数为1.29万户,较一季度末下降了1098户,降幅7.84%;户均持股市值由一季度末的52.49万元下降至42.66万元,降幅为18.73%。

指标注解:
市盈率
=总市值/净利润。当公司亏损时市盈率为负,此时用市盈率估值没有实际意义,往往用市净率或市销率做参考。
市净率
=总市值/净资产。市净率估值法多用于盈利波动较大而净资产相对稳定的公司。
市销率
=总市值/营业收入。市销率估值法通常用于亏损或微利的成长型公司。
文中市盈率和市销率采用TTM方式,即以截至最近一期财报(含预报)12个月的数据计算。市净率采用LF方式,即以最近一期财报数据计算。
市盈率为负时,不显示当期分位数,会导致折线图中断。