航天宏图:2024年第一季度亏损1.51亿元

中证智能财讯 航天宏图(688066)4月26日披露2024年一季报。2024年第一季度,公司实现营业总收入2.21亿元,同比下降19.49%;归母净利润亏损1.51亿元,上年同期亏损8904.23万元;扣非净利润亏损1.52亿元,上年同期亏损9685.70万元;经营活动产生的现金流量净额为-3.92亿元,上年同期为-6.64亿元;报告期内,航天宏图基本每股收益为-0.58元,加权平均净资产收益率为-6.81%。

2024年第一季度,公司毛利率为38.04%,同比下降11.99个百分点;净利率为-68.16%,较上年同期下降35.78个百分点。

数据显示,2024年第一季度公司加权平均净资产收益率为-6.81%,较上年同期下降3.46个百分点;公司2024年第一季度投入资本回报率为-2.69%,较上年同期下降1.21个百分点。

2024年第一季度,公司经营活动现金流净额为-3.92亿元,同比增加2.72亿元;筹资活动现金流净额-5777.04万元,同比增加2839.36万元;投资活动现金流净额-6433.80万元,上年同期为-8242.85万元。

2024年第一季度,公司营业收入现金比为107.30%。

资产重大变化方面,截至2024年一季度末,公司货币资金较上年末减少48.14%,占公司总资产比重下降7.71个百分点;存货较上年末增加19.03%,占公司总资产比重上升5.48个百分点;应收账款较上年末增加1.20%,占公司总资产比重上升1.21个百分点;预付款项较上年末增加54.83%,占公司总资产比重上升0.35个百分点。

负债重大变化方面,截至2024年一季度末,公司短期借款较上年末减少6.73%,占公司总资产比重下降0.89个百分点;应付票据较上年末增加92.57%,占公司总资产比重上升0.74个百分点;长期借款较上年末增加26.70%,占公司总资产比重上升0.62个百分点;长期应付款合计较上年末减少9.42%,占公司总资产比重下降0.23个百分点。

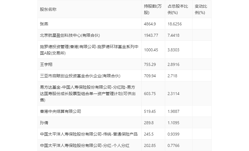
一季报显示,2024年一季度末公司十大流通股东中,新进股东为孙倩、中国太平洋人寿保险股份有限公司-传统-普通保险产品、中国太平洋人寿保险股份有限公司-分红-个人分红,取代了上年末的上海混沌投资(集团)有限公司、易方达基金管理有限公司-社保基金17042组合、易方达科翔混合型证券投资基金。在具体持股比例上,施罗德投资管理(香港)有限公司-施罗德环球基金系列中国A股(交易所)、香港中央结算有限公司持股有所上升,张燕持股有所下降。

筹码集中度方面,截至2024年一季度末,公司股东总户数为1.79万户,较上年末增长了8344户,增幅87.65%;户均持股市值由上年末的115.89万元下降至40.82万元,降幅为64.78%。
