纵横股份战投空天智能产业基金 持股12%
《科创板日报》1月13日讯(记者 黄修眉) 近期,有着“工业无人机第一股”之称的纵横股份动作频频。
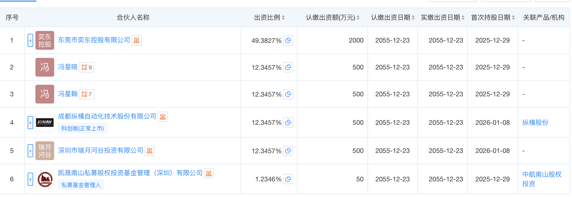
工商信息显示,2026年1月8日,纵横股份落子产业基金,投资了共青城凯晟空天智能创业投资合伙企业,该产业基金成立于2025年12月29日,注册资本4050万元,主要聚焦低空经济、人工智能、商业航天及卫星互联网应用等前沿方向。纵横股份具体出资占比12.3457%。
该基金共有6名出资主体,包括中航南山股权投资基金管理(深圳)有限公司,该公司系航工业集团下属中航国际投资、中航信托与民营百强企业及管理团队发起设立的产业化基金投资管理机构。

《科创板日报》记者注意到,2026年1月6日,纵横股份全资持股的湖北纵横无人机科技有限公司成立,注册资本1000万元,经营范围包含:人工智能通用应用系统;人工智能应用软件开发;智能无人飞行器制造等。该公司由纵横股份全资控股。
纵横股份曾于2025年12月与山西省黎城县人民政府正式签约,共建华北领先的低空经济产业集群。而后,同年12月31日,其全资子公司纵横无人机(山西)有限公司正式成立。
更早前,2025年12月30日晚,纵横股份公告发布A股定增预案,拟募资5.48亿元用于无人值守与大型无人机系统产业化基地项目、无人机系统研制与AI技术能力提升等三大项目。

上述预案提到,该项目依托纵横股份“1 个纵横云平台+云边端3个指控应用+N个行业应用方案(如:智慧耕保、智慧环保、智慧消防等)”的体系化布局,通过建设无人值守与大型无人机系统产业化基地项目,重点扩充其纵横昆仑系列无人值守系统与纵横云龙系列中空长航时大型固定翼无人机的产能规模。
纵横股份在预案中表示,随着大模型的开源化趋势降低了技术应用门槛,企业可通过模块化部署快速定制无人机专用AI工具,无人机将突破单一工具属性,向“感知-决策-执行” 一体化的智能体演进,推动低空经济向万亿级生态加速扩张。除此之外,固态电池、氢燃料电池、5G-A通信、北斗导航、AI集群控制、边缘计算等技术也将促进无人机及低空经济的发展。
从其业绩表现来看,2021年至2025年前三季度各期期末,纵横股份归母净利润分别为-2293万元、-2606万元、-6450万元、-3579万元、-1981万元,亏损程度有所改善。
资本市场方面,纵横股份2025年度股价上涨56.94%,2026年初至1月13日上涨9.39%,最新报收60.60元/股,总市值53.1亿元。